服务热线
180-5003-0233

本实用新型涉及午夜免费福利技术领域,尤其涉及一种方便调节切割位置的医用气刀午夜免费福利。
背景技术:
分切工艺,对分切原膜应考虑其刚性强度、延伸性、平滑性、厚度等,以便针对性设定分切工艺参数,不同复合结构进行分切时,工艺参数设定不一样,例如,BOPET的常用产品厚度较薄且具有强度高、不易被拉伸等特点,较BOPP、CPP、CPE等易拉伸的薄膜的分切方法就有所不同,午夜免费福利就是分切工艺的实际应用。
在医疗行业中,常常需要用到绷带,绷带生产时需要利用午夜免费福利对绷带进行分切,便于得到合适宽度的绷带,现有的午夜免费福利结构简单,分切刀的位置需要人工手动调节,分切效率低,另外,分切时的空气压力无法进行控制,导致分切质量低,显然已经无法满足人们的使用需求。
技术实现要素:
本实用新型的目的是为了解决现有技术中存在的缺点,而提出的一种方便调节切割位置的医用气刀午夜免费福利。
为了实现上述目的,本实用新型采用了如下技术方案:
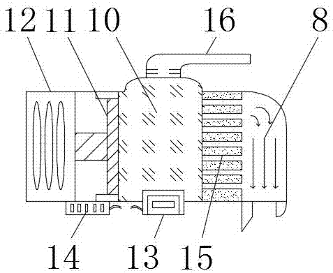
一种方便调节切割位置的医用气刀午夜免费福利,包括底座,所述底座底部外壁的四角处均设置有万向轮,且底座顶部外壁的一侧设置有第一设备箱,所述底座顶部外壁的另一侧设置有第二设备箱,且第一设备箱和第二设备箱相对一侧外壁通过轴承连接有收料筒,所述第一设备箱和第二设备箱靠近收料筒一侧的相对一侧外壁通过轴承连接有放料筒,且第一设备箱和第二设备箱位于收料筒上方的相对一侧外壁通过轴承连接有传输筒,所述第一设备箱的顶部内壁设置有压力箱,且压力箱的一侧外壁开设有安装孔,所述安装孔的内壁插接有喷气管,且喷气管的外壁设置有电动滑轨,所述电动滑轨的内壁滑动连接有气刀,且气刀位于传输筒的上方。
优选的,所述底座的四周外壁均焊接有水平设置的连接板,且连接板的底部外壁通过螺钉固定有液压缸,液压缸活塞杆的一端通过螺钉固定有固定板。
优选的,所述第二设备箱的内壁通过螺钉固定有电动机,且电动机的输出轴通过联轴器与收料筒的一端相连接。
优选的,所述第一设备箱内壁通过螺钉固定有空气压缩机,且空气压缩机的输出端套接有进气管,进气管与压力箱相连通,第一设备箱的一边外壁开设有安装槽,安装槽的内壁通过螺钉固定有显示屏。
优选的,所述喷气管的外壁开设有气孔,且气孔的内壁插接有气管,气管远离喷气管的一端与气刀相套接。
优选的,所述压力箱的内壁通过螺钉固定有压力传感器,且压力传感器的信号输出端通过信号线连接有控制器,控制器通过螺钉固定第一设备箱的外壁上。
优选的,所述液压缸、空气压缩机、电动滑轨、电动机和显示屏均通过导线连接有开关,且开关与控制器相连接。
本实用新型的有益效果为:
1.通过设置有电动滑轨和空气压缩机,电动滑轨可以控制气刀进行滑动,方便调节气刀之间的距离,达到调节切割位置的目的,空气压缩机可以将压缩后的空气送入到压力箱内,压力箱内的空气通过喷气管由气刀喷出对绷带进行分切,起到良好的分切效果,显著提高了午夜免费福利的分切效率,增加了企业的生产效益,满足人们的使用需求。
2.通过设置有压力传感器,压力传感器可以检测压力箱内的气压,并将气压数值通过显示屏进行显示,方便工人控制空气压缩机将空气调节至合适的压力值进行切割,提高了午夜免费福利的切割质量,便于生产出合格的绷带。
附图说明
图1为本实用新型提出的一种方便调节切割位置的医用气刀午夜免费福利的结构剖视图;
图2为本实用新型提出的一种方便调节切割位置的医用气刀午夜免费福利的结构主视图;
图3为本实用新型提出的一种方便调节切割位置的医用气刀午夜免费福利的结构后视图。
图中:1底座、2万向轮、3固定板、4液压缸、5连接板、6第一设备箱、7压力箱、8空气压缩机、9进气管、10压力传感器、11喷气管、12电动滑轨、13传输筒、14气管、15气刀、16第二设备箱、17电动机、18收料筒、19显示屏、20控制器、21放料筒。
具体实施方式
下面将结合本实用新型实施例中的附图,对本实用新型实施例中的技术方案进行清楚、完整地描述,显然,所描述的实施例仅仅是本实用新型一部分实施例,而不是全部的实施例。
参照图1-3,一种方便调节切割位置的医用气刀午夜免费福利,包括底座1,底座1底部外壁的四角处均通过螺钉固定有万向轮2,且底座1顶部外壁的一侧通过螺钉固定有第一设备箱6,底座1顶部外壁的另一侧通过螺钉固定有第二设备箱16,且第一设备箱6和第二设备箱16相对一侧外壁通过轴承连接有收料筒18,第一设备箱6和第二设备箱16靠近收料筒18一侧的相对一侧外壁通过轴承连接有放料筒21,且第一设备箱6和第二设备箱16位于收料筒18上方的相对一侧外壁通过轴承连接有传输筒13,第一设备箱6的顶部内壁通过螺钉固定有压力箱7,且压力箱7的一侧外壁开设有安装孔,安装孔的内壁插接有喷气管11,且喷气管11的外壁通过螺钉固定有电动滑轨12,电动滑轨12的内壁滑动连接有气刀15,且气刀15位于传输筒13的上方。
本实用新型中,底座1的四周外壁均焊接有水平设置的连接板5,且连接板5的底部外壁通过螺钉固定有液压缸4,液压缸4活塞杆的一端通过螺钉固定有固定板3,第二设备箱16的内壁通过螺钉固定有电动机17,且电动机17的输出轴通过联轴器与收料筒18的一端相连接,第一设备箱6内壁通过螺钉固定有空气压缩机8,且空气压缩机8的输出端套接有进气管9,进气管9与压力箱7相连通,第一设备箱6的一边外壁开设有安装槽,安装槽的内壁通过螺钉固定有显示屏19,喷气管11的外壁开设有气孔,且气孔的内壁插接有气管14,气管14远离喷气管11的一端与气刀15相套接,压力箱7的内壁通过螺钉固定有压力传感器10,且压力传感器10的信号输出端通过信号线连接有控制器20,控制器20通过螺钉固定第一设备箱6的外壁上,液压缸4、空气压缩机8、电动滑轨12、电动机17和显示屏19均通过导线连接有开关,且开关与控制器20相连接,控制器20的型号为DATA-7311。
工作原理:使用时,电动机17带动收料筒18转动进行收料,在绷带的传动下,放料筒21进行放料,控制气刀15在电动滑轨12内移动调节切割位置,空气压缩机8可以将压缩后的空气送入到压力箱内7,压力箱7内的空气通过喷气管11由气刀15喷出对绷带进行分切,压力传感器10可以检测压力箱7内的气压,并将气压数值通过显示屏19进行显示,方便工人控制空气压缩机8将空气调节至合适的压力值进行切割,分切效果好,
以上所述,仅为本实用新型较佳的具体实施方式,但本实用新型的保护范围并不局限于此,任何熟悉本技术领域的技术人员在本实用新型揭露的技术范围内,根据本实用新型的技术方案及其实用新型构思加以等同替换或改变,都应涵盖在本实用新型的保护范围之内。
技术特征:
1.一种方便调节切割位置的医用气刀午夜免费福利,包括底座(1),其特征在于,所述底座(1)底部外壁的四角处均设置有万向轮(2),且底座(1)顶部外壁的一侧设置有第一设备箱(6),所述底座(1)顶部外壁的另一侧设置有第二设备箱(16),且第一设备箱(6)和第二设备箱(16)相对一侧外壁通过轴承连接有收料筒(18),所述第一设备箱(6)和第二设备箱(16)靠近收料筒(18)一侧的相对一侧外壁通过轴承连接有放料筒(21),且第一设备箱(6)和第二设备箱(16)位于收料筒(18)上方的相对一侧外壁通过轴承连接有传输筒(13),所述第一设备箱(6)的顶部内壁设置有压力箱(7),且压力箱(7)的一侧外壁开设有安装孔,所述安装孔的内壁插接有喷气管(11),且喷气管(11)的外壁设置有电动滑轨(12),所述电动滑轨(12)的内壁滑动连接有气刀(15),且气刀(15)位于传输筒(13)的上方。
2.根据权利要求1所述的一种方便调节切割位置的医用气刀午夜免费福利,其特征在于,所述底座(1)的四周外壁均焊接有水平设置的连接板(5),且连接板(5)的底部外壁通过螺钉固定有液压缸(4),液压缸(4)活塞杆的一端通过螺钉固定有固定板(3)。
3.根据权利要求1所述的一种方便调节切割位置的医用气刀午夜免费福利,其特征在于,所述第二设备箱(16)的内壁通过螺钉固定有电动机(17),且电动机(17)的输出轴通过联轴器与收料筒(18)的一端相连接。
4.根据权利要求1所述的一种方便调节切割位置的医用气刀午夜免费福利,其特征在于,所述第一设备箱(6)内壁通过螺钉固定有空气压缩机(8),且空气压缩机(8)的输出端套接有进气管(9),进气管(9)与压力箱(7)相连通,第一设备箱(6)的一边外壁开设有安装槽,安装槽的内壁通过螺钉固定有显示屏(19)。
5.根据权利要求1所述的一种方便调节切割位置的医用气刀午夜免费福利,其特征在于,所述喷气管(11)的外壁开设有气孔,且气孔的内壁插接有气管(14),气管(14)远离喷气管(11)的一端与气刀(15)相套接。
6.根据权利要求1所述的一种方便调节切割位置的医用气刀午夜免费福利,其特征在于,所述压力箱(7)的内壁通过螺钉固定有压力传感器(10),且压力传感器(10)的信号输出端通过信号线连接有控制器(20),控制器(20)通过螺钉固定第一设备箱(6)的外壁上。
7.根据权利要求2所述的一种方便调节切割位置的医用气刀午夜免费福利,其特征在于,所述液压缸(4)、空气压缩机(8)、电动滑轨(12)、电动机(17)和显示屏(19)均通过导线连接有开关,且开关与控制器(20)相连接。
技术总结
本实用新型公开了一种方便调节切割位置的医用气刀午夜免费福利,包括底座,所述底座底部外壁的四角处均设置有万向轮,且底座顶部外壁的一侧设置有第一设备箱,所述底座顶部外壁的另一侧设置有第二设备箱,且第一设备箱和第二设备箱相对一侧外壁通过轴承连接有收料筒,所述第一设备箱和第二设备箱靠近收料筒一侧的相对一侧外壁通过轴承连接有放料筒,且第一设备箱和第二设备箱位于收料筒上方的相对一侧外壁通过轴承连接有传输筒,所述第一设备箱的顶部内壁设置有压力箱。本实用新型起到良好的分切效果,显著提高了午夜免费福利的分切效率,增加了企业的生产效益,提高了午夜免费福利的切割质量,便于生产出合格的绷带。
技术研发人员:覃流战
受保护的技术使用者:岳阳今华医疗器械有限公司
技术研发日:2018.08.07
技术公布日:2019.03.29