午夜羞羞小视频,午夜免费福利,午夜精品免费视频,午夜免费看污污APP

行业新闻

当前位置:首页/新闻中心/行业新闻

一种生料带午夜免费福利用对边机构的制作方法

2024年01月30日国知局浏览量:0

一种生料带午夜免费福利用对边机构的制作方法

本实用新型涉及生料带加工技术领域,尤其涉及一种生料带午夜免费福利用对边机构。

背景技术:

在对生料带的加工过程中,需要使用到午夜免费福利对生料带进行分切处理。而目前的午夜免费福利在对生料带的分切过程中,由于机械振动或者生料带本身厚度不均匀等多方面原因,导致生料带在输送过程中跑偏,从而会严重影响到生料带的分切质量。因此,针对上述问题,需要对其进行改进,需要一种生料带午夜免费福利用对边机构。

技术实现要素:

本实用新型的目的是为了解决现有技术中存在的缺点,而提出的一种生料带午夜免费福利用对边机构。

为了实现上述目的,本实用新型采用了如下技术方案:

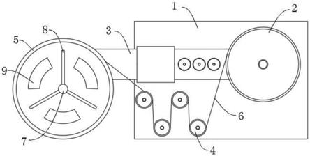
设计一种生料带午夜免费福利用对边机构,包括两个支撑架,两个所述支撑架之间顶部固定安装有午夜免费福利本体,两个所述支撑架相对一侧下部均固定安装有轴承,轴承内均转动设置有转轴,两个所述转轴为相对设置,两个所述转轴之间固定安装有传动辊,传动辊外侧固定设置有连接层,连接层上表面两侧均固定安装有对边机构,且两个所述对边机构均分别固定安装在两个所述支撑架相对一侧,所述对边机构包括固定安装在支撑架一侧的横板以及固定安装在连接层外表面一侧的环形滑道,所述横板一侧贯穿设置有移动杆,移动杆上端延伸至横板正上方并固定安装有限位板,所述移动杆下端延伸至横板正下方并固定安装有连接板,连接板下表面中部固定安装有压块,压块下表面中部开设有安装槽,安装槽内均匀转动设置有多个滚珠,所述环形滑道上表面中部开设有弧形滑槽,多个所述滚珠均滚动设置在弧形滑槽内,所述移动杆外侧下部套设有弹簧,且弹簧一端固定连接在横板下表面,所述弹簧另一端固定连接在连接板上表面。

优选的,所述限位板上表面中部固定安装有手柄。

优选的,所述支撑架下端均固定安装有防滑板。

优选的,所述轴承外侧均固定设置有防尘套。

优选的,所述安装槽为弧形结构设计。

本实用新型提出的一种生料带午夜免费福利用对边机构,有益效果在于:该生料带午夜免费福利用对边机构设计有对边机构,通过限位板、移动杆、弹簧、压块、滚珠、弧形滑槽、环形滑道、安装槽、连接板以及横板多种结构之间的相互配合,在将生料带进行输送分切的过程中,通过该种设计,从而能够使得生料带沿着传动辊转动的轴线方向发生定向的移动,能够在生料带的输送过程中对其进行对边整齐,不会出现生料带在输送过程中发生跑偏的情况,从而有利于该装置对生料带的分切,提高了分切的纠偏精度,提高了对生料带的分切质量。

附图说明

图1为本实用新型提出的一种生料带午夜免费福利用对边机构的结构示意图。

图2为本实用新型提出的一种生料带午夜免费福利用对边机构的对边机构的结构示意图。

图3为本实用新型提出的一种生料带午夜免费福利用对边机构的对边机构和传动辊之间的连接结构示意图。

图中:支撑架1、防尘套2、轴承3、防滑板4、连接层5、传动辊6、转轴7、午夜免费福利本体8、对边机构9、手柄10、限位板11、移动杆12、弹簧13、压块14、滚珠15、弧形滑槽16、环形滑道17、安装槽18、连接板19、横板20。

具体实施方式

下面将结合本实用新型实施例中的附图,对本实用新型实施例中的技术方案进行清楚、完整地描述,显然,所描述的实施例仅仅是本实用新型一部分实施例,而不是全部的实施例。

参照图1-3,一种生料带午夜免费福利用对边机构,包括两个支撑架1,支撑架1下端均固定安装有防滑板4,防滑板4具体为不锈钢金属防滑板,通过防滑板4,能够起到对该装置防滑的作用,从而能够提高该装置整体结构的稳定性和牢固性。

两个支撑架1之间顶部固定安装有午夜免费福利本体8,两个支撑架1相对一侧下部均固定安装有轴承3,轴承3外侧均固定设置有防尘套2,通过防尘套2,能够有效起到对轴承3防尘的作用,从而能够增强其使用效果,延长其使用寿命,极具实用性能。

轴承3内均转动设置有转轴7,两个转轴7为相对设置,两个转轴7之间固定安装有传动辊6,传动辊6外侧固定设置有连接层5,连接层5上表面两侧均固定安装有对边机构9,且两个对边机构9均分别固定安装在两个支撑架1相对一侧,对边机构9包括固定安装在支撑架1一侧的横板20以及固定安装在连接层5外表面一侧的环形滑道17,横板20一侧贯穿设置有移动杆12,移动杆12上端延伸至横板20正上方并固定安装有限位板11,限位板11上表面中部固定安装有手柄10,可通过手柄10进行操作,从而简化了操作,便捷了使用,提高了该装置的实用性能。

移动杆12下端延伸至横板20正下方并固定安装有连接板19,连接板19下表面中部固定安装有压块14,压块14下表面中部开设有安装槽18,安装槽18为弧形结构设计,安装槽18的弧度与传动辊6的弧度相同,从而能够正好与传动辊6对应配合使用。

安装槽18内均匀转动设置有多个滚珠15,环形滑道17上表面中部开设有弧形滑槽16,多个滚珠15均滚动设置在弧形滑槽16内,移动杆12外侧下部套设有弹簧13,且弹簧13一端固定连接在横板20下表面,弹簧13另一端固定连接在连接板19上表面,在将生料带进行输送分切的过程中,可将生料带的两边分别放在环形滑道17上表面的弧形滑槽16上,再在弹簧13的作用下,多个滚珠15就会将生料带的两边分别压在弧形滑槽16内表面,而传动辊6一侧设有驱动装置,驱动装置在驱动传动辊6发生转动时,滚珠15就会始终在弧形滑槽16内滚动,同时并始终将生料带的两边压在弧形滑槽16内,从而能够使得生料带沿着传动辊6转动的轴线方向发生定向的移动,能够在生料带的输送过程中对其进行对边整齐,不会出现生料带在输送过程中发生跑偏的情况,从而有利于该装置对生料带的分切,提高了分切的纠偏精度,提高了对生料带的分切质量。

以上所述,仅为本实用新型较佳的具体实施方式,但本实用新型的保护范围并不局限于此,任何熟悉本技术领域的技术人员在本实用新型揭露的技术范围内,根据本实用新型的技术方案及其实用新型构思加以等同替换或改变,都应涵盖在本实用新型的保护范围之内。

技术特征:

1.一种生料带午夜免费福利用对边机构,包括两个支撑架(1),其特征在于,两个所述支撑架(1)之间顶部固定安装有午夜免费福利本体(8),两个所述支撑架(1)相对一侧下部均固定安装有轴承(3),轴承(3)内均转动设置有转轴(7),两个所述转轴(7)为相对设置,两个所述转轴(7)之间固定安装有传动辊(6),传动辊(6)外侧固定设置有连接层(5),连接层(5)上表面两侧均固定安装有对边机构(9),且两个所述对边机构(9)均分别固定安装在两个所述支撑架(1)相对一侧,所述对边机构(9)包括固定安装在支撑架(1)一侧的横板(20)以及固定安装在连接层(5)外表面一侧的环形滑道(17),所述横板(20)一侧贯穿设置有移动杆(12),移动杆(12)上端延伸至横板(20)正上方并固定安装有限位板(11),所述移动杆(12)下端延伸至横板(20)正下方并固定安装有连接板(19),连接板(19)下表面中部固定安装有压块(14),压块(14)下表面中部开设有安装槽(18),安装槽(18)内均匀转动设置有多个滚珠(15),所述环形滑道(17)上表面中部开设有弧形滑槽(16),多个所述滚珠(15)均滚动设置在弧形滑槽(16)内,所述移动杆(12)外侧下部套设有弹簧(13),且弹簧(13)一端固定连接在横板(20)下表面,所述弹簧(13)另一端固定连接在连接板(19)上表面。

2.根据权利要求1所述的一种生料带午夜免费福利用对边机构,其特征在于,所述限位板(11)上表面中部固定安装有手柄(10)。

3.根据权利要求1所述的一种生料带午夜免费福利用对边机构,其特征在于,所述支撑架(1)下端均固定安装有防滑板(4)。

4.根据权利要求1所述的一种生料带午夜免费福利用对边机构,其特征在于,所述轴承(3)外侧均固定设置有防尘套(2)。

5.根据权利要求1所述的一种生料带午夜免费福利用对边机构,其特征在于,所述安装槽(18)为弧形结构设计。

技术总结

本实用新型涉及生料带加工技术领域,尤其是一种生料带午夜免费福利用对边机构,包括两个支撑架,两个支撑架之间顶部固定安装有午夜免费福利本体,两个转轴之间固定安装有传动辊,传动辊外侧固定设置有连接层,连接层上表面两侧均固定安装有对边机构,对边机构包括固定安装在支撑架一侧的横板以及固定安装在连接层外表面一侧的环形滑道,移动杆上端延伸至横板正上方并固定安装有限位板,压块下表面中部开设有安装槽,安装槽内均匀转动设置有多个滚珠,环形滑道上表面中部开设有弧形滑槽,移动杆外侧下部套设有弹簧。该生料带午夜免费福利用对边机构能够对生料带对边,能够有效防止其在输送过程中跑偏,而且调节简单,实用性强。

技术研发人员:张琪

受保护的技术使用者:杭州德瑞塑胶有限公司

技术研发日:2019.07.29

技术公布日:2020.05.05

网站地图