服务热线
180-5003-0233

本技术涉及机械设备制造领域,具体涉及一种用于午夜免费福利上的收卷装置。
背景技术:
1、目前,很多卷状类的产品如透明胶带、生料带、运动胶带、打印机用的碳带、保险膜等产品,这些产品的原午夜精品免费视频从厂家发出时皆为1米、2米体积的大卷,收到此大卷后需要通过午夜免费福利进行分割及重新收卷成若干个小卷,以便于后续的销售;
2、现有的分切收卷机上为了提高收卷的效率,通常设置至少2个收卷轴,而此收卷轴位于不同的位置,其中有部分收卷轴位于机架内部,收卷完毕后位于机架内部的收卷轴难以取出,且难以更换新的套筒置于收卷轴上;现有的方式一种是强行转动或翻转该机架转动,这种方式耗时费力,且容易损伤收卷驱动机构,尤其是强行翻转机架时与收卷驱动机构产生干涉,导致后续再次工作时,因保护机制而无法正常工作(即由于干涉的原因,保护机制被触发感应到驱动电流过大,便会停机);另一种则使整个分切收卷机的体积变大,增设多个换取收卷轴的工位,即对应的收卷轴位置开设取轴的位置,通过人工移转到对应位置换取已完成的小卷,此方式费时费力,更重要的是对空间占用极大,且安全性差;
3、综上,现有的收卷装置有待进一步改善与提升。
技术实现思路
1、本实用新型的目的在于克服背景技术中存在的上述缺陷或问题,提供一种用于午夜免费福利上的收卷装置,其结构简单、制作简便、易实现且成本低,解决现有分切收卷机在收卷完毕后,难以翻转出已完成的收卷轴至外部,安装更换收卷轴不便的问题。
2、为达成上述目的,本实用新型采用如下技术方案:
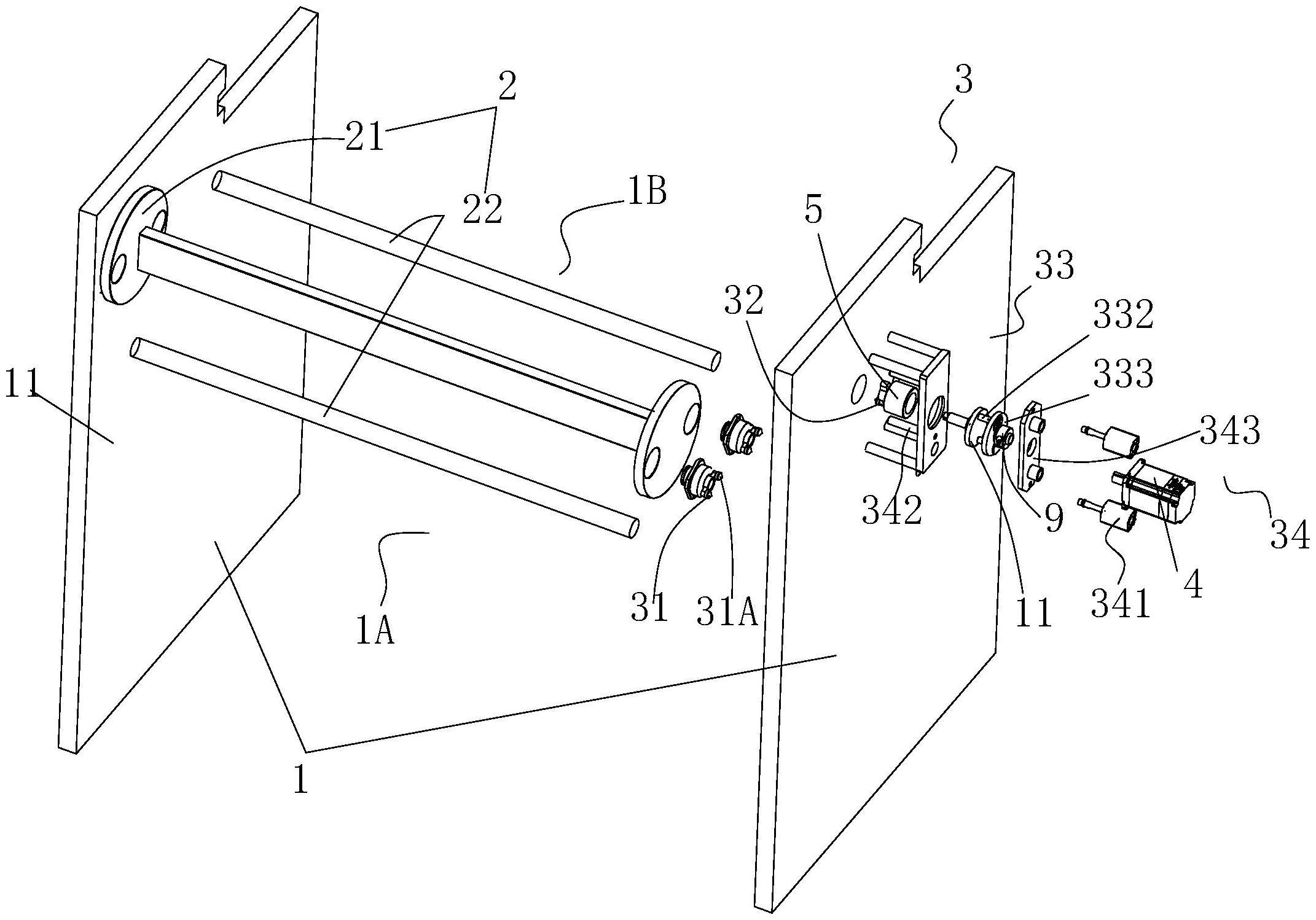
3、一种用于午夜免费福利上的收卷装置,该收卷装置包括基座、收卷架、桥接机构及电机;
4、基座,其供收卷架可转动地装设,且形成上料区域及收卷区域;
5、收卷架,其包括架体及至少两收卷轴,各所述收卷轴可转动地装设于架体,且相对于架体的轴线偏心布置;各所述收卷轴与架体可拆卸连接;
6、桥接机构,其包括被动件、施力件、装接座及驱动组件;所述被动件相对收卷轴轴线偏心设置,且面对所述装接座;该施力件装设于装接座,且相对装接座的轴线偏心设置;该驱动组件套设于装接座,且用于带动装接座沿电机输出轴的轴线方向位移,以使所述被动件与施力件相配合或远离;
7、电机,其与所述装接座止转连接。
8、进一步地,所述驱动组件包括一气缸、第一导向柱及活动板;该活动板套设于装接座外周形成的配合部,并用于带动装接座位移;所述第一导向柱平行于电机输出轴的轴线设置;该气缸固定于基座,且其上活塞杆与活动板相连,带动活动板沿第一导向柱轴向位移,以联动装接座直线位移。
9、进一步地,还包括一轴承座,其套设于装接座的外周,且与活动板连接;该轴承座与所述装接座外周形成的挡沿配合形成所述配合部;其中,所述活动板位于所述配合部,以使所述活动板通过气缸驱动位移时,带动装接座随之位移。
10、进一步地,所述装接座包括座体、第二导向柱及连接盘,所述座体与驱动组件相连,且一端部供所述施力件装设;所述连接盘与所述电机止转地装接;所述第二导向柱相对于电机输出轴的轴线偏心设置,其一端固定于座体,另一端穿入连接盘,且于所述座体受驱动组件作用时,固定在其上的第二导向柱贯穿所述连接盘。
11、进一步地,所述座体分体设置,分设成第一装接部及第二装接部;所述第一装接部上固接所述施力件;所述第一、第二装接部螺纹连接于一体,且于第二装接部外周壁与所述轴承座之间装设有轴承,以使所述第一、第二装接部相对所述活动板并转动。
12、进一步地,还包括一支撑环,其套设于电机的输出轴上,且位于基座与连接盘之间;该支撑环的外径小于连接盘的外径,且电机输出轴于该支撑环内转动,并驱使所述连接盘旋转。
13、进一步地,所述被动件和/或施力件相对设置的端部呈锥状设置。
14、进一步地,所述收卷架上设置有四根收卷轴,且等间距的分布于架体上。
15、由上述对本实用新型的描述可知,相对于现有技术,本实用新型具有的如下有益效果:
16、(1)本实用新型提供一种用于午夜免费福利上的收卷装置,其结构简单、制作简便、易实现且成本低,解决现有分切收卷机在收卷完毕后,难以翻转出已完成的收卷轴至外部,安装、更换小卷不便的问题;本新型在收卷架上设置多条收卷轴,且各收卷轴上可装设多个小卷,以提升收卷效率;此外本新型采用被动件、施力件、装接座及驱动组件组成桥接机构,通过施力件侧部推动被动件做周向转动,不仅解决电机输出轴难以与收卷轴对位传动的问题,且此推动方式更为可靠,制作成型更易实现;此外通过驱动组件带动装接座及施力件沿电机输出轴的轴向位移,在小卷收卷完毕后,将施力件退出被动件周向运动的轨迹,使得已经收卷完成的收卷轴能够轻松转动至基座的上料区域,将已装设好待收卷的卷筒转至收卷区域进行收卷,在实现已完成收卷与待收卷的各收卷轴的切换,且不耽误更换收卷轴的时间,大幅度提升生产效率,且对空间占用小,在非常便捷的区域进行更换收卷轴;
17、(2)本新型所述采用气缸作为活动板的驱动,结合导向柱的导向作用,实现驱动气缸不位移的情形下,依然能够使电机的驱动力传递至收卷轴,此结构设计巧妙,且部件少,稳定性佳;
18、(3)本新型通过轴承座与挡沿配合形成所述配合部,所述活动板通过配合部实现朝电机方向拉动或朝向收卷轴方向位移,此外,通过轴承座轻松实现配合部的成型,降低配合部的制作难度;
19、(4)本新型所述的装接座包括座体、第二导向柱及连接盘,通过此方式轻松实现装接座整体的直线位移,且不影响装接座的旋转运动,结构简单,易实现;
20、(5)本新型所述的座体分设成第一装接部、第二装接部,采用分体结构不仅简化了生产制作工艺,还能为后续结构安装简化安装难度;
21、(6)本新型还设置支撑环,不仅能够让电机输出轴能够旋转,还能减小与连接盘的摩擦,且不会使连接盘脱离出第二导向柱,并且形成一定的空间供第二导柱运动;整个结构稳定,且实用性强;
22、(7)本新型所述的被动件与施力件的端部为锥状,在所述施力件向被动件方向位移时不会因二者端面相抵而无法配合,通过锥状的端部在施力件与被动件相抵时,因锥面配合使得施力件与被动件的轴线平行,并使二者的处于同一运动轨迹,进而能够使得施力件的侧部推顶被动件的侧部,并带动被动件周向运动。
技术特征:
1.一种用于午夜免费福利上的收卷装置,其特征在于:该收卷装置包括基座、收卷架、桥接机构及电机;
2.如权利要求1所述的一种用于午夜免费福利上的收卷装置,其特征在于:所述驱动组件包括一气缸、第一导向柱及活动板;该活动板套设于装接座外周形成的配合部,并用于带动装接座位移;所述第一导向柱平行于电机输出轴的轴线设置;该气缸固定于基座,且其上活塞杆与活动板相连,带动活动板沿第一导向柱轴向位移,以联动装接座直线位移。
3.如权利要求2所述的一种用于午夜免费福利上的收卷装置,其特征在于:还包括一轴承座,其套设于装接座的外周,且与活动板连接;该轴承座与所述装接座外周形成的挡沿配合形成所述配合部;其中,所述活动板位于所述配合部,以使所述活动板通过气缸驱动位移时,带动装接座随之位移。
4.如权利要求3所述的一种用于午夜免费福利上的收卷装置,其特征在于:所述装接座包括座体、第二导向柱及连接盘,所述座体与驱动组件相连,且一端部供所述施力件装设;所述连接盘与所述电机止转地装接;所述第二导向柱相对于电机输出轴的轴线偏心设置,其一端固定于座体,另一端穿入连接盘,且于所述座体受驱动组件作用时,固定在其上的第二导向柱贯穿所述连接盘。
5.如权利要求4所述的一种用于午夜免费福利上的收卷装置,其特征在于:所述座体分体设置,分设成第一装接部及第二装接部;所述第一装接部上固接所述施力件;所述第一、第二装接部螺纹连接于一体,且于第二装接部外周壁与所述轴承座之间装设有轴承,以使所述第一、第二装接部相对所述活动板并转动。
6.如权利要求4所述的一种用于午夜免费福利上的收卷装置,其特征在于:还包括一支撑环,其套设于电机的输出轴上,且位于基座与连接盘之间;该支撑环的外径小于连接盘的外径,且电机输出轴于该支撑环内转动,并驱使所述连接盘旋转。
7.如权利要求1、2或3所述的一种用于午夜免费福利上的收卷装置,其特征在于:所述被动件和/或施力件相对设置的端部呈锥状设置。
8.如权利要求1、2或3所述的一种用于午夜免费福利上的收卷装置,其特征在于:所述收卷架上设置有四根收卷轴,且等间距的分布于架体上。
技术总结
本技术公开一种用于午夜免费福利上的收卷装置,该收卷装置包括基座供收卷架可转动地装设,且形成上料区域及收卷区域;收卷架包括架体及至少两收卷轴,各所述收卷轴可转动地装设于架体,且相对于架体的轴线偏心布置;各所述收卷轴与架体可拆卸连接;桥接机构包括被动件、施力件、装接座及驱动组件;所述被动件相对收卷轴轴线偏心设置,且面对所述装接座;该施力件装设于装接座,且相对装接座的轴线偏心设置;该驱动组件套设于装接座,且用于带动装接座沿电机输出轴的轴线方向位移,以使所述被动件与施力件相配合或远离;本新型提供的收卷装置,解决现有分切收卷机在收卷完毕后,难以翻转出已完成的收卷轴至外部,安装更换收卷轴不便的问题。
技术研发人员:吕孟强,黄锦华
受保护的技术使用者:厦门午夜羞羞小视频自动化设备有限公司
技术研发日:20221209
技术公布日:2024/1/15