午夜羞羞小视频,午夜免费福利,午夜精品免费视频,午夜免费看污污APP

行业新闻

当前位置:首页/新闻中心/行业新闻

一种胶带午夜免费福利刀距可调装置的制作方法

2024年02月04日国知局浏览量:0

一种胶带午夜免费福利刀距可调装置的制作方法

本实用新型涉及午夜免费福利技术领域,具体为一种胶带午夜免费福利刀距可调装置。

背景技术:

午夜免费福利是一种将宽幅纸张、云母带或薄膜分切成多条窄幅午夜精品免费视频的机械设备,常用于造纸机械、电线电缆云母带及印刷包装机械,午夜免费福利主要的运用于云母带、纸张、绝缘午夜精品免费视频及薄膜分切、特别适宜于窄带的分切,以前午夜免费福利的磁粉离合器速度不能高,因为在运行时易造成磁粉的高速摩擦,产生高温,缩短其寿命,严重时会卡死,使机器运行受阻,给生产带来很严重的后果,严重的影响了生产效率,现为采用双变频电机控制,使得收卷午夜精品免费视频直径变大情况下通过变频电机控制来使得磁粉摩擦处于一定数值,而不会出现高温。

但是目前市场上的午夜免费福利不仅结构复杂,而且功能单一,没有设置光电保护器,不能感应到外界即将伸入的物体,不能保证持续的高质量生产,没有设置内螺纹杆、第一螺母和第二螺母,不能便于调节切割刀片之间的距离,也不能便于安装和拆换切割刀片。

技术实现要素:

本实用新型提供一种胶带午夜免费福利刀距可调装置,可以有效解决上述背景技术中提出的没有设置光电保护器,不能感应到外界即将伸入的物体,不能保证持续的高质量生产,没有设置内螺纹杆、第一螺母和第二螺母,不能便于调节切割刀片之间的距离,也不能便于安装和拆换切割刀片的问题。

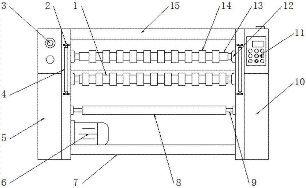
为实现上述目的,本实用新型提供如下技术方案:一种胶带午夜免费福利刀距可调装置,包括下收料辊、固定架、急停按钮、光电保护器、传动箱、电机、固定横杆、分切原料、原料辊、固定限位箱、控制面板、轴座、上收料辊、收料环、机架、内螺纹杆、切割轴、切割轴固定座、第一螺母、切割刀片和第二螺母,所述传动箱的前表面上嵌入设置有急停按钮,所述急停按钮的一侧设置有光电保护器,所述光电保护器的一端设置有固定架,所述传动箱的底部内侧设置有固定横杆,所述固定横杆的上端固定有电机,且固定横杆的一侧设置有原料辊,所述原料辊的外部套有分切原料,且原料辊的一端设置有固定限位箱,所述原料辊的一侧设置有下收料辊,所述下收料辊的一侧设置有上收料辊,所述上收料辊的一端设置有轴座,且上收料辊的外部套有收料环,所述固定限位箱前表面上靠近轴座的一侧位置处设置有控制面板,所述上收料辊的一侧设置有机架,所述下收料辊的后侧设置有切割轴,所述切割轴的一端设置有切割轴固定座,且切割轴的外部设置有内螺纹杆,所述内螺纹杆的外部套有第一螺母,所述切割刀片安装在第一螺母的一侧,所述切割刀片的一侧设置有第二螺母,所述光电保护器的输入端与控制面板上对应光电保护器的输出端电性连接。

优选的,所述固定限位箱与传动箱通过机架固定连接。

优选的,所述下收料辊与上收料辊的直径大小一致。

优选的,所述光电保护器与传动箱通过固定架固定连接。

优选的,所述固定横杆贯穿传动箱的内侧板与传动箱的外侧板固定连接。

与现有技术相比,本实用新型的有益效果:本实用新型结构科学合理,使用安全方便,设置了光电保护器,可以感应到外界即将进入的物体,当外界物体进入时机器停止工作,保证了持续的高质量生产,也保证了工作人员的安全,设置了内螺纹杆、第一螺母和第二螺母,便于调节切割刀片之间的距离,也便于切割刀片的安装和拆换,解决了目前市场上的胶带午夜免费福利都是单向安装切割刀片,浪费时间,且一种刀距只能生产一种宽度的胶带,不能根据实际需求调节切割刀片之间的刀距的问题。

附图说明

附图用来提供对本实用新型的进一步理解,并且构成说明书的一部分,与本实用新型的实施例一起用于解释本实用新型,并不构成对本实用新型的限制。在附图中:

图1是本实用新型的结构示意图;

图2是本实用新型切割刀片的结构示意图;

图中标号:1、下收料辊;2、固定架;3、急停按钮;4、光电保护器;5、传动箱;6、电机;7、固定横杆;8、分切原料;9、原料辊;10、固定限位箱;11、控制面板;12、轴座;13、上收料辊;14、收料环;15、机架;16、内螺纹杆;17、切割轴;18、切割轴固定座;19、第一螺母;20、切割刀片;21、第二螺母。

具体实施方式

以下结合附图对本实用新型的优选实施例进行说明,应当理解,此处所描述的优选实施例仅用于说明和解释本实用新型,并不用于限定本实用新型。

实施例:如图1-2所示,本实用新型提供一种技术方案,一种胶带午夜免费福利刀距可调装置,包括下收料辊1、固定架2、急停按钮3、光电保护器4、传动箱5、电机6、固定横杆7、分切原料8、原料辊9、固定限位箱10、控制面板11、轴座12、上收料辊13、收料环14、机架15、内螺纹杆16、切割轴17、切割轴固定座18、第一螺母19、切割刀片20和第二螺母21,传动箱5的前表面上嵌入设置有急停按钮3,急停按钮3的一侧设置有光电保护器4,光电保护器4的一端设置有固定架2,传动箱5的底部内侧设置有固定横杆7,固定横杆7的上端固定有电机6,且固定横杆7的一侧设置有原料辊9,原料辊9的外部套有分切原料8,且原料辊9的一端设置有固定限位箱10,原料辊9的一侧设置有下收料辊1,下收料辊1的一侧设置有上收料辊13,上收料辊13的一端设置有轴座12,且上收料辊13的外部套有收料环14,固定限位箱10前表面上靠近轴座12的一侧位置处设置有控制面板11,上收料辊13的一侧设置有机架15,下收料辊1的后侧设置有切割轴17,切割轴17的一端设置有切割轴固定座18,且切割轴17的外部设置有内螺纹杆16,内螺纹杆16的外部套有第一螺母19,切割刀片20安装在第一螺母19的一侧,切割刀片20的一侧设置有第二螺母21,光电保护器4的输入端与控制面板11上对应光电保护器4的输出端电性连接。

为了使固定限位箱10与传动箱5之间的相对距离保持恒定,本实施例中,优选的,固定限位箱10与传动箱5通过机架15固定连接。

为了便于快速的收料,本实施例中,优选的,下收料辊1与上收料辊13的直径大小一致。

为了使光电保护器4稳稳的固定在传动箱5上,本实施例中,优选的,光电保护器4与传动箱5通过固定架2固定连接。

为了使固定横杆7紧密的连接传动箱5,本实施例中,优选的,固定横杆7贯穿传动箱5的内侧板与传动箱5的外侧板固定连接。

本实用新型的工作原理及使用流程:一种胶带午夜免费福利刀距可调装置,主要包括下收料辊1、光电保护器4、电机6、原料辊9、控制面板11、收料环14、机架15、第一螺母19、切割刀片20和第二螺母21,首先将待分切的胶带安装在原料辊9上,通过调节控制面板11,使该胶带午夜免费福利正常工作,由电机6来驱动下收料辊1和原料辊9,在下收料辊1和原料辊9上加有磁粉离合器,通过调节磁粉离合器的电流来控制其所产生的阻力,以控制胶带表面的张力,胶带午夜免费福利正常工作时,光电保护器4内部的发光器产生编码的红外光束,受光器接收对应光束,发光器与受光器之间产生一个矩形的保护区域,当不透明物体进入此区域时,对应光束被遮挡,受光器产生遮光信号输出至控制器,控制器最终将遮光信号转变为继电器输出信号发送至控制面板11上,控制面板11使胶带午夜免费福利停止工作,以保证持续的高质量生产,防止外界物体对胶带表面造成影响,同时也避免了工作人员受到伤害,通过调节第一螺母19和第二螺母21,然后根据实际的需求调节切割刀片20之间的刀距,调节完成后,紧密固定第一螺母19和第二螺母21,实现了刀距可调,同时也方便了切割刀片20的安装和拆换,解决了目前市场上的胶带午夜免费福利都是单向安装切割刀片,浪费时间,且一种刀距只能生产一种宽度的胶带,不能根据实际需求调节切割刀片20之间的刀距的问题。

最后应说明的是:以上所述仅为本实用新型的优选实例而已,并不用于限制本实用新型,尽管参照前述实施例对本实用新型进行了详细的说明,对于本领域的技术人员来说,其依然可以对前述各实施例所记载的技术方案进行修改,或者对其中部分技术特征进行等同替换。凡在本实用新型的精神和原则之内,所作的任何修改、等同替换、改进等,均应包含在本实用新型的保护范围之内。

一种胶带午夜免费福利刀距可调装置的制作方法

技术特征:

1.一种胶带午夜免费福利刀距可调装置,包括下收料辊(1)、固定架(2)、急停按钮(3)、光电保护器(4)、传动箱(5)、电机(6)、固定横杆(7)、分切原料(8)、原料辊(9)、固定限位箱(10)、控制面板(11)、轴座(12)、上收料辊(13)、收料环(14)、机架(15)、内螺纹杆(16)、切割轴(17)、切割轴固定座(18)、第一螺母(19)、切割刀片(20)和第二螺母(21),其特征在于:所述传动箱(5)的前表面上嵌入设置有急停按钮(3),所述急停按钮(3)的一侧设置有光电保护器(4),所述光电保护器(4)的一端设置有固定架(2),所述传动箱(5)的底部内侧设置有固定横杆(7),所述固定横杆(7)的上端固定有电机(6),且固定横杆(7)的一侧设置有原料辊(9),所述原料辊(9)的外部套有分切原料(8),且原料辊(9)的一端设置有固定限位箱(10),所述原料辊(9)的一侧设置有下收料辊(1),所述下收料辊(1)的一侧设置有上收料辊(13),所述上收料辊(13)的一端设置有轴座(12),且上收料辊(13)的外部套有收料环(14),所述固定限位箱(10)前表面上靠近轴座(12)的一侧位置处设置有控制面板(11),所述上收料辊(13)的一侧设置有机架(15),所述下收料辊(1)的后侧设置有切割轴(17),所述切割轴(17)的一端设置有切割轴固定座(18),且切割轴(17)的外部设置有内螺纹杆(16),所述内螺纹杆(16)的外部套有第一螺母(19),所述切割刀片(20)安装在第一螺母(19)的一侧,所述切割刀片(20)的一侧设置有第二螺母(21),所述光电保护器(4)的输入端与控制面板(11)上对应光电保护器(4)的输出端电性连接。

2.根据权利要求1所述的一种胶带午夜免费福利刀距可调装置,其特征在于:所述固定限位箱(10)与传动箱(5)通过机架(15)固定连接。

3.根据权利要求1所述的一种胶带午夜免费福利刀距可调装置,其特征在于:所述下收料辊(1)与上收料辊(13)的直径大小一致。

4.根据权利要求1所述的一种胶带午夜免费福利刀距可调装置,其特征在于:所述光电保护器(4)与传动箱(5)通过固定架(2)固定连接。

5.根据权利要求1所述的一种胶带午夜免费福利刀距可调装置,其特征在于:所述固定横杆(7)贯穿传动箱(5)的内侧板与传动箱(5)的外侧板固定连接。

技术总结

本实用新型公开了一种胶带午夜免费福利刀距可调装置,包括下收料辊、固定架、光电保护器、传动箱、电机、原料辊和固定限位箱,所述传动箱的前表面上嵌入设置有急停按钮,所述急停按钮的一侧设置有光电保护器,所述光电保护器的一端设置有固定架,所述传动箱的底部内侧设置有固定横杆,所述固定横杆的上端固定有电机。本实用新型结构科学合理,设置了光电保护器,可以感应到外界即将进入的物体,当外界物体进入时机器停止工作,保证了持续的高质量生产,也保证了工作人员的安全,解决了目前市场上的胶带午夜免费福利都是单向安装切割刀片,浪费时间,且一种刀距只能生产一种宽度的胶带,不能根据实际需求调节切割刀片之间的刀距的问题。

技术研发人员:刘春明

受保护的技术使用者:天津凯美迪科技发展有限公司

文档号码:201720739817

技术研发日:2017.06.23

技术公布日:2018.05.04

网站地图