午夜羞羞小视频,午夜免费福利,午夜精品免费视频,午夜免费看污污APP

行业新闻

当前位置:首页/新闻中心/行业新闻

一种电池箔午夜免费福利润滑剪切装置的制作方法

2024年02月05日国知局浏览量:0

一种电池箔午夜免费福利润滑剪切装置的制作方法

本实用新型属于金属加工设备领域,具体涉及一种电池箔午夜免费福利润滑剪切装置。

背景技术:

目前在电池铝箔行业内,午夜免费福利剪切装置伺服圆刀在切边时润滑效果欠佳,出现端部毛刺,影响产品质量,由于用润滑油润滑会导致边部发黄,遂会考虑酒精的润滑,但现有的酒精润滑均为手动,无法做到精确控制润滑量。

技术实现要素:

因此,为了克服上述现有技术的缺点,本实用新型提供一种电池箔午夜免费福利润滑剪切装置,以提高精度,可满足更高端的产品需求。

为了实现上述目的,提供一种电池箔午夜免费福利润滑剪切装置,包括:

电池箔午夜免费福利润滑剪切装置本体;

设置于所述午夜免费福利本体上的刀槽辊;

刀架,所述刀架设置于所述刀槽辊的一侧,所述刀架能够相对于所述刀槽辊左右移动;

圆刀,所述圆刀设置于所述刀架上,且所述刀槽辊上设置有与所述圆刀配合的刀槽;

蠕动泵和润滑剂传送管道,所述润滑剂传送管道包括第一端以及与所述第一端相对的第二端,所述润滑剂传送管道的第一端与所述蠕动泵连接,所述润滑剂传送管道的第二端与所述圆刀连接,从而将蠕动泵泵送的润滑剂施加于所述圆刀上。

进一步地,还包括相互连接的传感装置和控制装置,所述传感装置监控施加于所述圆刀表面的润滑剂,并将传感信号发送至所述控制装置,所述控制装置控制所述蠕动泵的润滑剂泵送速度。

进一步地,还包括润滑剂施加装置,所述润滑剂施加装置与所述润滑剂传送管道的第二端连通,且与所述圆刀接触,用于对所述圆刀施加润滑剂。

进一步地,还包括润滑剂存储装置,所述润滑剂存储装置与所述蠕动泵连通。

进一步地,所述润滑剂施加装置包括海绵。

进一步地,润滑剂存储装置包括润滑剂存储容器和容器卡槽,所述润滑剂存储容器卡接于所述容器卡槽内。

进一步地,还包括刀架导轨,所述刀架设置于所述刀架导轨上,能够沿所述刀架导轨往复移动。

进一步地,还包括放卷机构、张力辊和收卷机构,电池箔经放卷机构开卷后通过张力辊导入午夜免费福利构进行分切,完成分切的电池箔最终通过收卷机构进行卷取。

进一步地,所述润滑剂包括酒精。

与现有技术相比,本实用新型利用润滑剂对伺服圆刀润滑,润滑剂通过蠕动泵,输送到伺服刀架上方的润滑剂施加装置,润滑剂在润滑剂施加装置上吸附,然后对刀片进行润滑,蠕动泵可控制润滑剂的滴落速度,可达到精确控制润滑的效果,能够较好地实现润滑效果。且成本低,有利于实现批量化作业生产。

附图说明

图1为本实用新型一个实施例中的电池箔午夜免费福利润滑剪切装置的示意图。

具体实施方式

为使本实用新型的目的、技术方案和优点更加清楚明白,以下结合具体实施例,并参照附图,对本实用新型进一步详细说明。

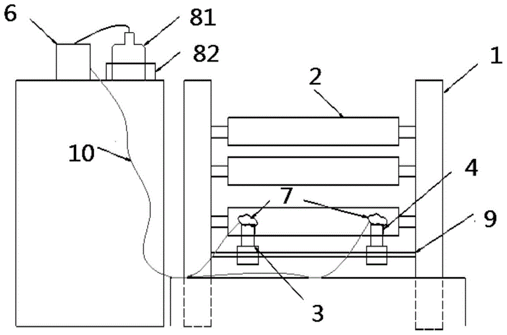
在本实用新型的一个实施例中,如图1所示,一种电池箔午夜免费福利润滑剪切装置,包括电池箔午夜免费福利润滑剪切装置本体1;

设置于所述午夜免费福利本体1上的刀槽辊2;

刀架3,所述刀架3设置于所述刀槽辊2的一侧,所述刀架3能够相对于所述刀槽辊2左右移动;

圆刀4,所述圆刀4设置于所述刀架3上,且所述刀槽辊2上设置有与所述圆刀4配合的刀槽5;

蠕动泵6和润滑剂传送管道10,所述润滑剂传送管道10包括第一端以及与所述第一端相对的第二端,所述润滑剂传送管道10的第一端与所述蠕动泵6连接,所述润滑剂传送管道10的第二端与所述圆刀4连接,从而将蠕动泵6泵送的润滑剂施加于所述圆刀4上。

在一个实施例中,还包括相互连接的传感装置和控制装置,所述传感装置监控施加于所述圆刀4表面的润滑剂,并将传感信号发送至所述控制装置,所述控制装置控制所述蠕动泵6的润滑剂泵送速度。

在一个实施例中,还包括润滑剂施加装置7,所述润滑剂施加装置7与所述润滑剂传送管道10的第二端连通,且与所述圆刀4接触,用于对所述圆刀4施加润滑剂。

在一个实施例中,还包括润滑剂存储装置8,所述润滑剂存储装置8与所述蠕动泵6连通。

在一个实施例中,所述润滑剂施加装置7包括海绵。

在一个实施例中,润滑剂存储装置8包括润滑剂存储容器81和容器卡槽82,所述润滑剂存储容器81卡接于所述容器卡槽82内。

在一个实施例中,还包括刀架导轨9,所述刀架3设置于所述刀架导轨9上,能够沿所述刀架导轨9往复移动。

在一个实施例中,还包括放卷机构、张力辊和收卷机构,电池箔经放卷机构开卷后通过张力辊导入午夜免费福利构进行分切,完成分切的电池箔最终通过收卷机构进行卷取。

在一个实施例中,所述润滑剂包括酒精。

以上所述仅为本实用新型的较佳实施例而已,并不用以限制本实用新型,凡在本实用新型的精神和原则之内所作的任何修改、等同替换和改进等,均应包含在本实用新型的保护范围之内。以上所述仅是本实用新型的优选实施方式,应当指出,对于本技术领域的普通技术人员来说,在不脱离本实用新型技术原理的前提下,还可以做出若干改进和变型,这些改进和变型也应视为本实用新型的保护范围。

技术特征:

1.一种电池箔午夜免费福利润滑剪切装置,其特征在于,包括电池箔午夜免费福利润滑剪切装置本体;设置于所述午夜免费福利本体上的刀槽辊;刀架,所述刀架设置于所述刀槽辊的一侧,所述刀架能够相对于所述刀槽辊左右移动;圆刀,所述圆刀设置于所述刀架上,且所述刀槽辊上设置有与所述圆刀配合的刀槽;蠕动泵和润滑剂传送管道,所述润滑剂传送管道包括第一端以及与所述第一端相对的第二端,所述润滑剂传送管道的第一端与所述蠕动泵连接,所述润滑剂传送管道的第二端与所述圆刀连接,从而将蠕动泵泵送的润滑剂施加于所述圆刀上。

2.如权利要求1所述的电池箔午夜免费福利润滑剪切装置,其特征在于,还包括相互连接的传感装置和控制装置,所述传感装置监控施加于所述圆刀表面的润滑剂,并将传感信号发送至所述控制装置,所述控制装置控制所述蠕动泵的润滑剂泵送速度。

3.如权利要求1所述的电池箔午夜免费福利润滑剪切装置,其特征在于,还包括润滑剂施加装置,所述润滑剂施加装置与所述润滑剂传送管道的第二端连通,且与所述圆刀接触,用于对所述圆刀施加润滑剂。

4.如权利要求1所述的电池箔午夜免费福利润滑剪切装置,其特征在于,还包括润滑剂存储装置,所述润滑剂存储装置与所述蠕动泵连通。

5.如权利要求3所述的电池箔午夜免费福利润滑剪切装置,其特征在于,所述润滑剂施加装置包括海绵。

6.如权利要求4所述的电池箔午夜免费福利润滑剪切装置,其特征在于,润滑剂存储装置包括润滑剂存储容器和容器卡槽,所述润滑剂存储容器卡接于所述容器卡槽内。

7.如权利要求1所述的电池箔午夜免费福利润滑剪切装置,其特征在于,还包括刀架导轨,所述刀架设置于所述刀架导轨上,能够沿所述刀架导轨往复移动。

8.如权利要求1所述的电池箔午夜免费福利润滑剪切装置,其特征在于,还包括放卷机构、张力辊和收卷机构,电池箔经放卷机构开卷后通过张力辊导入午夜免费福利构进行分切,完成分切的电池箔最终通过收卷机构进行卷取。

9.如权利要求1所述的电池箔午夜免费福利润滑剪切装置,其特征在于,所述润滑剂包括酒精。

技术总结

本实用新型提供一种电池箔午夜免费福利润滑剪切装置,包括电池箔午夜免费福利润滑剪切装置本体;设置于所述午夜免费福利本体上的刀槽辊;刀架,所述刀架设置于所述刀槽辊的一侧,所述刀架能够相对于所述刀槽辊左右移动;圆刀,所述圆刀设置于所述刀架上,且所述刀槽辊上设置有与所述圆刀配合的刀槽;蠕动泵和润滑剂传送管道,所述润滑剂传送管道包括第一端以及与所述第一端相对的第二端,所述润滑剂传送管道的第一端与所述蠕动泵连接,所述润滑剂传送管道的第二端与所述圆刀连接,从而将蠕动泵泵送的润滑剂施加于所述圆刀上。本实用新型润滑剂通过蠕动泵,输送到伺服刀架上方的润滑剂施加装置,润滑剂在润滑剂施加装置上吸附,然后对刀片进行润滑。

技术研发人员:樊文忠;胡志远;侯永林;张雄星;江辉;曾杰江

受保护的技术使用者:杭州五星铝业有限公司

技术研发日:2019.12.28

技术公布日:2020.10.20

网站地图