服务热线
180-5003-0233

1.本申请涉及铝箔生产设备技术领域,特别涉及一种铝箔分切装置。
背景技术:
2.铝箔午夜免费福利是一种用于铝箔深加工后后道裁切工序的机器,是将印刷好的铝箔纵切成用户所需宽度的卷状产品,其功能主要是铝箔按宽度尺寸进行纵切成卷。目前的铝箔分切装置存在铝箔分切时产生的铝粉粘于圆刀片的问题,进而导致了分切的铝箔有翻边,刀痕、毛刺严重等缺点,同时由于铝箔卷规格不同,需要的分切辊会不同,现有的铝箔分切辊规格单一,使用效果不佳。
技术实现要素:
3.本实用新型的目的在于提供一种铝箔分切装置,以克服现有技术中的不足。
4.为实现上述目的,本实用新型提供如下技术方案:
5.本申请实施例公开了一种铝箔分切装置,包括工作台,所述工作台分为上工作面和下工作面,所述下工作面上设有第一气缸和刀具切割台,所述第一气缸推动所述刀具切割台滑动于所述下工作面,所述刀具切割台上方固定有刀架,所述刀架中间位置通过水平转轴转动有圆盘刀片,所述圆盘刀片底端没入所述刀架下方的清洗槽内,所述清洗槽两侧固定有紧贴圆盘刀片的擦拭块,所述清洗槽内盛有润滑液,所述刀架上端设有吸尘管,所述吸尘管围绕在所述圆盘刀片两侧,所述上工作面上两侧分别固定有第二气缸,所述上工作面的中心位置开设有空槽,所述第二气缸的输出端竖直布置,所述第二气缸的输出端上焊接有支撑座,所述支撑座之间转动有连接轴,所述连接轴上滑动套设有圆形挡板,所述圆形挡板与所述支撑座之间的连接轴上套设有弹簧,所述圆形挡板之间夹持有铝箔卷。
6.优选的,在上述的一种铝箔分切装置中,所述下工作面上设有供所述刀具切割台滑动的导轨。
7.优选的,在上述的一种铝箔分切装置中,所述空槽的尺寸大于所述铝箔卷的最大规格长度。
8.优选的,在上述的一种铝箔分切装置中,所述擦拭块为毛毡,所述润滑液为煤油、柴油等轻质油。
9.优选的,在上述的一种铝箔分切装置中,所述圆盘刀片为陶瓷刀片。
10.优选的,在上述的一种铝箔分切装置中,所述支撑座相向的一侧的中心位置安装有轴承,所述连接轴与所述轴承内圈过盈配合。
11.优选的,在上述的一种铝箔分切装置中,所述上工作面和所述下工作面通过四根支撑柱焊接连接。
12.与现有技术相比,本实用新型的优点在于:
13.本实用新型通过设置的弹簧及圆形挡板可以适应不同规格的铝箔卷筒;通过设置在圆盘刀片两侧的吸尘管及底部刀具擦拭块,可以实现边分切边吸除铝屑,分切时在线擦
拭刀片防止铝屑聚集后使刀片变钝,从而避免铝箔料面翻边;第一气缸可推动刀具切割台滑动于下工作面,使得圆盘刀片可以根据所需分切铝箔的宽度而进行分切,简单效率。
附图说明
14.为了更清楚地说明本申请实施例或现有技术中的技术方案,下面将对实施例或现有技术描述中所需要使用的附图作简单地介绍,显而易见地,下面描述中的附图仅仅是本申请中记载的一些实施例,对于本领域普通技术人员来讲,在不付出创造性劳动以根据这些附图获得其他的附图。
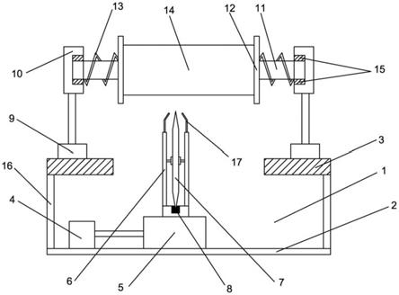
15.图1所示为本实用新型具体实施例中一种铝箔分切装置的结构示意图。
16.其中:1-工作台,2-下工作面,3-上工作面,4-第一气缸,5-刀具切割台,6-刀架,7-圆盘刀片,8-清洗槽,9-第二气缸,10-支撑座,11-连接轴,12-圆形挡板,13-弹簧,14-铝箔卷,15-轴承,16-支撑柱,17-吸尘管。
具体实施方式
17.下面将结合本实用新型实施例中的附图,对本实用新型实施例中的技术方案进行详细的描述,显然,所描述的实施例仅仅是本实用新型一部分实施例,而不是全部的实施例。基于本实用新型中的实施例,本领域普通技术人员在没有做出创造性劳动的前提下所获得的所有其他实施例,都属于本实用新型保护的范围。
18.参图1所示,本实施例中的一种铝箔分切装置,包括工作台1,工作台1分为上工作面3和下工作面2,下工作面2上设有第一气缸4和刀具切割台5,第一气缸4推动刀具切割台5滑动于下工作面2,刀具切割台5上方固定有刀架6,刀架6中间位置通过水平转轴转动有圆盘刀片7,圆盘刀片7底端没入刀架6下方的清洗槽8内,清洗槽8两侧固定有紧贴圆盘刀片7的擦拭块,清洗槽8内盛有润滑液,刀架6上端设有吸尘管17,吸尘管17围绕在圆盘刀片7两侧,上工作面3上两侧分别固定有第二气缸9,上工作面3的中心位置开设有空槽,第二气缸9的输出端竖直布置,第二气缸9的输出端上焊接有支撑座10,支撑座10之间转动有连接轴11,连接轴11上滑动套设有圆形挡板12,圆形挡板12与支撑座10之间的连接轴11上套设有弹簧13,圆形挡板12之间夹持有铝箔卷14。
19.在本技术方案中,通过设置的弹簧13及圆形挡板12可以适应不同规格的铝箔卷筒14;通过设置在圆盘刀片7两侧的吸尘管17及底部刀具擦拭块,可以实现边分切边吸除铝屑,分切时在线擦拭刀片防止铝屑聚集后使刀片变钝,从而避免铝箔料面翻边;第一气缸4可推动刀具切割台5滑动于下工作面2,使得圆盘刀片7可以根据所需分切铝箔的宽度而进行分切,简单效率。
20.进一步的,下工作面2上设有供刀具切割台5滑动的导轨,便于调节圆盘刀片7的位置,可以获得不同宽度的铝箔。
21.进一步的,空槽的尺寸大于铝箔卷的最大规格长度,防止刀具分切出现调整不到位的情况。
22.进一步的,擦拭块为毛毡,润滑液为煤油、柴油等轻质油,分切时,毛毡在线擦拭圆盘刀片7的刀面,防止铝粉聚集刀尖使得刀片变钝。
23.进一步的,圆盘刀片7为陶瓷刀片,可以尽可能地减少金属粉末的产生。
24.进一步的,支撑座10相向的一侧的中心位置安装有轴承15,连接轴11与轴承15内圈过盈配合。
25.进一步的,上工作面3和下工作面2通过四根支撑柱16焊接连接。
26.需要说明的是,在本文中,诸如第一和第二等之类的关系术语仅仅用来将一个实体或者操作与另一个实体或操作区分开来,而不一定要求或者暗示这些实体或操作之间存在任何这种实际的关系或者顺序。而且,术语“包括”、“包含”或者其任何其他变体意在涵盖非排他性的包含,从而使得包括一系列要素的过程、方法、物品或者设备不仅包括那些要素,而且还包括没有明确列出的其他要素,或者是还包括为这种过程、方法、物品或者设备所固有的要素。在没有更多限制的情况下,由语句“包括一个……”限定的要素,并不排除在包括要素的过程、方法、物品或者设备中还存在另外的相同要素。
27.以上仅是本申请的具体实施方式,应当指出,对于本技术领域的普通技术人员来说,在不脱离本申请原理的前提下,还可以做出若干改进和润饰,这些改进和润饰也应视为本申请的保护范围。
技术特征:
1.一种铝箔分切装置,包括工作台,其特征在于:所述工作台分为上工作面和下工作面,所述下工作面上设有第一气缸和刀具切割台,所述第一气缸推动所述刀具切割台滑动于所述下工作面,所述刀具切割台上方固定有刀架,所述刀架中间位置通过水平转轴转动有圆盘刀片,所述圆盘刀片底端没入所述刀架下方的清洗槽内,所述清洗槽两侧固定有紧贴圆盘刀片的擦拭块,所述清洗槽内盛有润滑液,所述刀架上端设有吸尘管,所述吸尘管围绕在所述圆盘刀片两侧,所述上工作面上两侧分别固定有第二气缸,所述上工作面的中心位置开设有空槽,所述第二气缸的输出端竖直布置,所述第二气缸的输出端上焊接有支撑座,所述支撑座之间转动有连接轴,所述连接轴上滑动套设有圆形挡板,所述圆形挡板与所述支撑座之间的连接轴上套设有弹簧,所述圆形挡板之间夹持有铝箔卷。2.根据权利要求1所述的一种铝箔分切装置,其特征在于:所述下工作面上设有供所述刀具切割台滑动的导轨。3.根据权利要求1所述的一种铝箔分切装置,其特征在于:所述空槽的尺寸大于所述铝箔卷的最大规格长度。4.根据权利要求1所述的一种铝箔分切装置,其特征在于:所述擦拭块为毛毡,所述润滑液为煤油、柴油等轻质油。5.根据权利要求1所述的一种铝箔分切装置,其特征在于:所述圆盘刀片为陶瓷刀片。6.根据权利要求1所述的一种铝箔分切装置,其特征在于:所述支撑座相向的一侧的中心位置安装有轴承,所述连接轴与所述轴承内圈过盈配合。7.根据权利要求1所述的一种铝箔分切装置,其特征在于:所述上工作面和所述下工作面通过四根支撑柱焊接连接。
技术总结
本申请公开了一种铝箔分切装置,工作台分为上工作面和下工作面,下工作面上设有第一气缸和刀具切割台,刀具切割台上方固定有刀架,刀架中间位置通过水平转轴转动有圆盘刀片,圆盘刀片底端没入刀架下方的清洗槽内,刀架上端设有吸尘管,上工作面上两侧分别固定有第二气缸,第二气缸的输出端上焊接有支撑座,支撑座之间转动有连接轴,连接轴上滑动套设有圆形挡板,圆形挡板与支撑座之间的连接轴上套设有弹簧,圆形挡板之间夹持有铝箔卷。本实用新型装置在分切时在线擦拭刀具,防止铝粉聚集,吸尘管可以吸收切割时散落的铝屑,设置的弹簧及圆形挡板可以适应不同规格的铝箔卷筒。形挡板可以适应不同规格的铝箔卷筒。形挡板可以适应不同规格的铝箔卷筒。
技术研发人员:钱卫兵 钱雨芳 奚文杰 杨志刚
受保护的技术使用者:张家港市东升铝业有限公司
技术研发日:2021.08.18
技术公布日:2022/1/18