服务热线
180-5003-0233

本实用新型涉及变压器绝缘纸加工技术领域,尤其涉及一种变压器绝缘纸午夜免费福利。
背景技术:
绝缘纸是电绝缘用纸的总称。用作电缆、线圈等各项电器设备的绝缘午夜精品免费视频。除都具有良好的绝缘性能和机械强度外,还各有其特点,变压器是利用电磁感应的原理来改变交流电压的装置,主要构件是初级线圈、次级线圈和铁芯(磁芯),变压器绝缘纸是变压器中起到绝缘作用的纸,在变压器中用于卷绕线圈时,利用变压器绝缘纸与线圈一起进行逐层缠绕,隔绝两层线圈。
变压器绝缘纸在使用前,都是呈纸筒状,在应用时需要将绝缘纸分切成不同尺寸的纸条,现有的分切手段大多为展开叠摞后,再进行分切,降低了分切的效率,在分切时叠摞的绝缘纸容易发生滑移,造成分切的尺寸出现大的误差,影响产品质量。
技术实现要素:
本实用新型的目的是为了解决现有技术中存在的缺点,而提出的一种变压器绝缘纸午夜免费福利。
为了实现上述目的,本实用新型采用了如下技术方案:
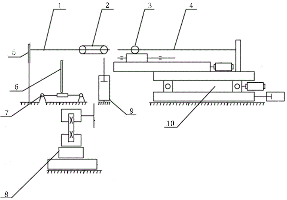
一种变压器绝缘纸午夜免费福利,包括工作台板,所述工作台板的顶部一侧边缘处通过螺栓依次安装有进料支撑板、分切支撑板和收卷支撑板,且进料支撑板的一侧通过轴承连接有送料转动杆,所述送料转动杆的圆周外壁套接有绝缘纸筒,所述分切支撑板的一侧顶部通过轴承连接有分切滚刀转动杆,且分切滚刀转动杆的圆周外壁通过螺栓连接有上固定辊,相邻的两个上固定辊之间通过螺栓夹持有分切滚刀,所述分切支撑板的一侧中部通过轴承连接有分切定刀转动杆,且分切定刀转动杆的圆周外壁通过螺栓连接有下固定辊,相邻的两个下固定辊之间通过螺栓夹持有分切定刀,所述分切支撑板的另一侧顶部通过通过螺栓连接有分切电机,所述收卷支撑板的一侧通过顶部通过轴承连接有收卷转动杆,且收卷转动杆的圆周外壁通过螺栓连接有收卷筒,所述收卷筒的两端均通过螺栓连接有限位盘,所述工作台板的顶部开设有调节槽,且调节槽的内部通过螺栓连接有调节块,所述调节块的顶部通过螺栓连接有分离板。
优选的,所述上固定辊和下固定辊的圆周外壁均通过铆钉套接有橡胶辊套。
优选的,所述分切定刀的圆周外壁中部开设有滚刀环槽。
优选的,所述工作台板的顶部另一侧边缘处开设有三个等距离分布的安装槽,且三个安装槽的内部顶端均通过螺栓连接有活动块。
优选的,三个所述活动块的顶部均通过螺栓连接有侧边支撑板,且送料转动杆、分切滚刀转动杆和分切定刀转动杆、收卷转动杆的另一端分别与三个侧边支撑板通过轴承转动连接。
优选的,所述收卷支撑板的另一侧通过顶部通过收卷电机,且收卷电机的输出轴通过螺栓与收卷转动杆传动连接。
优选的,所述分切电机和收卷电机均通过导线连接有开关和电源线,且开关和电源线均通过螺栓与工作台板稳固连接。
本实用新型的有益效果为:
1、本实用新型提出的变压器绝缘纸午夜免费福利,将绝缘纸筒放置在送料转动杆上,工作人员根据生产需求选用不同长度的收卷筒、上固定辊和下固定辊进行安装,将绝缘纸的纸头穿过上固定辊和下固定辊之间,分别卷绕在不同的收卷筒上,启动分切电机和收卷电机,在绝缘纸被上固定辊和下固定辊上的橡胶辊套带动展开时,即可被旋转的分切滚刀和分切定刀的作用,被分切成不同尺寸的绝缘纸,分切后的绝缘纸被收卷筒重新卷绕成所需求尺寸的绝缘纸纸筒,使得本装置使用简单方便,无需将绝缘纸展开叠摞,简化绝缘纸分切的步骤,显著的提高分切的效率。
2、本实用新型提出的变压器绝缘纸午夜免费福利,工作人员通过更换不同的收卷筒、上固定辊和下固定辊,即可将绝缘纸原料分切成不同尺寸的绝缘纸,显著的提高本装置的应用范围,同时,在收卷筒与上固定辊、下固定辊之间通过调节块安装有分离板,且分离板与分切滚刀之间位于同一竖直面,在对绝缘纸进行分切时,可以避免相邻的绝缘纸纸条相互影响,提高本装置分切过程中的稳定性。
3、本实用新型提出的变压器绝缘纸午夜免费福利,在需要上料、下料和更换收卷筒、上固定辊和下固定辊时,工作人员将活动块与工作台板之间的连接螺栓取下,即可将活动块连同侧边支撑板从安装槽的内部取出,将送料转动杆、分切滚刀转动杆和分切定刀转动杆、收卷转动杆的一端空出间隙,方便对本装置进行更改和上下料,为工作人员的分切工作提供极大的便利,进一步的提高绝缘纸的分切效率。
附图说明
图1为本实用新型提出的一种变压器绝缘纸午夜免费福利的俯视结构示意图;
图2为本实用新型提出的一种变压器绝缘纸午夜免费福利的分切滚刀转动杆和分切定刀转动杆结构示意图;
图3为本实用新型提出的一种变压器绝缘纸午夜免费福利的局部侧视结构示意图。
图中:1进料支撑板、2绝缘纸筒、3工作台板、4分切电机、5分切支撑板、6上固定辊、7调节槽、8调节块、9收卷支撑板、10收卷筒、11限位盘、12收卷转动杆、13侧边支撑板、14安装槽、15分离板、16分切滚刀、17分切滚刀转动杆、18送料转动杆、19分切定刀转动杆、20分切定刀、21下固定辊、22橡胶辊套、23活动块。
具体实施方式
下面将结合本实用新型实施例中的附图,对本实用新型实施例中的技术方案进行清楚、完整地描述,显然,所描述的实施例仅仅是本实用新型一部分实施例,而不是全部的实施例。
参照图1-3,一种变压器绝缘纸午夜免费福利,包括水平设置的工作台板3,工作台板3的顶部一侧边缘处通过螺栓依次安装有进料支撑板1、分切支撑板5和收卷支撑板9,且进料支撑板1的一侧通过轴承连接有水平设置的送料转动杆18,送料转动杆18的圆周外壁套接有绝缘纸筒2,分切支撑板5的一侧顶部通过轴承连接有水平设置的分切滚刀转动杆17,且分切滚刀转动杆17的圆周外壁通过螺栓连接有等距离分布的上固定辊6,相邻的两个上固定辊6之间通过螺栓夹持有分切滚刀16,分切支撑板5的一侧中部通过轴承连接有水平设置的分切定刀转动杆19,且分切定刀转动杆19的圆周外壁通过螺栓连接有等距离分布的下固定辊21,相邻的两个下固定辊21之间通过螺栓夹持有分切定刀20,分切定刀20位于分切滚刀16的下方,分切支撑板5的另一侧顶部通过通过螺栓连接有分切电机4,且分切电机4的输出轴通过螺栓与分切滚刀转动杆17传动连接,收卷支撑板9的一侧通过顶部通过轴承连接有水平设置的收卷转动杆12,且收卷转动杆12的圆周外壁通过螺栓连接有等距离分布的收卷筒10,收卷筒10的两端均通过螺栓连接有限位盘11,工作台板3的顶部位于收卷转动杆12和分切滚刀转动杆17之间的位置开设有横截面为倒T型结构的调节槽7,且调节槽7的内部通过螺栓连接有横截面为“工”字型结构的调节块8,调节块8的顶部通过螺栓连接有竖直设置的分离板15,且分离板15与分切滚刀16之间位于同一竖直面。
本实用新型中,上固定辊6和下固定辊21的圆周外壁均通过铆钉套接有橡胶辊套22,且上下分布的橡胶辊套22之间的间隙小于绝缘纸的厚度,分切定刀20的圆周外壁中部开设有滚刀环槽,且分切滚刀16的下端位于滚刀环槽的内部,工作台板3的顶部另一侧边缘处开设有三个等距离分布横截面为倒T型结构的安装槽14,且三个安装槽14的内部顶端均通过螺栓连接有横截面为“工”字型结构的活动块23,三个活动块23的顶部均通过螺栓连接有侧边支撑板13,且送料转动杆18、分切滚刀转动杆17和分切定刀转动杆19、收卷转动杆12的另一端分别与三个侧边支撑板13通过轴承转动连接,收卷支撑板9的另一侧通过顶部通过收卷电机,且收卷电机的输出轴通过螺栓与收卷转动杆12传动连接,分切电机4和收卷电机均通过导线连接有开关和电源线,且开关和电源线均通过螺栓与工作台板3稳固连接。
工作原理:在本装置空闲处,将上述中所有驱动件,其指代动力元件、电器件以及适配的电源通过导线进行连接,具体连接手段,应参考下述工作原理中,各电器件之间先后工作顺序完成电性连接,其详细连接手段,为本领域公知技术,下述主要介绍工作原理以及过程,不在对电气控制做说明;
将绝缘纸筒2放置在送料转动杆18上,工作人员根据生产需求选用不同长度的收卷筒10、上固定辊6和下固定辊21进行安装,将绝缘纸的纸头穿过上固定辊6和下固定辊21之间,分别卷绕在不同的收卷筒10上,启动分切电机4和收卷电机,在绝缘纸被上固定辊6和下固定辊21上的橡胶辊套22带动展开时,即可被旋转的分切滚刀16和分切定刀20的作用,被分切成不同尺寸的绝缘纸,分切后的绝缘纸被收卷筒10重新卷绕成所需求尺寸的绝缘纸纸筒,使得本装置使用简单方便,无需将绝缘纸展开叠摞,简化绝缘纸分切的步骤,显著的提高分切的效率;
工作人员通过更换不同的收卷筒10、上固定辊6和下固定辊21,即可将绝缘纸原料分切成不同尺寸的绝缘纸,显著的提高本装置的应用范围,同时,在收卷筒10与上固定辊6、下固定辊21之间通过调节块8安装有分离板15,且分离板15与分切滚刀16之间位于同一竖直面,在对绝缘纸进行分切时,可以避免相邻的绝缘纸纸条相互影响,提高本装置分切过程中的稳定性;
在需要上料、下料和更换收卷筒10、上固定辊6和下固定辊21时,工作人员将活动块23与工作台板3之间的连接螺栓取下,即可将活动块23连同侧边支撑板13从安装槽14的内部取出,将送料转动杆18、分切滚刀转动杆17和分切定刀转动杆19、收卷转动杆12的一端空出间隙,方便对本装置进行更改和上下料,为工作人员的分切工作提供极大的便利,进一步的提高绝缘纸的分切效率。
以上所述,仅为本实用新型较佳的具体实施方式,但本实用新型的保护范围并不局限于此,任何熟悉本技术领域的技术人员在本实用新型揭露的技术范围内,根据本实用新型的技术方案及其实用新型构思加以等同替换或改变,都应涵盖在本实用新型的保护范围之内。
技术特征:
1.一种变压器绝缘纸午夜免费福利,包括工作台板(3),其特征在于,所述工作台板(3)的顶部一侧边缘处通过螺栓依次安装有进料支撑板(1)、分切支撑板(5)和收卷支撑板(9),且进料支撑板(1)的一侧通过轴承连接有送料转动杆(18),所述送料转动杆(18)的圆周外壁套接有绝缘纸筒(2),所述分切支撑板(5)的一侧顶部通过轴承连接有分切滚刀转动杆(17),且分切滚刀转动杆(17)的圆周外壁通过螺栓连接有上固定辊(6),相邻的两个上固定辊(6)之间通过螺栓夹持有分切滚刀(16),所述分切支撑板(5)的一侧中部通过轴承连接有分切定刀转动杆(19),且分切定刀转动杆(19)的圆周外壁通过螺栓连接有下固定辊(21),相邻的两个下固定辊(21)之间通过螺栓夹持有分切定刀(20),所述分切支撑板(5)的另一侧顶部通过通过螺栓连接有分切电机(4),所述收卷支撑板(9)的一侧通过顶部通过轴承连接有收卷转动杆(12),且收卷转动杆(12)的圆周外壁通过螺栓连接有收卷筒(10),所述收卷筒(10)的两端均通过螺栓连接有限位盘(11),所述工作台板(3)的顶部开设有调节槽(7),且调节槽(7)的内部通过螺栓连接有调节块(8),所述调节块(8)的顶部通过螺栓连接有分离板(15)。
2.根据权利要求1所述的一种变压器绝缘纸午夜免费福利,其特征在于,所述上固定辊(6)和下固定辊(21)的圆周外壁均通过铆钉套接有橡胶辊套(22)。
3.根据权利要求2所述的一种变压器绝缘纸午夜免费福利,其特征在于,所述分切定刀(20)的圆周外壁中部开设有滚刀环槽。
4.根据权利要求3所述的一种变压器绝缘纸午夜免费福利,其特征在于,所述工作台板(3)的顶部另一侧边缘处开设有三个等距离分布的安装槽(14),且三个安装槽(14)的内部顶端均通过螺栓连接有活动块(23)。
5.根据权利要求4所述的一种变压器绝缘纸午夜免费福利,其特征在于,三个所述活动块(23)的顶部均通过螺栓连接有侧边支撑板(13),且送料转动杆(18)、分切滚刀转动杆(17)和分切定刀转动杆(19)、收卷转动杆(12)的另一端分别与三个侧边支撑板(13)通过轴承转动连接。
6.根据权利要求5所述的一种变压器绝缘纸午夜免费福利,其特征在于,所述收卷支撑板(9)的另一侧通过顶部通过收卷电机,且收卷电机的输出轴通过螺栓与收卷转动杆(12)传动连接。
7.根据权利要求6所述的一种变压器绝缘纸午夜免费福利,其特征在于,所述分切电机(4)和收卷电机均通过导线连接有开关和电源线,且开关和电源线均通过螺栓与工作台板(3)稳固连接。
技术总结
本实用新型公开了一种变压器绝缘纸午夜免费福利,包括工作台板,所述工作台板的顶部一侧边缘处通过螺栓依次安装有进料支撑板、分切支撑板和收卷支撑板,且进料支撑板的一侧通过轴承连接有送料转动杆,所述送料转动杆的圆周外壁套接有绝缘纸筒,所述分切支撑板的一侧顶部通过轴承连接有分切滚刀转动杆,且分切滚刀转动杆的圆周外壁通过螺栓连接有上固定辊。本实用新型中,工作人员根据生产需求选用不同长度的收卷筒、上固定辊和下固定辊进行安装,即可将绝缘纸原料分切成不同尺寸的绝缘纸,显著的提高本装置的应用范围,本装置使用简单方便,无需将绝缘纸展开叠摞,简化绝缘纸分切的步骤,显著的提高分切的效率。
技术研发人员:徐尚
受保护的技术使用者:南昌科悦企业管理咨询有限公司
技术研发日:2018.11.30
技术公布日:2019.09.13