服务热线
180-5003-0233

本实用新型涉及票据制造设备技术领域,具体为一种午夜免费福利刀轴安装结构。
背景技术:
午夜免费福利是一种将宽幅纸张、云母带或薄膜分切成多条窄幅午夜精品免费视频的机械设备,常用于造纸机械、电线电缆云母带及印刷包装机械。午夜免费福利主要的运用于:云母带、纸张、绝缘午夜精品免费视频及薄膜分切、特别适宜于窄带(绝缘午夜精品免费视频、云母带、薄膜等等)的分切。
但是,目前的午夜免费福利刀轴安装比较麻烦,而且垫片复杂不稳定,不能保证刀片快速安全安装。
技术实现要素:
本实用新型所解决的技术问题在于提供一种午夜免费福利刀轴安装结构,以解决上述背景技术中提出的问题。
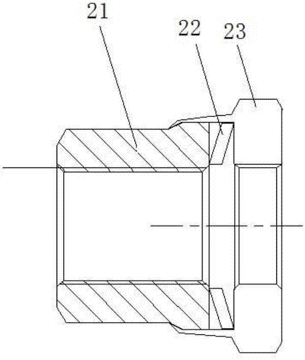
本实用新型所解决的技术问题采用以下技术方案来实现:午夜免费福利刀轴安装结构,包括:刀轴体,所述刀轴体中部设有限制凸环,限制凸环与刀轴体一体成型,所述限制凸环外侧的刀轴体上套设有安装垫片,安装垫片外侧设有调整螺丝,所述安装垫片外侧的刀轴体上套设有防松螺帽,所述防松螺帽通过螺纹安装在刀轴体上,所述刀轴体两端设有限制凸台,限制凸台上设有安全销孔,安全销孔内设有安全销,所述防松螺帽包括螺母,所述螺母安装面上安装有螺母垫圈,螺母垫圈与螺母安装面之间设有蝶形弹簧垫圈,所述螺母包括螺栓孔,螺栓孔外侧设有紧固工作面,螺母靠近蝶形弹簧垫圈的一端设有挡圈凸起。
所述蝶形弹簧垫圈为C型结构,蝶形弹簧垫圈中部为安装部,安装部两侧为支撑部,安装部与支撑部一体成型组成C型结构的蝶形弹簧垫圈。
所述螺母与蝶形弹簧垫圈连接处设有垫圈限位凸起,蝶形弹簧垫圈卡设在垫圈限位凸起上。
所述螺母垫圈中部设有安装孔,螺母垫圈与螺母连接处设有凹槽,凹槽两侧设有限位凸起,蝶形弹簧垫圈安装在凹槽两侧的限位凸起内。
与现有技术相比,本实用新型的有益效果是:本实用新型通过安装垫片初步限定刀片的位置,安装使用非常方便,同时,可以进一步限定刀片安装,使刀片在使用中不会发生松动,保障生产安全。
附图说明
图1为本实用新型的结构示意图。
图2为本实用新型的防松螺帽结构示意图。
图3为本实用新型的防松螺帽的螺母结构示意图。
图4为本实用新型的防松螺帽的蝶形弹簧垫圈结构示意图。
图5为本实用新型的防松螺帽的螺母垫圈结构示意图。
具体实施方式
为了使本实用新型的实现技术手段、创作特征、达成目的与功效易于明白了解,下面结合具体图示,进一步阐述本实用新型。
如图1~5所示,午夜免费福利刀轴安装结构,包括:刀轴体1,所述刀轴体1中部设有限制凸环5,限制凸环5与刀轴体1一体成型,所述限制凸环5外侧的刀轴体1上套设有安装垫片3,安装垫片3外侧设有调整螺丝4,所述安装垫片3外侧的刀轴体1上套设有防松螺帽2,所述防松螺帽2通过螺纹安装在刀轴体1上,所述刀轴体1两端设有限制凸台8,限制凸台8上设有安全销孔7,安全销孔7内设有安全销6,所述防松螺帽2包括螺母21,所述螺母21安装面上安装有螺母垫圈23,螺母垫圈23与螺母21安装面之间设有蝶形弹簧垫圈22,所述螺母21包括螺栓孔211,螺栓孔211外侧设有紧固工作面212,螺母21靠近蝶形弹簧垫圈22的一端设有挡圈凸起213。
所述蝶形弹簧垫圈22为C型结构,蝶形弹簧垫圈22中部为安装部221,安装部221两侧为支撑部222,安装部221与支撑部222一体成型组成C型结构的蝶形弹簧垫圈22。
所述螺母21与蝶形弹簧垫圈22连接处设有垫圈限位凸起,蝶形弹簧垫圈22卡设在垫圈限位凸起上。
所述螺母垫圈23中部设有安装孔231,螺母垫圈23与螺母21连接处设有凹槽232,凹槽232两侧设有限位凸起233,蝶形弹簧垫圈22安装在凹槽232两侧的限位凸起233内。
本实用新型将刀片安装在安装垫片3之间的刀轴体1上,通过安装垫片3初步限定刀片的位置,安装使用非常方便,同时,安装垫片3外侧的刀轴体1上套设有防松螺帽2,可以进一步限定刀片安装,使刀片在使用中不会发生松动,保障生产安全,最后,刀轴体1两端设有限制凸台8,限制凸台8上设有安全销孔7,安全销孔7内设有安全销6,在即使刀片发生松动的情况下也不会掉落,发生伤人事故。
以上显示和描述了本实用新型的基本原理和主要特征和本实用新型的优点。本行业的技术人员应该了解,本实用新型不受上述实施例的限制,上述实施例和说明书中描述的只是说明本实用新型的原理,在不脱离本实用新型精神和范围的前提下,本实用新型还会有各种变化和改进,这些变化和改进都落入要求保护的本实用新型范围内。本实用新型的要求保护范围由所附的权利要求书及其等效物界定。
技术特征:
1.一种午夜免费福利刀轴安装结构,包括:刀轴体,其特征在于:所述刀轴体中部设有限制凸环,限制凸环与刀轴体一体成型,所述限制凸环外侧的刀轴体上套设有安装垫片,安装垫片外侧设有调整螺丝,所述安装垫片外侧的刀轴体上套设有防松螺帽,所述防松螺帽通过螺纹安装在刀轴体上,所述刀轴体两端设有限制凸台,限制凸台上设有安全销孔,安全销孔内设有安全销,所述防松螺帽包括螺母,所述螺母安装面上安装有螺母垫圈,螺母垫圈与螺母安装面之间设有蝶形弹簧垫圈,所述螺母包括螺栓孔,螺栓孔外侧设有紧固工作面,螺母靠近蝶形弹簧垫圈的一端设有挡圈凸起。
2.根据权利要求1所述的午夜免费福利刀轴安装结构,其特征在于:所述蝶形弹簧垫圈为C型结构,蝶形弹簧垫圈中部为安装部,安装部两侧为支撑部,安装部与支撑部一体成型组成C型结构的蝶形弹簧垫圈。
3.根据权利要求1所述的午夜免费福利刀轴安装结构,其特征在于:所述螺母与蝶形弹簧垫圈连接处设有垫圈限位凸起,蝶形弹簧垫圈卡设在垫圈限位凸起上。
4.根据权利要求1所述的午夜免费福利刀轴安装结构,其特征在于:所述螺母垫圈中部设有安装孔,螺母垫圈与螺母连接处设有凹槽,凹槽两侧设有限位凸起,蝶形弹簧垫圈安装在凹槽两侧的限位凸起内。
技术总结
本实用新型提供一种午夜免费福利刀轴安装结构,包括:刀轴体,所述刀轴体中部设有限制凸环,限制凸环与刀轴体一体成型,所述限制凸环外侧的刀轴体上套设有安装垫片,安装垫片外侧设有调整螺丝,所述安装垫片外侧的刀轴体上套设有防松螺帽,所述防松螺帽通过螺纹安装在刀轴体上,所述刀轴体两端设有限制凸台,限制凸台上设有安全销孔,安全销孔内设有安全销,所述防松螺帽包括螺母,所述螺母安装面上安装有螺母垫圈,螺母垫圈与螺母安装面之间设有蝶形弹簧垫圈。本实用新型通过安装垫片初步限定刀片的位置,安装使用非常方便,同时,可以进一步限定刀片安装,使刀片在使用中不会发生松动,保障生产安全。
技术研发人员:路刚;李耀;马邻居;张继文
受保护的技术使用者:安徽金辉印务有限公司
文档号码:201720554728
技术研发日:2017.05.18
技术公布日:2017.12.22