服务热线
180-5003-0233

1.本实用新型涉及午夜免费福利技术领域,尤其涉及一种午夜免费福利卷膜防跑偏装置。
背景技术:
2.午夜免费福利是一种将宽幅纸张、云母带或薄膜分切成多条窄幅午夜精品免费视频的机械设备,常用于造纸机械、电线电缆云母带及印刷包装机械,在生产制造领域中应用较为广泛。
3.在使用午夜免费福利对卷膜进行分切收卷时,由于传统午夜免费福利的受卷轴较为光滑,并且对分切好的卷膜限位效果较差,在对卷膜进行收卷时,卷膜容易发生偏移,因此往往需要复卷,在一定程度上降低了午夜免费福利的工作效率。
技术实现要素:
4.本实用新型的目的是为了解决现有技术中存在的传统午夜免费福利的受卷轴较为光滑,并且对分切好的卷膜限位效果较差,在对卷膜进行收卷时,卷膜容易发生偏移,因此往往需要复卷,在一定程度上降低了午夜免费福利工作效率的缺点,而提出的一种午夜免费福利卷膜防跑偏装置。
5.为了实现上述目的,本实用新型采用了如下技术方案:一种午夜免费福利卷膜防跑偏装置,包括垫板和限位装置,所述垫板的上表面安装有机架,所述机架的表面固定安装有滚筒,所述滚筒的圆弧面安装有膜料,所述垫板的上表面借助螺栓固定安装有安装板,所述安装板的表面固定连接有伺服电机,所述伺服电机的输出轴固定安装有主动轮,主动轮的圆弧面传动连接有皮带,皮带的表面传动连接有从动轮,主动轮和从动轮的表面均与机架转动连接,主动轮和从动轮的表面均固定安装有收卷筒,两个所述收卷筒的另一端均与机架转动连接,所述收卷筒的圆弧面设有限位装置,所述限位装置包括滑环,所述滑环的表面螺纹连接有挤压杆,两个所述滑环彼此靠近的一侧均固定连接有限位盘。
6.优选的,两个所述滑环的表面均固定连接有伸缩杆,两个所述伸缩杆的输出轴分别固定连接有滑框和滑板,所述滑框的内壁与滑板滑动连接,所述滑框的表面固定连接有支撑板,所述支撑板的表面螺纹连接有螺杆,所述螺杆的一端转动连接有压板。
7.优选的,所述压板靠近螺杆的一侧固定连接有两个限位杆,所述限位杆远离压板的一端滑动贯穿支撑板。
8.优选的,两个所述限位盘彼此靠近的一侧均固定连接有若干个圆弧板,若干个所述圆弧板均匀分布在限位盘的表面。
9.优选的,所述滚筒的圆弧面设有润滑装置,所述润滑装置包括海绵套,所述海绵套的内壁与滚筒滑动连接,所述海绵套的圆弧面固定连接有圆环,所述圆环的圆弧面连通有塑料瓶,所述塑料瓶的上端卡接有圆盖。
10.优选的,所述圆环的圆弧面固定连接有拉手,所述拉手的横截面呈“t”形。
11.优选的,所述圆环的表面固定连接有弹性绳,所述弹性绳远离圆环的一端固定连接有弹性绳,所述弹性绳远离圆环的一端固定连接有转动板,所述转动板远离弹性绳的一端与机架转动连接。
12.与现有技术相比,本实用新型的优点和积极效果在于,
13.1、本实用新型中,通过设置限位装置,当需要对卷膜进行限位时,先转动螺杆,使螺杆带动压板从滑板的表面脱离,接着拉动两个滑环,使两个滑环沿着收卷筒的圆弧面滑动,两个滑环滑动时,滑板会在滑框的内壁滑动,达到了调节对卷膜限位宽度的效果,当滑动到合适位置时,转动螺杆,使螺杆带动压板重新挤压在滑板的表面,压板移动时会带动限位杆沿着支撑板的表面滑动,限位杆起到了限制压板移动位置的效果,压板挤压在滑板上后,转动挤压杆,使圆环上的挤压杆借助螺纹挤压在收卷筒上,达到了固定滑环位置的效果,然后启动伺服电机,伺服电机借助主动轮、从动轮以及皮带带动两个收卷筒转动,对分切好的膜料进行收卷,膜料收卷时会与圆弧板的圆弧面发生滑动,圆弧板起到了减小限位盘表面与膜料之间摩擦力的效果,两个限位盘起到了对处于收卷状态膜料进行限位的效果,通过设置限位装置,达到了方便操作人员快速对收卷筒上的膜料进行限位的效果,通过设置滑框和滑板达到了可以根据所收卷膜料的不同宽度来调节限位宽度,进而提高了午夜免费福利的工作效率以及对不同收卷尺寸膜料的适配性。
14.2、本实用新型中,通过设置润滑装置,在将膜料套在滚筒上准备进行分切前,先打开塑料瓶上的圆盖,然后将润滑油倒入塑料瓶中,接着按压塑料瓶,使塑料瓶内的润滑油流入到海绵套上,接着拉动拉手,使拉手带动海绵套沿着滚筒的圆弧面滑动,海绵套中浸入的润滑油会涂抹到滚筒上,接着转动拉手,使拉手带动海绵套沿着滚筒的圆弧面转动,达到了均匀涂抹的效果,此时转动板会跟随发生转动,当移动到合适位置后,松开拉手,弹性绳会给圆环拉力,使圆环滑动到原来位置,达到了方便下次使用的效果,然后再将膜料放在滚筒上,通过设置润滑装置,达到了提高午夜免费福利拉动分切前膜料进行转动的转动效率,涂抹润滑油后的滚筒还可以起到了防锈的效果,在一定程度上提高了午夜免费福利的工作效率。
附图说明
15.图1为本实用新型提出一种午夜免费福利卷膜防跑偏装置的立体结构示意图;
16.图2为本实用新型提出一种午夜免费福利卷膜防跑偏装置图1后侧的结构示意图;
17.图3为本实用新型提出一种午夜免费福利卷膜防跑偏装置限位装置的结构示意图;
18.图4为本实用新型提出一种午夜免费福利卷膜防跑偏装置图3的右侧结构示意图;
19.图5为本实用新型提出一种午夜免费福利卷膜防跑偏装置润滑装置的结构示意图。
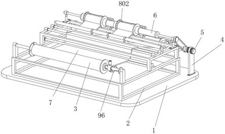
20.图例说明:1、垫板;2、机架;3、滚筒;4、安装板;5、伺服电机;6、收卷筒;7、膜料;8、限位装置;801、滑环;802、限位盘;803、伸缩杆;804、滑框;805、滑板;806、支撑板;807、螺杆;808、压板;809、限位杆;810、挤压杆;811、圆弧板;9、润滑装置;91、海绵套;92、圆环;93、塑料瓶;94、圆盖;95、拉手;96、弹性绳;97、转动板。
具体实施方式
21.为了能够更清楚地理解本实用新型的上述目的、特征和优点,下面结合附图和实施例对本实用新型做进一步说明。需要说明的是,在不冲突的情况下,本技术的实施例及实施例中的特征可以相互组合。
22.在下面的描述中阐述了很多具体细节以便于充分理解本实用新型,但是,本实用
新型还可以采用不同于在此描述的其他方式来实施,因此,本实用新型并不限于下面公开说明书的具体实施例的限制。
23.实施例1,如图1-5所示,一种午夜免费福利卷膜防跑偏装置,包括垫板1和限位装置8,垫板1的上表面安装有机架2,机架2的表面固定安装有滚筒3,滚筒3的圆弧面安装有膜料7,垫板1的上表面借助螺栓固定安装有安装板4,安装板4的表面固定连接有伺服电机5,伺服电机5的输出轴固定安装有主动轮,主动轮的圆弧面传动连接有皮带,皮带的表面传动连接有从动轮,主动轮和从动轮的表面均与机架2转动连接,主动轮和从动轮的表面均固定安装有收卷筒6,两个收卷筒6的另一端均与机架2转动连接,收卷筒6的圆弧面设有限位装置8。
24.下面具体说一下其限位装置8和润滑装置9的具体设置和作用。
25.如图1和图4所示,限位装置8包括滑环801,滑环801的表面螺纹连接有挤压杆810,两个滑环801彼此靠近的一侧均固定连接有限位盘802,两个滑环801的表面均固定连接有伸缩杆803,两个伸缩杆803的输出轴分别固定连接有滑框804和滑板805,滑框804的内壁与滑板805滑动连接,滑框804的表面固定连接有支撑板806,支撑板806的表面螺纹连接有螺杆807,螺杆807的一端转动连接有压板808,压板808靠近螺杆807的一侧固定连接有两个限位杆809,限位杆809远离压板808的一端滑动贯穿支撑板806,两个限位盘802彼此靠近的一侧均固定连接有若干个圆弧板811,若干个圆弧板811均匀分布在限位盘802的表面。
26.其整个限位装置8达到的效果为,通过设置限位装置8,当需要对卷膜进行限位时,先转动螺杆807,使螺杆807带动压板808从滑板805的表面脱离,接着拉动两个滑环801,使两个滑环801沿着收卷筒6的圆弧面滑动,两个滑环801滑动时,滑板805会在滑框804的内壁滑动,达到了调节对卷膜限位宽度的效果,当滑动到合适位置时,转动螺杆807,使螺杆807带动压板808重新挤压在滑板805的表面,压板808移动时会带动限位杆809沿着支撑板806的表面滑动,限位杆809起到了限制压板808移动位置的效果,压板808挤压在滑板805上后,转动挤压杆810,使圆环92上的挤压杆810借助螺纹挤压在收卷筒6上,达到了固定滑环801位置的效果,然后启动伺服电机5,伺服电机5借助主动轮、从动轮以及皮带带动两个收卷筒6转动,对分切好的膜料7进行收卷,膜料7收卷时会与圆弧板811的圆弧面发生滑动,圆弧板811起到了减小限位盘802表面与膜料7之间摩擦力的效果,两个限位盘802起到了对处于收卷状态膜料7进行限位的效果,通过设置限位装置8,达到了方便操作人员快速对收卷筒6上的膜料7进行限位的效果,通过设置滑框804和滑板805达到了可以根据所收卷膜料7的不同宽度来调节限位宽度,进而提高了午夜免费福利的工作效率以及对不同收卷尺寸膜料7的适配性。
27.如图1和图3所示,滚筒3的圆弧面设有润滑装置9,润滑装置9包括海绵套91,海绵套91的内壁与滚筒3滑动连接,海绵套91的圆弧面固定连接有圆环92,圆环92的圆弧面连通有塑料瓶93,塑料瓶93的上端卡接有圆盖94,圆环92的圆弧面固定连接有拉手95,拉手95的横截面呈“t”形,圆环92的表面固定连接有弹性绳96,弹性绳96远离圆环92的一端固定连接有弹性绳96,弹性绳96远离圆环92的一端固定连接有转动板97,转动板97远离弹性绳96的一端与机架2转动连接。
28.其整个的润滑装置9达到的效果为,通过设置润滑装置9,在将膜料7套在滚筒3上准备进行分切前,先打开塑料瓶93上的圆盖94,然后将润滑油倒入塑料瓶93中,接着按压塑料瓶93,使塑料瓶93内的润滑油流入到海绵套91上,接着拉动拉手95,使拉手95带动海绵套91沿着滚筒3的圆弧面滑动,海绵套91中浸入的润滑油会涂抹到滚筒3上,接着转动拉手95,
使拉手95带动海绵套91沿着滚筒3的圆弧面转动,达到了均匀涂抹的效果,此时转动板97会跟随发生转动,当移动到合适位置后,松开拉手95,弹性绳96会给圆环92拉力,使圆环92滑动到原来位置,达到了方便下次使用的效果,然后再将膜料7放在滚筒3上,通过设置润滑装置9,达到了提高午夜免费福利拉动分切前膜料7进行转动的转动效率,涂抹润滑油后的滚筒3还可以起到了防锈的效果,在一定程度上提高了午夜免费福利的工作效率。
29.以上所述,仅是本实用新型的较佳实施例而已,并非是对本实用新型作其它形式的限制,任何熟悉本专业的技术人员可能利用上述揭示的技术内容加以变更或改型为等同变化的等效实施例应用于其它领域,但是凡是未脱离本实用新型技术方案内容,依据本实用新型的技术实质对以上实施例所作的任何简单修改、等同变化与改型,仍属于本实用新型技术方案的保护范围。
技术特征:
1.一种午夜免费福利卷膜防跑偏装置,包括垫板(1)和限位装置(8),其特征在于:所述垫板(1)的上表面安装有机架(2),所述机架(2)的表面固定安装有滚筒(3),所述滚筒(3)的圆弧面安装有膜料(7),所述垫板(1)的上表面借助螺栓固定安装有安装板(4),所述安装板(4)的表面固定连接有伺服电机(5),所述伺服电机(5)的输出轴固定安装有主动轮,主动轮的圆弧面传动连接有皮带,皮带的表面传动连接有从动轮,主动轮和从动轮的表面均与机架(2)转动连接,主动轮和从动轮的表面均固定安装有收卷筒(6),两个所述收卷筒(6)的另一端均与机架(2)转动连接,所述收卷筒(6)的圆弧面设有限位装置(8),所述限位装置(8)包括滑环(801),所述滑环(801)的表面螺纹连接有挤压杆(810),两个所述滑环(801)彼此靠近的一侧均固定连接有限位盘(802)。2.根据权利要求1所述的一种午夜免费福利卷膜防跑偏装置,其特征在于:两个所述滑环(801)的表面均固定连接有伸缩杆(803),两个所述伸缩杆(803)的输出轴分别固定连接有滑框(804)和滑板(805),所述滑框(804)的内壁与滑板(805)滑动连接,所述滑框(804)的表面固定连接有支撑板(806),所述支撑板(806)的表面螺纹连接有螺杆(807),所述螺杆(807)的一端转动连接有压板(808)。3.根据权利要求2所述的一种午夜免费福利卷膜防跑偏装置,其特征在于:所述压板(808)靠近螺杆(807)的一侧固定连接有两个限位杆(809),所述限位杆(809)远离压板(808)的一端滑动贯穿支撑板(806)。4.根据权利要求1所述的一种午夜免费福利卷膜防跑偏装置,其特征在于:两个所述限位盘(802)彼此靠近的一侧均固定连接有若干个圆弧板(811),若干个所述圆弧板(811)均匀分布在限位盘(802)的表面。5.根据权利要求1所述的一种午夜免费福利卷膜防跑偏装置,其特征在于:所述滚筒(3)的圆弧面设有润滑装置(9),所述润滑装置(9)包括海绵套(91),所述海绵套(91)的内壁与滚筒(3)滑动连接,所述海绵套(91)的圆弧面固定连接有圆环(92),所述圆环(92)的圆弧面连通有塑料瓶(93),所述塑料瓶(93)的上端卡接有圆盖(94)。6.根据权利要求5所述的一种午夜免费福利卷膜防跑偏装置,其特征在于:所述圆环(92)的圆弧面固定连接有拉手(95),所述拉手(95)的横截面呈“t”形。7.根据权利要求5所述的一种午夜免费福利卷膜防跑偏装置,其特征在于:所述圆环(92)的表面固定连接有弹性绳(96),所述弹性绳(96)远离圆环(92)的一端固定连接有弹性绳(96),所述弹性绳(96)远离圆环(92)的一端固定连接有转动板(97),所述转动板(97)远离弹性绳(96)的一端与机架(2)转动连接。
技术总结
本实用新型提供一种午夜免费福利卷膜防跑偏装置,涉及午夜免费福利技术领域,本实用新型包括垫板和限位装置,所述垫板的上表面安装有机架,所述机架的表面固定安装有滚筒,所述滚筒的圆弧面安装有膜料,所述垫板的上表面借助螺栓固定安装有安装板,所述安装板的表面固定连接有伺服电机,所述伺服电机的输出轴固定安装有主动轮,主动轮的圆弧面传动连接有皮带,皮带的表面传动连接有从动轮,主动轮和从动轮的表面均与机架转动连接。本实用新型,解决了传统午夜免费福利的受卷轴较为光滑,并且对分切好的卷膜限位效果较差,在对卷膜进行收卷时,卷膜容易发生偏移,因此往往需要复卷,在一定程度上降低了午夜免费福利工作效率的问题。午夜免费福利工作效率的问题。午夜免费福利工作效率的问题。
技术研发人员:王少明
受保护的技术使用者:浙江中威时和新午夜精品免费视频有限公司
技术研发日:2021.08.26
技术公布日:2022/2/11