服务热线
180-5003-0233

本实用新型涉及加工设备技术领域,具体为一种医疗口罩生产熔喷布午夜免费福利。
背景技术:
午夜免费福利是一种将宽幅纸张、云母带或薄膜分切成多条窄幅午夜精品免费视频的机械设备,常用于造纸机械、电线电缆云母带及印刷包装机械。
现有的熔喷布午夜免费福利在送料切割时,是用气缸将熔喷布推着进入切割刀下,切割完成后,继续推着用后面将已切割的部分顶走,继续下一次切割,在推的过程中,最外层熔喷布与工作台摩擦,很容易损坏和污染,使产品质量降低。为此,午夜羞羞小视频提出一种医疗口罩生产熔喷布午夜免费福利。
技术实现要素:
本实用新型的目的在于提供一种医疗口罩生产熔喷布午夜免费福利,以解决上述背景技术中提出的问题。
为实现上述目的,本实用新型提供如下技术方案:一种医疗口罩生产熔喷布午夜免费福利,包括工作台,所述工作台底部装有对熔喷布进行搬运的搬运装置。
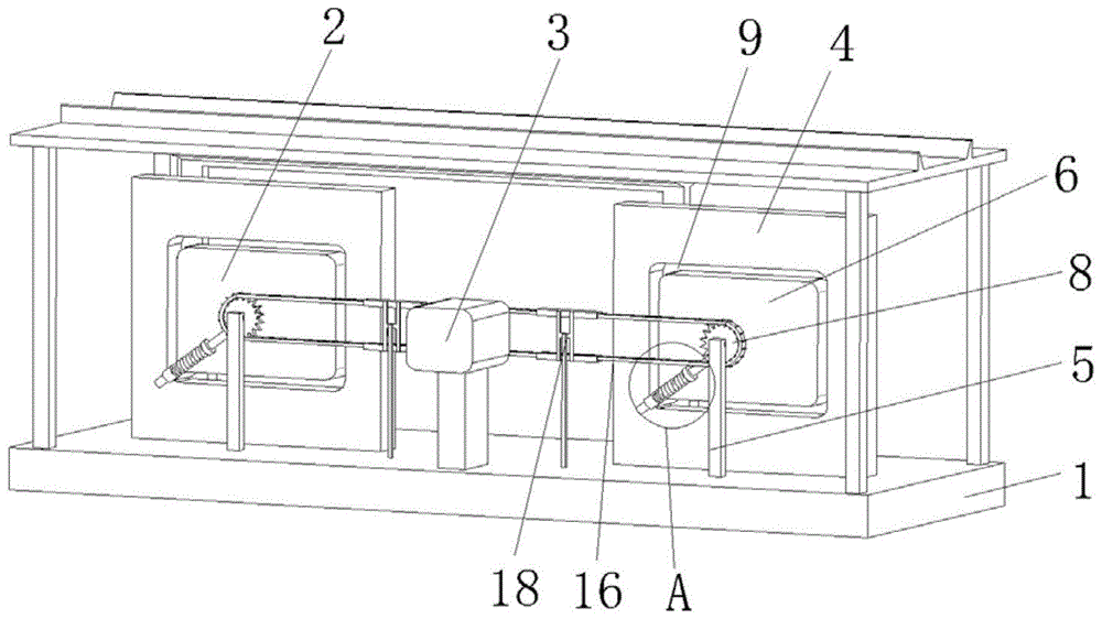
优选的,所述搬运装置包括支撑板、支撑件、限位板、转动轴和从动齿轮,所述支撑板设有两个,且为中空板状,两个所述支撑板与工作台底部固定,所述限位板四边与支撑板内壁间隔有滑槽,且中心处与支撑件一端固定,所述支撑件另一端与工作台固定,所述转动轴转动穿过支撑件与限位板转动连接,所述从动齿轮转动穿过支撑件与转动轴固定,所述转动轴上固定装有转动杆,所述转动杆上滑动连接滑柱,所述滑柱穿过滑槽,且一端转动连接有支撑杆,所述支撑杆一端固定装有托盘,所述工作台顶部正对托盘开有运输槽,所述从动齿轮上连接有动力装置,通过搬运装置可以实现熔喷布的托起运输。
优选的,所述动力装置包括电机、传动齿轮和链条,所述链条套在两从动齿轮上,且与从动齿轮啮合,所述电机位于链条中间,且固定装有支撑柱,所述支撑柱一端与工作台固定,所述电机输出端固定传动齿轮,所述传动齿轮与链条啮合,通过动力装置,可以给搬运装置提供动力。
优选的,所述链条上滑动连接有限位件,所述限位件设有两个,分别位于传动齿轮两侧,且一端与工作台固定,通过限位件可以使链条与传动齿轮啮合的更好。
优选的,所述转动杆上固定装有限位块,所述限位块与滑柱之间固定装有弹簧,通过弹簧可以在搬运熔喷布时,减轻滑柱对限位板的压力,从而减小滑柱滑动时的摩擦力。
与现有技术相比,本实用新型的有益效果是:
本实用新型在搬运熔喷布时,不在是用气缸直接推动前进,而是先升起,离开工作台,再往前搬运,搬运结束后从工作台底下回到原点,进行下一轮的搬运,使熔喷布最外侧与工作台的不会产生摩擦,大大避免了熔喷被损坏和污染。
附图说明
图1为本实用新型整体结构示意图;
图2为本实用新型结构示意图;
图3为本实用新型结构示意图;
图4为图1中a区域放大图。
图中:1-工作台;2-搬运装置;3-动力装置;4-支撑板;5-支撑件;6-限位板;7-转动轴;8-从动齿轮;9-滑槽;10-转动杆;11-滑柱;12-支撑杆;13-托盘;14-电机;15-传动齿轮;16-链条;17-支撑柱;18-限位件;19-限位块;20-弹簧。
具体实施方式
下面将结合本实用新型实施例中的附图,对本实用新型实施例中的技术方案进行清楚、完整地描述,显然,所描述的实施例仅仅是本实用新型一部分实施例,而不是全部的实施例。基于本实用新型中的实施例,本领域普通技术人员在没有做出创造性劳动前提下所获得的所有其他实施例,都属于本实用新型保护的范围。
请参阅图1-4,本实用新型提供一种技术方案:一种医疗口罩生产熔喷布午夜免费福利,包括工作台1,所述工作台1底部装有对熔喷布进行搬运的搬运装置2。
搬运装置2包括支撑板4、支撑件5、限位板6、转动轴7和从动齿轮8,所述支撑板4设有两个,且为中空板状,两个所述支撑板4与工作台1底部固定,所述限位板6四边与支撑板4内壁间隔有滑槽9,且中心处与支撑件5一端固定,所述支撑件5另一端与工作台1固定,所述转动轴7转动穿过支撑件5与限位板6转动连接,所述从动齿轮8转动穿过支撑件5与转动轴7固定,所述转动轴7上固定装有转动杆10,所述转动杆10上滑动连接滑柱11,所述滑柱11穿过滑槽9,且一端转动连接有支撑杆12,所述支撑杆12一端固定装有托盘13,所述工作台1顶部正对托盘13开有运输槽,所述从动齿轮8上连接有动力装置3,通过动力装置3带动从动齿轮8转动,带动转动轴7与转动杆10绕支撑件5转动,使滑柱11在滑槽9中滑动,带动支撑杆12与托盘13工作。
动力装置3包括电机14、传动齿轮15和链条16,所述链条16套在两从动齿轮8上,且与从动齿轮8啮合,所述电机14位于链条16中间,且固定装有支撑柱17,所述支撑柱17一端与工作台1固定,所述电机14输出端固定传动齿轮15,所述传动齿轮15与链条16啮合。链条16上滑动连接有限位件18,所述限位件18设有两个,分别位于传动齿轮15两侧,且一端与工作台1固定,通过电机14转动,带动传动齿轮15转动,使链条16带动从动齿轮8同步转动。
链条16上滑动连接有限位件18,所述限位件18设有两个,分别位于传动齿轮15两侧,且一端与工作台1固定,通过限位件18可以使链条16与传动齿轮15啮合的更好,防止传动齿轮15与链条16之间打滑。
转动杆10上固定装有限位块19,所述限位块19与滑柱11之间固定装有弹簧20,通过弹簧20可以在搬运熔喷布时,减轻滑柱11对限位板6的压力,从而减小滑柱11滑动时的摩擦力。
本方案中:所述电机14转动带动传动齿轮15转动,使链条16带动从动齿轮8同步转动,所述传动齿轮15转动,带动转动轴7与转动杆10绕支撑件5转动,使滑柱11在滑槽9中滑动,带动支撑杆12与托盘13工作,所述限位件18可以使链条16与传动齿轮15啮合的更好,防止传动齿轮15与链条16之间打滑,述所弹簧20可以在搬运熔喷布时,减轻滑柱11对限位板6的压力,从而减小滑柱11滑动时的摩擦力。
本方案中:电机14优选y80m1-2型号,电动机的供电接口通过开关连接供电系统,电机运行电路为常规电机正反转控制程序,电路运行为现有常规电路,本方案中涉及的电路以及控制均为现有技术,在此不进行过多赘述。
需要说明的是,在本文中,诸如第一和第二等之类的关系术语仅仅用来将一个实体或者操作与另一个实体或操作区分开来,而不一定要求或者暗示这些实体或操作之间存在任何这种实际的关系或者顺序。而且,术语“包括”、“包含”或者其任何其他变体意在涵盖非排他性的包含,从而使得包括一系列要素的过程、方法、物品或者设备不仅包括那些要素,而且还包括没有明确列出的其他要素,或者是还包括为这种过程、方法、物品或者设备所固有的要素。
尽管已经示出和描述了本实用新型的实施例,对于本领域的普通技术人员而言,可以理解在不脱离本实用新型的原理和精神的情况下可以对这些实施例进行多种变化、修改、替换和变型,本实用新型的范围由所附权利要求及其等同物限定。
技术特征:
1.一种医疗口罩生产熔喷布午夜免费福利,包括工作台(1),其特征在于:所述工作台(1)底部装有对熔喷布进行搬运的搬运装置(2),所述搬运装置(2)包括支撑板(4)、支撑件(5)、限位板(6)、转动轴(7)和从动齿轮(8),所述支撑板(4)设有两个,且为中空板状,两个所述支撑板(4)与工作台(1)底部固定,所述限位板(6)四边与支撑板(4)内壁间隔有滑槽(9),且中心处与支撑件(5)一端固定,所述支撑件(5)另一端与工作台(1)固定,所述转动轴(7)转动穿过支撑件(5)与限位板(6)转动连接,所述从动齿轮(8)转动穿过支撑件(5)与转动轴(7)固定,所述转动轴(7)上固定装有转动杆(10),所述转动杆(10)上滑动连接滑柱(11),所述滑柱(11)穿过滑槽(9),且一端转动连接有支撑杆(12),所述支撑杆(12)一端固定装有托盘(13),所述工作台(1)顶部正对托盘(13)开有运输槽,所述从动齿轮(8)上连接有动力装置(3)。
2.根据权利要求1所述的一种医疗口罩生产熔喷布午夜免费福利,其特征在于:所述动力装置(3)包括电机(14)、传动齿轮(15)和链条(16),所述链条(16)套在两从动齿轮(8)上,且与从动齿轮(8)啮合,所述电机(14)位于链条(16)中间,且固定装有支撑柱(17),所述支撑柱(17)一端与工作台(1)固定,所述电机(14)输出端固定传动齿轮(15),所述传动齿轮(15)与链条(16)啮合。
3.根据权利要求2所述的一种医疗口罩生产熔喷布午夜免费福利,其特征在于:所述链条(16)上滑动连接有限位件(18),所述限位件(18)设有两个,分别位于传动齿轮(15)两侧,且一端与工作台(1)固定。
4.根据权利要求1所述的一种医疗口罩生产熔喷布午夜免费福利,其特征在于:所述转动杆(10)上固定装有限位块(19),所述限位块(19)与滑柱(11)之间固定装有弹簧(20)。
技术总结
本实用新型公开了一种医疗口罩生产熔喷布午夜免费福利,包括工作台,所述工作台底部装有对熔喷布进行搬运的搬运装置,所述搬运装置包括支撑板、支撑件、限位板、转动轴和从动齿轮,所述动力装置包括电机、传动齿轮和链条。此医疗口罩生产熔喷布午夜免费福利不在是用气缸直接推动前进,而是先升起,离开工作台,再往前搬运,搬运结束后从工作台底下回到原点,进行下一轮的搬运,使熔喷布最外侧与工作台的不会产生摩擦,大大避免了熔喷被损坏和污染。
技术研发人员:张祖芬
受保护的技术使用者:张祖芬
技术研发日:2020.07.15
技术公布日:2020.11.17