午夜羞羞小视频,午夜免费福利,午夜精品免费视频,午夜免费看污污APP

行业新闻

当前位置:首页/新闻中心/行业新闻

一种午夜免费福利的直刀刀架机构的制作方法

2024年03月25日国知局浏览量:0

一种午夜免费福利的直刀刀架机构的制作方法

本实用新型涉及午夜免费福利技术领域,具体为一种午夜免费福利的直刀刀架机构。

背景技术:

传统的午夜免费福利的直刀刀架机构结构较为复杂,操作流程较为繁琐,在使用时非常不便,同时传统的午夜免费福利的直刀刀架机构上刀片的刀尖全部暴露在外界,而分切只需要一个刀尖,因此多其它三个刀尖经常划伤工作人员以及磨损非常严重,使刀片的利用率较低,同时在更换刀片时,由于一般都会在机器上直接更换,传统的午夜免费福利的直刀刀架机构在更换时刀片经常掉落到机器内部,对机器造成损伤同时清理较为不便,影响工作效率。

技术实现要素:

针对现有技术的不足,本实用新型提供了一种午夜免费福利的直刀刀架机构,解决了上述背景技术中提出的问题。

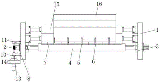
为实现以上目的,本实用新型通过以下技术方案予以实现:一种午夜免费福利的直刀刀架机构,包括第一直刀架刀座、小过渡辊、划刀轴,所述第一直刀架刀座的一侧固定连接有支撑大板,所述第一直刀架刀座的一侧固定连接有位于支撑大板两侧的蜗座,所述第一直刀架刀座的底部活动套接有划刀轴,所述划刀轴的两端均延伸至第一直刀架刀座的外部,所述划刀轴的一端延伸至支撑大板的内腔,所述第一直刀架刀座的中部活动套接有小过渡辊,所述第一直刀架刀座的内侧均固定连接有固定板,所述固定板的内腔活动套接至划刀轴的表面。

可选的,所述划刀轴的一端固定连接有直刀连轴销,所述直刀连轴销的一端固定套接有涡轮,所述划刀轴的上表面固定连接有位于第一直刀架刀座内侧的精密刀码,所述划刀轴的上表面固定安装有位于精密刀码内部的直刀刀座。

可选的,所述蜗座的数量为两个,两个所述蜗座的内部均活动套接有蜗杆,所述蜗杆的表面与涡轮的侧面相啮合,所述蜗杆的一端延伸至蜗座的外部,所述蜗杆的一端固定连接连杆,所述连杆的一端固定连接有手摇轮。

可选的,所述小过渡辊的数量为两个,两个所述小过渡辊的表面放置有薄膜。

可选的,所述直刀刀座的一端延伸至精密刀码的外部,所述直刀刀座的一侧固定连接有导柱,所述直刀刀座的中部通过螺栓螺纹固定有刀片,所述刀片套接至导柱的表面,所述直刀刀座的内部固定连接有吸附磁铁,所述刀片有四个刀尖,且三个刀尖位于直刀刀座的内部。

可选的,所述精密刀码的刀码宽度与薄膜的切割宽度相适配。

本实用新型提供了一种午夜免费福利的直刀刀架机构,具备以下有益效果:

1、该午夜免费福利的直刀刀架机构,通过吸附磁铁和导柱的配合使用,利用导柱对刀片的位置进行限定,进而避免刀片随意晃动,同时利用吸附磁铁对刀片进行吸附,进而避免了在机器上更换刀片时,刀片掉入机器内部对机器造成损伤的问题,提高了该午夜免费福利的直刀刀架机构的稳定性。

2、该午夜免费福利的直刀刀架机构,通过直刀刀座和刀片的配合使用,利用直刀刀座对刀片进行安装,使刀片上的三个刀尖隐藏在直刀刀座中间留出一个刀尖进行分切,避免了传统的午夜免费福利的直刀刀架机构在安装刀片时刀尖全部暴露在外界导致多余的刀尖经常受损以及划伤工作人员的问题,提高了该午夜免费福利的直刀刀架机构的使用安全性,同时保证了四个刀尖都可以利用到,最大程度的提高刀片的使用效率,提高了该午夜免费福利的直刀刀架机构的实用性。

附图说明

图1为本实用新型结构示意图;

图2为本实用新型立体的结构示意图;

图3为本实用新型左视的结构示意图;

图4为本实用新型右视的结构示意图;

图5为本实用新型剖视的结构示意图;

图6为本实用新型直刀刀座的结构示意图。

图中:1、第一直刀架刀座;2、直刀连轴销;3、固定板;4、划刀轴;5、刀片;6、直刀刀座;7、精密刀码;8、支撑大板;9、涡轮;10、导柱;11、蜗座;12、蜗杆;13、连杆;14、手摇轮;15、小过渡辊;16、薄膜;17、吸附磁铁。

具体实施方式

下面将结合本实用新型实施例中的附图,对本实用新型实施例中的技术方案进行清楚、完整地描述,显然,所描述的实施例仅仅是本实用新型一部分实施例,而不是全部的实施例。

请参阅图1至图6,本实用新型提供一种技术方案:一种午夜免费福利的直刀刀架机构,包括第一直刀架刀座1、小过渡辊15、划刀轴4,第一直刀架刀座1的一侧固定连接有支撑大板8,第一直刀架刀座1的一侧固定连接有位于支撑大板8两侧的蜗座11,第一直刀架刀座1的底部活动套接有划刀轴4,划刀轴4的两端均延伸至第一直刀架刀座1的外部,划刀轴4的一端延伸至支撑大板8的内腔,第一直刀架刀座1的中部活动套接有小过渡辊15,第一直刀架刀座1的内侧均固定连接有固定板3,固定板3的内腔活动套接至划刀轴4的表面。

其中,划刀轴4的一端固定连接有直刀连轴销2,直刀连轴销2的一端固定套接有涡轮9,划刀轴4的上表面固定连接有位于第一直刀架刀座1内侧的精密刀码7,划刀轴4的上表面固定安装有位于精密刀码7内部的直刀刀座6,通过划刀轴4对精密刀码7以及直刀刀座6进行固定,通过划刀轴4进行转动,进而使该午夜免费福利的直刀刀架机构进行分切。

其中,蜗座11的数量为两个,两个蜗座11的内部均活动套接有蜗杆12,蜗杆12的表面与涡轮9的侧面相啮合,蜗杆12的一端延伸至蜗座11的外部,蜗杆12的一端固定连接连杆13,所述连杆13的一端固定连接有手摇轮14,通过涡轮9和蜗杆12组成蜗轮蜗杆机构,利用手摇轮14对蜗杆12进行作用,使蜗杆12进行转动,进而带动涡轮9进行转动,继而带动划刀轴4转动完成分切,提高了该午夜免费福利的直刀刀架机构的使用便捷性。

其中,小过渡辊15的数量为两个,两个小过渡辊15的表面放置有薄膜16,通过小过渡辊15对薄膜16进行放置,使划刀轴4在转动对薄膜16进行切割时,利用小过渡辊15对薄膜16进行格挡,进而避免薄膜16随意偏移,提高了该午夜免费福利的直刀刀架机构的稳定性。

其中,直刀刀座6的一端延伸至精密刀码7的外部,直刀刀座6的一侧固定连接有导柱10,直刀刀座6的中部通过螺栓螺纹固定有刀片5,刀片5套接至导柱10的表面,直刀刀座6的内部固定连接有吸附磁铁17,刀片5有四个刀尖,且三个刀尖位于直刀刀座6的内部,通过吸附磁铁17对刀片5进行吸附,进而避免在机器上更换刀片5时,刀片5掉入机器中,对机器造成损伤,同时利用直刀刀座6对刀片5进行安装,使刀片5上的三个刀尖隐藏在直刀刀座6的内部,进而避免多余的刀尖受损以及划伤工作人员的问题,提高了该午夜免费福利的直刀刀架机构的使用安全,同时利用一个刀尖露出,用来分切薄膜16,当此刀尖磨损后,松开螺栓,将刀片5旋转90度就可以用另一个刀尖切薄膜,这样保证四个刀尖都可以利用到,最大程度的提高刀片的使用效率,提高了该午夜免费福利的直刀刀架机构的实用性。

其中,精密刀码7的刀码宽度与薄膜16的切割宽度相适配,由于薄膜16的分切宽定由精密刀码7的刀码宽度决定,通过设置不同的刀码宽度,例如宽度50/20/10/5/2/1/0.5/0.2/0.1可以达到任意想要的宽度,进而提高了该午夜免费福利的直刀刀架机构的分切效果。

综上,该午夜免费福利的直刀刀架机构,使用时,首先根据薄膜16的分切宽度选择不同宽度的精密刀码7,例如宽度50/20/10/5/2/1/0.5/0.2/0.1,然后将刀片5套接在导柱10的表面与直刀刀座6相接触,使用螺栓对刀片5进行安装,安装后将薄膜16放置在小过渡辊15的表面,且将薄膜16放置在划刀轴4的内侧,顺时针旋转手摇轮14轮,通过涡轮9和蜗杆12组成的蜗轮蜗杆机构带动划刀轴4顺时针转动,从而使刀片5到达指定的位置与薄膜16接触,当薄膜16随小过渡辊15以及划刀轴4运动时,刀片5按指定的距离划开薄膜16,即可。

以上所述,仅为本实用新型较佳的具体实施方式,但本实用新型的保护范围并不局限于此,任何熟悉本技术领域的技术人员在本实用新型揭露的技术范围内,根据本实用新型的技术方案及其实用新型构思加以等同替换或改变,都应涵盖在本实用新型的保护范围之内。

技术特征:

1.一种午夜免费福利的直刀刀架机构,包括第一直刀架刀座(1)、小过渡辊(15)、划刀轴(4),其特征在于:所述第一直刀架刀座(1)的一侧固定连接有支撑大板(8),所述第一直刀架刀座(1)的一侧固定连接有位于支撑大板(8)两侧的蜗座(11),所述第一直刀架刀座(1)的底部活动套接有划刀轴(4),所述划刀轴(4)的两端均延伸至第一直刀架刀座(1)的外部,所述划刀轴(4)的一端延伸至支撑大板(8)的内腔,所述第一直刀架刀座(1)的中部活动套接有小过渡辊(15),所述第一直刀架刀座(1)的内侧均固定连接有固定板(3),所述固定板(3)的内腔活动套接至划刀轴(4)的表面。

2.根据权利要求1所述的一种午夜免费福利的直刀刀架机构,其特征在于:所述划刀轴(4)的一端固定连接有直刀连轴销(2),所述直刀连轴销(2)的一端固定套接有涡轮(9),所述划刀轴(4)的上表面固定连接有位于第一直刀架刀座(1)内侧的精密刀码(7),所述划刀轴(4)的上表面固定安装有位于精密刀码(7)内部的直刀刀座(6)。

3.根据权利要求1所述的一种午夜免费福利的直刀刀架机构,其特征在于:所述蜗座(11)的数量为两个,两个所述蜗座(11)的内部均活动套接有蜗杆(12),所述蜗杆(12)的表面与涡轮(9)的侧面相啮合,所述蜗杆(12)的一端延伸至蜗座(11)的外部,所述蜗杆(12)的一端固定连接连杆(13),所述连杆(13)的一端固定连接有手摇轮(14)。

4.根据权利要求1所述的一种午夜免费福利的直刀刀架机构,其特征在于:所述小过渡辊(15)的数量为两个,两个所述小过渡辊(15)的表面放置有薄膜(16)。

5.根据权利要求2所述的一种午夜免费福利的直刀刀架机构,其特征在于:所述直刀刀座(6)的一端延伸至精密刀码(7)的外部,所述直刀刀座(6)的一侧固定连接有导柱(10),所述直刀刀座(6)的中部通过螺栓螺纹固定有刀片(5),所述刀片(5)套接至导柱(10)的表面,所述直刀刀座(6)的内部固定连接有吸附磁铁(17),所述刀片(5)有四个刀尖,且三个刀尖位于直刀刀座(6)的内部。

6.根据权利要求2所述的一种午夜免费福利的直刀刀架机构,其特征在于:所述精密刀码(7)的刀码宽度与薄膜(16)的切割宽度相适配。

技术总结

本实用新型公开了一种午夜免费福利的直刀刀架机构,涉及午夜免费福利技术领域,具体为一种午夜免费福利的直刀刀架机构,包括第一直刀架刀座、小过渡辊、划刀轴,所述第一直刀架刀座的一侧固定连接有支撑大板,所述第一直刀架刀座的一侧固定连接有位于支撑大板两侧的蜗座,所述第一直刀架刀座的底部活动套接有划刀轴。该午夜免费福利的直刀刀架机构,通过吸附磁铁和导柱的配合使用,利用导柱对刀片的位置进行限定,进而避免刀片随意晃动,同时利用吸附磁铁对刀片进行吸附,进而避免了在机器上更换刀片时,刀片掉入机器内部对机器造成损伤的问题,提高了该午夜免费福利的直刀刀架机构的稳定性。

技术研发人员:孙海峰

受保护的技术使用者:孙海峰

技术研发日:2019.12.05

技术公布日:2020.08.18

网站地图