午夜羞羞小视频,午夜免费福利,午夜精品免费视频,午夜免费看污污APP

行业新闻

当前位置:首页/新闻中心/行业新闻

一种钢带午夜免费福利及其分切方法与流程

2024年03月26日国知局浏览量:0

一种钢带午夜免费福利及其分切方法与流程

本发明涉及钢带加工的技术领域,特别是钢带午夜免费福利及其分切方法的技术领域。

背景技术:

钢带又称带钢,是宽度在1300mm以内,长度根据每卷的大小略有不同。带钢一般成卷供应,具有尺寸精度高、表面质量好、便于加工、节省午夜精品免费视频等优点。钢带在成卷购买后,需要进行分条,分切成所需规格的带条,再进行使用。除了钢带外,还有不锈钢带、铝带等,均需要同样的设备操作。现有设备中,存在钢带送料不稳定、分切不彻底、分切不匀等问题。为此,需要一种新型钢槽午夜免费福利以解决上述问题。

技术实现要素:

本发明的目的就是解决现有技术中的问题,提出一种钢带午夜免费福利及其分切方法,能够利用保持辊、压料架、送料辊进行钢带的装夹输送,输送更为平直,送料稳定;能够利用等距置设的切刀对钢带进行均匀切割;能够调节送料辊之间的间距,利用压力辊与送料辊的结合使用,给钢带施加压力,从而分切更彻底。

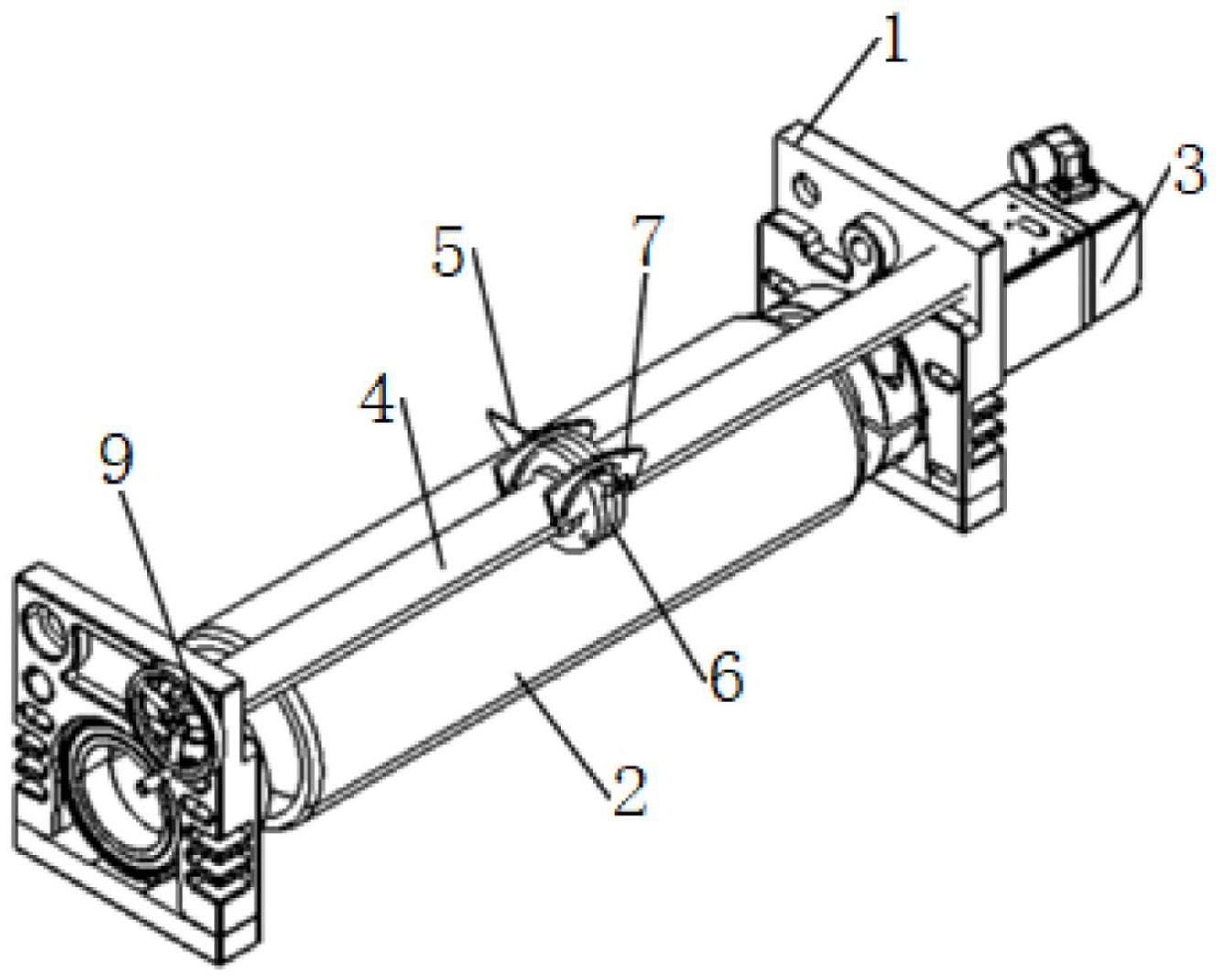
为实现上述目的,本发明提出了一种钢带午夜免费福利,包括机架、保持辊组件、电机、联轴器、传动结构、齿轮组、压力辊、切刀结构、送料调节架、送料辊、压料架、分切部底板、电机座和电机底板,机架左前方设有保持辊组件,机架左后方设有分切部底板,分切部底板上方设有送料调节架,送料调节架上横向通过轴安装有数量为2的送料辊,送料辊前端的分切部底板上安装有压料架;所述分切部底板右方的机架上设有电机底板,电机底板上通过电机座安装有电机,电机通过联轴器连接有传动结构,传动结构两端分别与压力辊、送料辊同轴连接,压力辊同轴连接有齿轮组;所述压力辊前方的分切部底板上安装有切刀结构。

作为优选,所述机架由若干型材杆组成,机架底部设有支脚。

作为优选,所述保持辊组件包括保持辊架、保持辊、弹簧、轴和第一限位板,保持辊架为匚字型结构,保持辊架上横向置设有若干轴,轴的数量为4个;所述保持辊架上方的轴上配合有保持辊,保持辊为圆环柱状结构;所述保持辊架下方的轴上配合有弹簧,弹簧两端的轴上配合有第一限位板;所述保持辊之间配合有钢带。

作为优选,所述联轴器为链轮联轴器。

作为优选,所述传动结构为链传动结构或带传动结构;所述链传动结构包括主动链轮、从动链轮和传动链,主动链轮外径大于从动链轮外径;所述带传动结构包括主动带轮、从动带轮和传动带,主动带轮外径大于从动带轮外径。

作为优选,所述压力辊通过轴安装于压力辊架上,压力辊的数量为2个。

作为优选,所述切刀结构包括切刀、刀座、切刀架和刀架座,刀架座安装于分切部底板上,刀架座上方设有切刀架,切刀架为匚型结构,切刀架上端设有方形槽孔,切刀架上端嵌装有刀座,刀座上端中部设有方形槽孔,刀座上端嵌装有切刀。

作为优选,所述压料架包括挡板、限位螺栓、垫板、第二限位板、压料架底板和压料板,所述压料架底板安装于分切部底板上,压料架底板为t型结构,压料架底板上端两侧对称安装有挡板,挡板为l型,挡板之间的压料架底板上置设有垫板,垫板两端置设有第二限位板,垫板前后的压料架底板上均螺纹连接有限位螺栓;所述挡板后端固定有压料板,压料板下方正对垫板的后端。

为实现上述目的,本发明还提出了一种钢带的分切方法,包括以下步骤:

步骤一:装夹:先将钢带装夹进入保持辊之间,再将钢带穿过压料板,接着讲钢带装夹入送料辊之间,最后将钢带从压力辊之间穿出;

步骤二:送料辊位置调节:通过调节送料调节架调节送料辊之间的间距;

步骤三:分切:启动电机,带动压力辊、送料辊旋转,钢带下方受切刀压力切开。

本发明的有益效果:本发明能够利用保持辊、压料架、送料辊进行钢带的装夹输送,输送更为平直,送料稳定;能够利用等距置设的切刀对钢带进行均匀切割;能够调节送料辊之间的间距,利用压力辊与送料辊的结合使用,给钢带施加压力,从而分切更彻底。

本发明的特征及优点将通过实施例结合附图进行详细说明。

【附图说明】

图1是本发明一种钢带午夜免费福利及其分切方法的立体结构示意图;

图2是本发明一种钢带午夜免费福利及其分切方法的俯视结构示意图;

图3是本发明一种钢带午夜免费福利及其分切方法的保持辊组件的立体结构示意图;

图4是本发明一种钢带午夜免费福利及其分切方法的保持辊组件的主视结构示意图;

图5是本发明一种钢带午夜免费福利及其分切方法的压力辊及切刀结构的立体结构示意图;

图6是本发明一种钢带午夜免费福利及其分切方法的压料架的立体结构示意图。

图中:1-机架、2-保持辊组件、3-电机、4-联轴器、5-传动结构、6-齿轮组、7-压力辊、8-切刀结构、9-送料调节架、10-送料辊、11-压料架、12-分切部底板、13-电机座、14-电机底板、15-支脚、16-型材杆、17-保持辊架、18-保持辊、19-弹簧、20-轴、21-第一限位板、22-切刀、23-刀座、24-切刀架、25-刀架座、26-压力辊架、27-挡板、28-限位螺栓、29-垫板、30-第二限位板、31-压料架底板、32-压料板。

【具体实施方式】

参阅图1、图2、图3、图4、图5和图6,本发明,包括机架1、保持辊组件2、电机3、联轴器4、传动结构5、齿轮组6、压力辊7、切刀结构8、送料调节架9、送料辊10、压料架11、分切部底板12、电机座13和电机底板14,机架1左前方设有保持辊组件2,机架1左后方设有分切部底板12,分切部底板12上方设有送料调节架9,送料调节架9上横向通过轴安装有数量为2的送料辊10,送料辊10前端的分切部底板12上安装有压料架11;所述分切部底板12右方的机架1上设有电机底板14,电机底板14上通过电机座13安装有电机3,电机3通过联轴器4连接有传动结构5,传动结构5两端分别与压力辊7、送料辊10同轴连接,压力辊7同轴连接有齿轮组6;所述压力辊7前方的分切部底板12上安装有切刀结构8。

具体的,所述机架1由若干型材杆16组成,机架1底部设有支脚15。

具体的,所述保持辊组件2包括保持辊架17、保持辊18、弹簧19、轴20和第一限位板21,保持辊架17为匚字型结构,保持辊架17上横向置设有若干轴20,轴20的数量为4个;所述保持辊架17上方的轴20上配合有保持辊18,保持辊18为圆环柱状结构;所述保持辊架17下方的轴20上配合有弹簧19,弹簧19两端的轴上配合有第一限位板21;所述保持辊18之间配合有钢带。

具体的,所述联轴器4为链轮联轴器。

具体的,所述传动结构5为链传动结构或带传动结构;所述链传动结构包括主动链轮、从动链轮和传动链,主动链轮外径大于从动链轮外径;所述带传动结构包括主动带轮、从动带轮和传动带,主动带轮外径大于从动带轮外径。

具体的,所述压力辊7通过轴安装于压力辊架26上,压力辊7的数量为2个。

具体的,所述切刀结构8包括切刀22、刀座23、切刀架24和刀架座25,刀架座25安装于分切部底板12上,刀架座25上方设有切刀架24,切刀架24为匚型结构,切刀架24上端设有方形槽孔,切刀架24上端嵌装有刀座23,刀座23上端中部设有方形槽孔,刀座23上端嵌装有切刀22。

具体的,所述压料架11包括挡板27、限位螺栓28、垫板29、第二限位板30、压料架底板31和压料板32,所述压料架底板31安装于分切部底板12上,压料架底板31为t型结构,压料架底板31上端两侧对称安装有挡板27,挡板27为l型,挡板27之间的压料架底板31上置设有垫板29,垫板29两端置设有第二限位板30,垫板29前后的压料架底板31上均螺纹连接有限位螺栓28;所述挡板27后端固定有压料板32,压料板32下方正对垫板29的后端。

本发明,还包括以下步骤:

步骤一:装夹:先将钢带装夹进入保持辊18之间,再将钢带穿过压料板32,接着讲钢带装夹入送料辊10之间,最后将钢带从压力辊7之间穿出;

步骤二:送料辊10位置调节:通过调节送料调节架9调节送料辊10之间的间距;

步骤三:分切:启动电机3,带动压力辊7、送料辊10旋转,钢带下方受切刀22压力切开。

本发明工作过程:

本发明一种钢带午夜免费福利及其分切方法在工作过程中,结合附图进行说明。

待分切收卷的钢带于钢带筒上,钢带筒置于架子上,将钢带穿过保持辊组件2再通过压料架11,之后穿过送料辊10,最后穿过压力辊7;送料辊10的高度可以通过调整送料调节架9调节,从而改变了钢带于切刀结构8上的力;钢带在压力辊7挤压前移的过程中,下方受到切刀22的切割而等宽度切开。保持辊组件2、压料架11均为保证钢带笔直送料不晃动而设置,故而需先将钢带进行装夹。送料辊10、压力辊7的动力源均来自于电机3。

本发明,能够利用保持辊、压料架、送料辊进行钢带的装夹输送,输送更为平直,送料稳定;能够利用等距置设的切刀对钢带进行均匀切割;能够调节送料辊之间的间距,利用压力辊与送料辊的结合使用,给钢带施加压力,从而分切更彻底。

上述实施例是对本发明的说明,不是对本发明的限定,任何对本发明简单变换后的方案均属于本发明的保护范围。

技术特征:

技术总结

本发明公开了一种钢带午夜免费福利,包括机架、保持辊组件、电机、联轴器、传动结构、齿轮组、压力辊、切刀结构、送料调节架、送料辊、压料架、分切部底板、电机座和电机底板。本发明还提出了一种钢带的分切方法,包括以下步骤:步骤一:装夹;步骤二:送料辊位置调节;步骤三:分切。本发明能够利用保持辊、压料架、送料辊进行钢带的装夹输送,输送更为平直,送料稳定;能够利用等距置设的切刀对钢带进行均匀切割;能够调节送料辊之间的间距,利用压力辊与送料辊的结合使用,给钢带施加压力,从而分切更彻底。

技术研发人员:潘伟;丁君;朱伟平

受保护的技术使用者:浙江天弘新午夜精品免费视频有限公司

技术研发日:2019.04.18

技术公布日:2019.07.12

网站地图