服务热线
180-5003-0233

本实用新型涉及,特指一种纸管改切装置。
背景技术:
目前,传统的纸管改切机需要人工来调整十分的不方便而且定位精度不高。市场上有两种比较主流的机型是行星式纸管改切机或采用伺服定位的自动纸管改切机。这种主流设备可调整范围大,操作方便。
便于调整纸管长度,确保纸管的长度。然而,这类设备体积均比较大,且结构复杂,设备成本高,不适用于中小型企业的小规模生产。
技术实现要素:
本实用新型的目的在于针对已有的技术现状,提供一种纸管改切装置,具有较为简单的结构,实现纸管改切的自动调整功能,性价比高。
为达到上述目的,本实用新型采用如下技术方案:
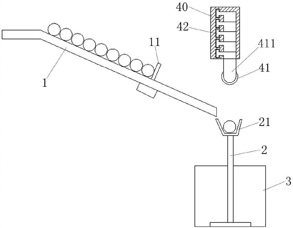
本实用新型为一种纸管改切装置,主要包括纸管输送架、纸管托架及切割组件,所述纸管输送架倾斜设置,且纸管输送架下方出口对接纸管托架,所述纸管托架上方为切割组件,下方为集料桶,所述切割组件具有若干切刀及各切刀所对应的调节滑轨,所述各调节滑轨一侧均设有气缸,气缸通过调节滑轨分别驱动对应切刀左右平移。
上述方案中,纸管托架为至少设立于纸管托架两端的敞口托架组成。
进一步的,纸管输送架中设有活动挡板,活动挡板由正反电机驱动。
进一步的,各调节滑轨竖直均匀排布于模板上。
进一步的,切刀通过切刀座与对应的调节滑轨连接,对应的气缸的驱动杆固定连接切刀座的一端,通过推拉位于调节滑轨中切刀座的一端使切刀左右平移。
进一步的,切刀由对应切刀座上设置的电机进行驱动。
本实用新型的有益效果为:
1.系统自动调配,逐个输送纸管进行改切;
2.精确调整切刀间距,满足纸管不同尺寸改切的需求;
3.改切后的纸管直接收集,方便转移;
4.整机体积较小,不占空间,且结构简单,成本低。
附图说明:
附图1为本实用新型的侧面结构示意图;
附图2为本实用新型的正面结构示意图。
具体实施方式:
请参阅图1、图2所示,系为本实用新型之较佳实施例的结构示意图,本实用新型为一种纸管改切装置,主要包括纸管输送架1、纸管托架2及切割组件,所述纸管输送架1倾斜设置,纸管输送架1中设有活动挡板11,活动挡板11由正反电机驱动,且纸管输送架1下方出口对接纸管托架2,可逐一输送纸管进入纸管托架2中。纸管托架2为至少设立于纸管托架2两端的敞口托架21组成,优选左、中、右三组托架21均匀间隔分布,主要用于托住纸管,在切割时提供有效支撑。纸管托架2上方为切割组件,下方为集料桶3,完成分切的纸管无法在纸管托架2上保持平衡,则全部落入集料桶3中。
上述切割组件具有若干切刀41及各切刀41所对应的调节滑轨42,各调节滑轨42竖直均匀排布于模板40上,可有效降低切割组件所占用的空间,相对于水平分布的调节滑轨,无需改变各切刀连接部分的形状,有效降低成本。其中,各调节滑轨42一侧均设有气缸4,切刀41通过切刀座411与对应的调节滑轨42连接,切刀41由对应切刀座411上设置的电机进行驱动旋转,对应的气缸4的驱动杆固定连接切刀座411的一端,通过推拉位于调节滑轨42中切刀座411的一端使切刀左右平移,可精确调节各切刀41的间距,满足纸管不同尺寸的改切需求。
当然,以上图示仅为本实用新型较佳实施方式,并非以此限定本实用新型的使用范围,故,凡是在本实用新型原理上做等效改变均应包含在本实用新型的保护范围内。
技术特征:
1.一种纸管改切装置,主要包括纸管输送架(1)、纸管托架(2)及切割组件,其特征在于:所述纸管输送架(1)倾斜设置,且纸管输送架(1)下方出口对接纸管托架(2),所述纸管托架(2)上方为切割组件,下方为集料桶(3),所述切割组件具有若干切刀(41)及各切刀(41)所对应的调节滑轨(42),所述各调节滑轨(42)一侧均设有气缸(4),气缸(4)通过调节滑轨(42)分别驱动对应切刀(41)左右平移。
2.根据权利要求1所述的一种纸管改切装置,其特征在于:所述纸管托架(2)为至少设立于纸管托架(2)两端的敞口托架(21)组成。
3.根据权利要求1或2所述的一种纸管改切装置,其特征在于:所述纸管输送架(1)中设有活动挡板(11),活动挡板(11)由正反电机驱动。
4.根据权利要求1或2所述的一种纸管改切装置,其特征在于:所述各调节滑轨(42)竖直均匀排布于模板(40)上。
5.根据权利要求4所述的一种纸管改切装置,其特征在于:所述切刀(41)通过切刀座(411)与对应的调节滑轨(42)连接,对应的气缸(4)的驱动杆固定连接切刀座(411)的一端,通过推拉位于调节滑轨(42)中切刀座(411)的一端使切刀左右平移。
6.根据权利要求5所述的一种纸管改切装置,其特征在于:所述切刀(41)由对应切刀座(411)上设置的电机进行驱动。
技术总结
本实用新型提供一种纸管改切装置,主要包括纸管输送架、纸管托架及切割组件,所述纸管输送架倾斜设置,且纸管输送架下方出口对接纸管托架,所述纸管托架上方为切割组件,下方为集料桶,所述切割组件具有若干切刀及各切刀所对应的调节滑轨,所述各调节滑轨一侧均设有气缸,气缸通过调节滑轨分别驱动对应切刀左右平移。本实用新型针对目前现有技术体积大、成本高的缺陷,设计一种适合小批量生产,且同样具有精确调节纸管改切尺寸的功能,满足部分企业需求。
技术研发人员:陈来甲
受保护的技术使用者:汕头冠华薄膜工业有限公司
技术研发日:2018.04.29
技术公布日:2018.12.14