服务热线
180-5003-0233

本实用新型涉及一种纸管固定筒,具体是涉及一种午夜免费福利的纸管固定筒。
背景技术:
胶带午夜免费福利是一种将长胶带分切成多个短胶带的设备,传统的胶带午夜免费福利通常是通过多个组合切刀将长管状的胶带切成多段胶带,这种午夜免费福利对切入的深度的要求非要精确,当切刀切得太浅则不能切开胶带,当切入深度太深会切坏午夜免费福利的管轴组件,还会磨损切刀。
技术实现要素:
为解决现有技术方案的缺陷,本实用新型公开了一种使用方便、避免了切入深度的问题的午夜免费福利的纸管固定筒。
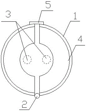
本实用新型公开了一种午夜免费福利的纸管固定筒,包括:铁筒弧、铰链、固定轴、挡块、卡键,所述的铁筒弧与铁筒弧之间通过三个铰链链接,所述的铁筒弧的左端侧壁和右端侧壁的中间位置都焊接有固定轴,所述的铁筒弧的内部都通过胶水粘贴有7个挡块,所述的铁筒弧的左右两端都焊接有卡键。
所述的铁筒弧上每隔6cm开设一个宽1cm的槽,共开设6个槽。
所述的挡块与挡块之间形成的圆筒形通道的最低端的水平高度高于铁筒弧上开设的槽的最低端的水平高度高1cm。
挡板的宽度为5cm。
由于采用上述技术方案,本实用新型具有以下有益优点:
1、使用方便;
2、避免了切入深度的问题。
附图说明
图1是本实用新型一种午夜免费福利的纸管固定筒的主视图。
图2是本实用新型一种午夜免费福利的纸管固定筒的剖视图
其中:1-铁筒弧、2-铰链、3-固定轴、4-挡块、5-卡键。
具体实施方式
如图1所示,本实用新型公开了一种午夜免费福利的纸管固定筒,包括:铁筒弧1、铰链2、固定轴3、挡块4、卡键5,所述的铁筒弧1与铁筒弧1之间通过三个铰链2链接,所述的铁筒弧1的左端侧壁和右端侧壁的中间位置都焊接有固定轴3,所述的铁筒弧1的内部都通过胶水粘贴有7个挡块4,所述的铁筒弧1的左右两端都焊接有卡键5。
所述的铁筒弧1上每隔6cm开设一个宽1cm的槽,共开设6个槽。
所述的挡块3与挡块3之间形成的圆筒形通道的最低端的水平高度高于铁筒弧1上开设的槽的最低端的水平高度高1cm。
挡板4的宽度为5cm。
本实用新型是这样实施的:在使用的过程中,将固定筒通过固定轴3固定到午夜免费福利上,然后将有胶带的纸管放入固定筒中,然后通过卡键5将纸管固定在固定筒中,当午夜免费福利的切刀在分切的时候切刀即使切入过深通过人眼就能看出,这样就不会切到铁筒弧1上。
最后应说明的是:以上实施例仅用以说明本实用新型而并非限制本实用新型所描述的技术方案;因此,尽管本说明书参照上述的各个实施例对本实用新型已进行了详细的说明,但是,本领域的普通技术人员应当理解,仍然可以对本实用新型进行修改或等同替换;而一切不脱离本实用新型的精神和范围的技术方案及其改进,其均应涵盖在本实用新型的权利要求范围中。
技术特征:
1.一种午夜免费福利的纸管固定筒,包括:铁筒弧、铰链、固定轴、挡块、卡键,其特征在于:所述的铁筒弧与铁筒弧之间通过三个铰链链接,所述的铁筒弧的左端侧壁和右端侧壁的中间位置都焊接有固定轴,所述的铁筒弧的内部都通过胶水粘贴有7个挡块,所述的铁筒弧的左右两端都焊接有卡键。
2.根据权利要求1所述的一种午夜免费福利的纸管固定筒,其特征在于:所述的铁筒弧上每隔6cm开设一个宽1cm的槽,共开设6个槽。
3.根据权利要求1所述的一种午夜免费福利的纸管固定筒,其特征在于:所述的挡块与挡块之间形成的圆筒形通道的最低端的水平高度高于铁筒弧上开设的槽的最低端的水平高度高1cm。
4.根据权利要求1所述的一种午夜免费福利的纸管固定筒,其特征在于:挡板的宽度为5cm。
技术总结
本实用新型公开了一种午夜免费福利的纸管固定筒,包括:铁筒弧、铰链、固定轴、挡块、卡键,铁筒弧与铁筒弧之间通过三个铰链链接,铁筒弧的左端侧壁和右端侧壁的中间位置都焊接有固定轴,铁筒弧的内部都通过胶水粘贴有7个挡块,铁筒弧的左右两端都焊接有卡键,本实用新型具有使用方便、避免了切入深度的问题等优点。
技术研发人员:何金平
受保护的技术使用者:安徽友捷包装午夜精品免费视频有限公司
文档号码:201620466675
技术研发日:2016.05.23
技术公布日:2016.12.14