午夜羞羞小视频,午夜免费福利,午夜精品免费视频,午夜免费看污污APP

行业新闻

当前位置:首页/新闻中心/行业新闻

一种用于纸制品加工的切管机的制作方法

2024年04月06日国知局浏览量:0

一种用于纸制品加工的切管机的制作方法

1.本实用新型涉及纸制品加工技术领域,具体为一种用于纸制品加工的切管机。

背景技术:

2.在纸制品制造中,纸管生产往往都是采用一根长纸管进行切割,最后得到符合规格的长度,在纸管切割的过程中,为了降低成本,一些企业通常采用把纸管套在一个轴上,然后使用一个刀具依次进行切割,此种方式虽然成本很低,但纸管切割效率低下,为此午夜羞羞小视频提出一种用于纸制品加工的切管机,解决以上提出的问题。

技术实现要素:

3.本实用新型的目的在于提供一种用于纸制品加工的切管机,具备纸管切割效率高的优点,解决了纸管切割效率低下的问题。

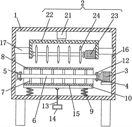
4.为实现上述目的,本实用新型提供如下技术方案:一种用于纸制品加工的切管机,包括加工箱,所述加工箱内腔的顶部设置有切割机构,所述加工箱内腔的右侧通过支撑件固定连接有第一电机,所述第一电机的输出轴固定连接有第一安装座,所述加工箱内腔的左侧通过轴承活动连接有第二安装座,所述第一安装座和第二安装座的内腔均设置有连接轴,所述连接轴的顶部和底部均固定连接有连接杆,所述连接杆远离连接轴的一端固定连接有纸管卷取槽,所述加工箱内腔底部的两侧均固定连接有弹簧,所述弹簧的顶部固定连接有限位板。

5.优选的,所述切割机构包括电动推杆,所述电动推杆的顶部与加工箱内腔的顶部固定连接,所述电动推杆的底部固定连接有加工架,所述加工架内腔的右侧固定连接有第二电机,所述第二电机的输出轴固定连接有切割刀组。

6.优选的,所述第一安装座与第二安装座内腔的顶部和底部均开设有安装孔,所述安装孔的内腔设置有螺栓。

7.优选的,所述限位板的底部固定连接有连接绳,所述连接绳的底部贯穿加工箱并延伸至加工箱的外部且固定连接有脚蹬。

8.优选的,所述纸管卷取槽的表面开设有配合切割刀组使用的通孔。

9.优选的,所述加工箱内腔的两侧均开设有滑槽,所述滑槽的内腔滑动连接有滑块,所述滑块远离滑槽的一端与加工架固定连接。

10.与现有技术相比,本实用新型的有益效果如下:

11.1、本实用新型通过加工箱、切割机构、第一电机、第一安装座、第二安装座、连接轴、连接杆和纸管卷取槽的设置,共同构建了一个用于纸制品加工的切管机,其中先通过第一电机带动纸管卷取槽对纸张卷取,而弹簧和限位板的设置,可以使得纸张能够平整的被纸管卷取槽卷取,从而可以形成一个纸管,然后再通过切割机构对卷取后的纸管进行切割,由于切割刀组有数个切割刀,因此能够一次性将纸管切割成多段,大大提高了纸管的加工效率。

12.2、本实用新型通过设置电动推杆、加工架、第二电机、切割刀组,可以启动电动推杆推动加工架向下移动,进而可以使得切割刀组同时对纸管进行切割作业;

13.通过设置安装孔和螺栓,能够方便使用者对纸管切割加工后,对连接轴和纸管卷取槽进行拆卸,可以方便使用者对切割后的纸管进行收集,然后进行下一次的作业;

14.通过设置通孔,可以利于切割刀在通孔的间隙处切割纸管,有效避免切割刀与连接轴接触,保护切割刀不被磨损。

附图说明

15.图1为本实用新型结构示意图;

16.图2为本实用新型结构中第二安装座的左视剖面图;

17.图3为本实用新型结构中连接轴的立体图;

18.图4为本实用新型结构的正视图。

19.图中:1、加工箱;2、切割机构;21、电动推杆;22、加工架;23、第二电机;24、切割刀组;3、第一电机;4、第一安装座;5、第二安装座;6、连接轴;7、连接杆;8、纸管卷取槽;9、弹簧;10、限位板;11、安装孔;12、螺栓;13、连接绳;14、脚蹬;15、通孔;16、滑槽;17、滑块。

具体实施方式

20.下面将结合本实用新型实施例中的附图,对本实用新型实施例中的技术方案进行清楚、完整地描述,显然,所描述的实施例仅仅是本实用新型一部分实施例,而不是全部的实施例。基于本实用新型中的实施例,本领域普通技术人员在没有做出创造性劳动前提下所获得的所有其他实施例,都属于本实用新型保护的范围。

21.请参阅图1‑4,一种用于纸制品加工的切管机,包括加工箱1,加工箱1内腔的顶部设置有切割机构2,加工箱1内腔的右侧通过支撑件固定连接有第一电机3,第一电机3的输出轴固定连接有第一安装座4,加工箱1内腔的左侧通过轴承活动连接有第二安装座5,第一安装座4和第二安装座5的内腔均设置有连接轴6,连接轴6的顶部和底部均固定连接有连接杆7,连接杆7远离连接轴6的一端固定连接有纸管卷取槽8,加工箱1内腔底部的两侧均固定连接有弹簧9,弹簧9的顶部固定连接有限位板10,通过加工箱1、切割机构2、第一电机3、第一安装座4、第二安装座5、连接轴6、连接杆7和纸管卷取槽8的设置,共同构建了一个用于纸制品加工的切管机,其中先通过第一电机3带动纸管卷取槽8对纸张卷取,而弹簧9和限位板10的设置,可以使得纸张能够平整的被纸管卷取槽8卷取,从而可以形成一个纸管,然后再通过切割机构2对卷取后的纸管进行切割,由于切割刀组24有数个切割刀,因此能够一次性将纸管切割成多段,大大提高了纸管的加工效率。

22.请参阅图1,切割机构2包括电动推杆21,电动推杆21的顶部与加工箱1内腔的顶部固定连接,电动推杆21的底部固定连接有加工架22,加工架22内腔的右侧固定连接有第二电机23,第二电机23的输出轴固定连接有切割刀组24,通过设置电动推杆21、加工架22、第二电机23、切割刀组24,可以启动电动推杆21推动加工架22向下移动,进而可以使得切割刀组24同时对纸管进行切割作业。

23.请参阅图2,第一安装座4与第二安装座5内腔的顶部和底部均开设有安装孔11,安装孔11的内腔设置有螺栓12,通过设置安装孔11和螺栓12,能够方便使用者对纸管切割加

工后,对连接轴6和纸管卷取槽8进行拆卸,可以方便使用者对切割后的纸管进行收集,然后进行下一次的作业。

24.请参阅图1和图4,限位板10的底部固定连接有连接绳13,连接绳13的底部贯穿加工箱1并延伸至加工箱1的外部且固定连接有脚蹬14。

25.请参阅图1和图4,纸管卷取槽8的表面开设有配合切割刀组24使用的通孔15,通过设置通孔15,可以利于切割刀在通孔15的间隙处切割纸管,有效避免切割刀与连接轴6接触,保护切割刀不被磨损。

26.请参阅图1,加工箱1内腔的两侧均开设有滑槽16,滑槽16的内腔滑动连接有滑块17,滑块17远离滑槽16的一端与加工架22固定连接。

27.使用时,使用者先脚踩脚蹬14,然后把纸张放置在限位板10与纸管卷取槽8之间,这时先让纸管卷取槽8对纸张卷取一周,松开脚蹬14,限位板10在弹簧9的弹力作用下,可以使得纸张能够平整的被纸管卷取槽8卷取,再通过第一电机3带动纸管卷取槽8对纸张卷取,从而可以形成一个纸管,然后通过启动电动推杆21推动加工架22向下移动,进而可以使得切割刀组24同时对纸管进行切割,由于切割刀组24有数个切割刀,因此能够一次性将纸管切割成多段,大大提高了纸管的加工效率,待切割完毕后,使用者通过拆卸螺栓12,可以把连接轴6和纸管卷取槽8从第一安装座4和第二安装座5上取下,方便使用者对切割后的纸管进行收集,然后再把连接轴6和纸管卷取槽8安装上,可以进行下一次的纸管卷取切割作业,最后通过设置通孔15,可以利于切割刀在通孔15的间隙处切割纸管,有效避免切割刀与连接轴6接触,保护切割刀不被磨损。

28.本技术文件的控制方式是通过控制器来自动控制,控制器的控制电路通过本领域的技术人员简单编程即可实现,属于本领域的公知常识,并且本技术文件主要用来保护机械装置,所以本技术不再详细解释控制方式和电路连接。

29.尽管已经示出和描述了本实用新型的实施例,对于本领域的普通技术人员而言,可以理解在不脱离本实用新型的原理和精神的情况下可以对这些实施例进行多种变化、修改、替换和变型,本实用新型的范围由所附权利要求及其等同物限定。

技术特征:

1.一种用于纸制品加工的切管机,包括加工箱(1),其特征在于:所述加工箱(1)内腔的顶部设置有切割机构(2),所述加工箱(1)内腔的右侧通过支撑件固定连接有第一电机(3),所述第一电机(3)的输出轴固定连接有第一安装座(4),所述加工箱(1)内腔的左侧通过轴承活动连接有第二安装座(5),所述第一安装座(4)和第二安装座(5)的内腔均设置有连接轴(6),所述连接轴(6)的顶部和底部均固定连接有连接杆(7),所述连接杆(7)远离连接轴(6)的一端固定连接有纸管卷取槽(8),所述加工箱(1)内腔底部的两侧均固定连接有弹簧(9),所述弹簧(9)的顶部固定连接有限位板(10)。2.根据权利要求1所述的一种用于纸制品加工的切管机,其特征在于:所述切割机构(2)包括电动推杆(21),所述电动推杆(21)的顶部与加工箱(1)内腔的顶部固定连接,所述电动推杆(21)的底部固定连接有加工架(22),所述加工架(22)内腔的右侧固定连接有第二电机(23),所述第二电机(23)的输出轴固定连接有切割刀组(24)。3.根据权利要求1所述的一种用于纸制品加工的切管机,其特征在于:所述第一安装座(4)与第二安装座(5)内腔的顶部和底部均开设有安装孔(11),所述安装孔(11)的内腔设置有螺栓(12)。4.根据权利要求1所述的一种用于纸制品加工的切管机,其特征在于:所述限位板(10)的底部固定连接有连接绳(13),所述连接绳(13)的底部贯穿加工箱(1)并延伸至加工箱(1)的外部且固定连接有脚蹬(14)。5.根据权利要求1所述的一种用于纸制品加工的切管机,其特征在于:所述纸管卷取槽(8)的表面开设有配合切割刀组(24)使用的通孔(15)。6.根据权利要求1所述的一种用于纸制品加工的切管机,其特征在于:所述加工箱(1)内腔的两侧均开设有滑槽(16),所述滑槽(16)的内腔滑动连接有滑块(17),所述滑块(17)远离滑槽(16)的一端与加工架(22)固定连接。

技术总结

本实用新型公开了一种用于纸制品加工的切管机,包括加工箱,所述加工箱内腔的顶部设置有切割机构,所述加工箱内腔的右侧通过支撑件固定连接有第一电机,所述第一电机的输出轴固定连接有第一安装座,本实用新型通过加工箱、切割机构、第一电机、第一安装座、第二安装座、连接轴、连接杆和纸管卷取槽的设置,共同构建了一个用于纸制品加工的切管机,其中先通过第一电机带动纸管卷取槽对纸张卷取,而弹簧和限位板的设置,可以使得纸张能够平整的被纸管卷取槽卷取,从而可以形成一个纸管,然后再通过切割机构对卷取后的纸管进行切割,由于切割刀组有数个切割刀,因此能够一次性将纸管切割成多段,大大提高了纸管的加工效率。大大提高了纸管的加工效率。大大提高了纸管的加工效率。

技术研发人员:郑爱娟

受保护的技术使用者:唐山曹妃甸区顺成纸制品加工有限公司

技术研发日:2021.01.27

技术公布日:2021/10/8

网站地图