午夜羞羞小视频,午夜免费福利,午夜精品免费视频,午夜免费看污污APP

行业新闻

当前位置:首页/新闻中心/行业新闻

一种印刷薄刀午夜免费福利用退料整合组件的制作方法

2024年04月11日国知局浏览量:0

一种印刷薄刀午夜免费福利用退料整合组件的制作方法

1.本实用新型属于印刷薄刀午夜免费福利技术领域,特别是涉及一种印刷薄刀午夜免费福利用退料整合组件。

背景技术:

2.印刷薄刀午夜免费福利作为印刷行业中最为常见的分切设备,内部大多通过辊轮和圆刀之间的配合,将运送过来的带状纸箱和纸板进行分切,经过单个分切的纸板和纸箱上将再次经过加工处理,最终应用在产品中,印刷薄刀午夜免费福利的上料通常有固定的机构,能够保障一定的生产效率,但它在实际使用中仍存在以下弊端:

3.1、现有的印刷薄刀午夜免费福利在实际工作时,由于其内部结构复杂,虽然在一端设有固定的上料机构,能够保障一定的生产和加工速度,但是在实际生产中,大多缺少有效的退料机构,经过切割后的块状物料将会零散的堆积在一侧,将需要一个指定的工人进行批量整合和梳理,浪费人力物力;

4.2、现有的印刷薄刀午夜免费福利在末端经过切割后,大多不便于简易的经过印刷分隔后的纸板之间的残渣进行清理,因此在实际使用时,纸屑的残留将会影响纸板的正常打包和运输。

5.因此,现有的印刷薄刀午夜免费福利在退料时,无法满足实际使用中的需求,所以市面上迫切需要能改进的技术,以解决上述问题。

技术实现要素:

6.本实用新型的目的在于提供一种印刷薄刀午夜免费福利用退料整合组件,通过在工作台的顶部固定连接有便于集中称重的升降放置台,通过升降放置台顶部的压力传感器,即可有效的控制单次运输过来的纸箱板,并集中运输,解决了现有的印刷薄刀午夜免费福利不便于简易的将单次分切好的纸箱进行批量整理和运输的问题。

7.为解决上述技术问题,本实用新型是通过以下技术方案实现的:

8.本实用新型为一种印刷薄刀午夜免费福利用退料整合组件,包括工作台、风机、升降放置台、电机和电动伸缩杆,所述工作台的顶部矩形中心位置处开设矩形槽,且矩形槽的内部对应固定有升降放置台,所述工作台的顶部一侧固定连接风机,所述工作台的顶部固定连接有电机,所述工作台的底部固定连接有滑轨,且滑轨的一端固定连接电动伸缩杆。

9.进一步地,所述工作台的底部四周固定连接有呈矩形状分布排列的支撑腿,所述工作台的顶部一侧固定连接有支撑板,所述支撑板之间通过轴连接有辅助辊,所述支撑板位于工作台上相对电机的另一侧,所述工作台的底部固定连接的支撑腿数量为四个,且支撑腿的底部支撑在水平面上。

10.进一步地,所述工作台的顶部对应矩形槽的两侧固定连接有连接键,且连接键的底部固定连接有竖直状的竖滑柱,所述滑轨固定放置在水平面上,且位于工作台的底部,所述滑轨的顶部两侧开设放置槽,所述放置槽在位置上对应顶部的矩形槽,所述工作台的内

部固定连接有呈对称分布的竖滑柱,且竖滑柱的数量为两个。

11.进一步地,所述升降放置台的顶部中心位置处固定连接有压力传感器,所述升降放置台的顶部通过弹簧连接弹性板,所述压力传感器电性连接外部的单片机,所述升降放置台的顶部通过四个呈矩形状分布的弹簧固定连接弹性板。

12.进一步地,所述升降放置台的两侧固定连接有第二延长板,且第二延长板的内部开设有圆柱孔,所述圆柱孔的内部滑动连接有竖滑柱,所述升降放置台的一侧侧壁上固定连接有第一延长板,所述第一延长板的内部竖直方向上开设螺纹孔,且螺纹孔的内部螺纹连接丝杆,所述丝杆的顶部端固定连接电机,所述电机通过连接架固定连接在工作台的顶部,所述电机通过电性连接单片机,且在工作时通过单片机控制正转和反转。

13.进一步地,所述工作台的底部通过矩形板固定连接电动伸缩杆,所述电动伸缩杆的移动端固定连接挡板,所述挡板的底部两侧开设卡槽,且卡槽在位置上对应底部的滑轨,所述滑轨的数量为两个,且滑轨的一侧延长端固定连接有斜坡。

14.本实用新型具有以下有益效果:

15.1、本实用新型通过在工作台上固定连接便于升降的升降放置台,经过印刷分切的纸板将会掉落在弹性板上,当弹性板上的纸板重量到达一定的程度时,弹性板将会下压底部的压力传感器,压力传感器将会通过电信号传递给单片机,随即单片机将控制电机带动丝杆旋转,丝杆通过螺纹传动将升降放置板运输到滑轨的顶部即可,随即电动伸缩杆将会在单片机的控制下工作,进而集中批量将指定重量的纸箱运输到另一侧,方便集装打包。

16.2、本实用新型通过在工作台的顶部一侧固定连接风机,当经过分切后的纸箱逐一掉落在弹性板上时,风机将会启动,并将纸箱顶部表面的灰尘和碎屑进行统一清理,防止碎屑堆积造成纸板生产重量下降。

17.当然,实施本实用新型的任一产品并不一定需要同时达到以上所述的所有优点。

附图说明

18.为了更清楚地说明本实用新型实施例的技术方案,下面将对实施例描述所需要使用的附图作简单地介绍,显而易见地,下面描述中的附图仅仅是本实用新型的一些实施例,对于本领域普通技术人员来讲,在不付出创造性劳动的前提下,还可以根据这些附图获得其他的附图。

19.图1为本实用新型的结构示意图一;

20.图2为本实用新型的结构示意图二;

21.图3为本实用新型的结构示意图三;

22.图4为本实用新型的升降放置台部分结构图。

23.附图中,各标号所代表的部件列表如下:

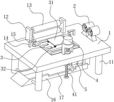
24.1、工作台;11、支撑腿;12、支撑板;13、辅助辊;14、连接键;15、竖滑柱;16、滑轨;17、放置槽;2、风机;3、升降放置台;31、弹性板;32、弹簧;33、压力传感器;34、第一延长板;35、螺纹孔;36、第二延长板;37、圆柱孔;4、电机;41、丝杆;5、电动伸缩杆;51、挡板;52、卡槽;53、矩形板。

具体实施方式

25.下面将结合本实用新型实施例中的附图,对本实用新型实施例中的技术方案进行清楚、完整地描述。

26.请参阅图1-4所示,本实用新型为一种印刷薄刀午夜免费福利用退料整合组件,包括工作台1、风机2、升降放置台3、电机4和电动伸缩杆5,工作台1的顶部矩形中心位置处开设矩形槽,且矩形槽的内部对应固定有升降放置台3,工作台1的顶部一侧固定连接风机2,工作台1的顶部固定连接有电机4,工作台1的底部固定连接有滑轨16,且滑轨16的一端固定连接电动伸缩杆5,电机4的型号为ye2系列,该系列型号为市场上常见型号,在此不做过多叙述。

27.其中如图1-3所示,工作台1的底部四周固定连接有呈矩形状分布排列的支撑腿11,工作台1的顶部一侧固定连接有支撑板12,支撑板12之间通过轴连接有辅助辊13,支撑板12位于工作台1上相对电机4的另一侧,工作台1的顶部对应矩形槽的两侧固定连接有连接键14,且连接键14的底部固定连接有竖直状的竖滑柱15,滑轨16固定放置在水平面上,且位于工作台1的底部,滑轨16的顶部两侧开设放置槽17,放置槽17在位置上对应顶部的矩形槽,在工作时,首先外部的输料机构将纸板运输至辅助辊13,然后在辅助辊13的作用下,纸板将会运输到弹性板31上,当弹性板31上的纸箱质量到达一定程度时,弹性板31下压弹簧32至最短,同时弹性板31将会挤压底部的压力传感器33,压力传感器33将传递电信号给单片机,同时一侧的风机2将会启动,风机2将纸箱顶部的碎纸屑进行吹散。

28.其中如图2和图4所示,升降放置台3的顶部中心位置处固定连接有压力传感器33,升降放置台3的顶部通过弹簧32连接弹性板31,压力传感器33电性连接外部的单片机,升降放置台3的两侧固定连接有第二延长板36,且第二延长板36的内部开设有圆柱孔37,圆柱孔37的内部滑动连接有竖滑柱15,升降放置台3的一侧侧壁上固定连接有第一延长板34,第一延长板34的内部竖直方向上开设螺纹孔35,且螺纹孔35的内部螺纹连接丝杆41,丝杆41的顶部端固定连接电机4,电机4通过连接架固定连接在工作台1的顶部,工作台1的底部通过矩形板53固定连接电动伸缩杆5,电动伸缩杆5的移动端固定连接挡板51,挡板51的底部两侧开设卡槽52,且卡槽52在位置上对应底部的滑轨16,在工作时,当压力传感器33传递电信号给单片机时,单片机将会同时控制电机4带动丝杆41旋转,在旋转的过程中,丝杆41通过螺纹传动带动升降放置台3在竖直方向上下降,直至升降放置台3完全放置在滑轨16上即可,然后一侧的电动伸缩杆5将会逐渐延长,并通过一侧固定的挡板51将批量运输下来的纸箱,向一侧推动运输即可。

29.本实施例的一个具体应用为:第一步,首先在工作时,经过印刷和分切的纸板将会掉落在工作台1顶部的弹性板31上,然后同时另一侧的风机2将会启动,在气流的推动下,纸板上的碎屑将会被吹散,第二步,其次纸板将会逐渐堆积,当纸板的重量到达一定的程度时,弹性板31底部的板面将会挤压底部的压力传感器33,同时压力传感器33将电信号传递给单片机,第三步,紧接着单片机将控制电机4工作,丝杆41将会在旋转的同时,通过螺纹传动将升降放置台3运输到底部,第四步,然后升降放置台3到达底部时,第五步,最后电动伸缩杆5将会通过一侧固定的挡板51推动纸箱,并将纸箱单次批量推动到一侧即可。

30.以上仅为本实用新型的优选实施例,并不限制本实用新型,任何对前述各实施例所记载的技术方案进行修改,对其中部分技术特征进行等同替换,所作的任何修改、等同替换、改进,均属于在本实用新型的保护范围。

技术特征:

1.一种印刷薄刀午夜免费福利用退料整合组件,包括工作台(1)、风机(2)、升降放置台(3)、电机(4)和电动伸缩杆(5),其特征在于:所述工作台(1)的顶部矩形中心位置处开设矩形槽,且矩形槽的内部对应固定有升降放置台(3),所述工作台(1)的顶部一侧固定连接风机(2),所述工作台(1)的顶部固定连接有电机(4),所述工作台(1)的底部固定连接有滑轨(16),且滑轨(16)的一端固定连接电动伸缩杆(5)。2.根据权利要求1所述的一种印刷薄刀午夜免费福利用退料整合组件,其特征在于,所述工作台(1)的底部四周固定连接有呈矩形状分布排列的支撑腿(11),所述工作台(1)的顶部一侧固定连接有支撑板(12),所述支撑板(12)之间通过轴连接有辅助辊(13),所述支撑板(12)位于工作台(1)上相对电机(4)的另一侧。3.根据权利要求1所述的一种印刷薄刀午夜免费福利用退料整合组件,其特征在于,所述工作台(1)的顶部对应矩形槽的两侧固定连接有连接键(14),且连接键(14)的底部固定连接有竖直状的竖滑柱(15),所述滑轨(16)固定放置在水平面上,且位于工作台(1)的底部,所述滑轨(16)的顶部两侧开设放置槽(17),所述放置槽(17)在位置上对应顶部的矩形槽。4.根据权利要求1所述的一种印刷薄刀午夜免费福利用退料整合组件,其特征在于,所述升降放置台(3)的顶部中心位置处固定连接有压力传感器(33),所述升降放置台(3)的顶部通过弹簧(32)连接弹性板(31),所述压力传感器(33)电性连接外部的单片机。5.根据权利要求1所述的一种印刷薄刀午夜免费福利用退料整合组件,其特征在于,所述升降放置台(3)的两侧固定连接有第二延长板(36),且第二延长板(36)的内部开设有圆柱孔(37),所述圆柱孔(37)的内部滑动连接有竖滑柱(15),所述升降放置台(3)的一侧侧壁上固定连接有第一延长板(34),所述第一延长板(34)的内部竖直方向上开设螺纹孔(35),且螺纹孔(35)的内部螺纹连接丝杆(41),所述丝杆(41)的顶部端固定连接电机(4),所述电机(4)通过连接架固定连接在工作台(1)的顶部。6.根据权利要求1所述的一种印刷薄刀午夜免费福利用退料整合组件,其特征在于,所述工作台(1)的底部通过矩形板(53)固定连接电动伸缩杆(5),所述电动伸缩杆(5)的移动端固定连接挡板(51),所述挡板(51)的底部两侧开设卡槽(52),且卡槽(52)在位置上对应底部的滑轨(16)。

技术总结

本实用新型公开了一种印刷薄刀午夜免费福利用退料整合组件,涉及印刷薄刀午夜免费福利技术领域。本实用新型包括工作台、风机、升降放置台、电机和电动伸缩杆,工作台的顶部矩形中心位置处开设矩形槽,且矩形槽的内部对应固定有升降放置台,工作台的顶部一侧固定连接风机,工作台的顶部固定连接有电机,工作台的底部固定连接有滑轨,且滑轨的一端固定连接电动伸缩杆。本实用新型通过在工作台上固定连接便于升降的升降放置台,经过印刷分切的纸板将会掉落在弹性板上,当弹性板上的纸板重量到达一定的程度时,弹性板将会下压底部的压力传感器,压力传感器将会通过电信号传递给单片机,单片机通过控制丝杆和电动伸缩杆的配合下,即可简易的将纸箱批量运输。纸箱批量运输。纸箱批量运输。

技术研发人员:郝东升

受保护的技术使用者:大连鑫胜平印刷厂

技术研发日:2021.06.29

技术公布日:2022/1/11

网站地图