服务热线
180-5003-0233

1.本实用新型涉及电解铜箔生产技术领域,尤其涉及一种用于对电解铜箔分切生产过程中保持导辊同步转动的结构。
背景技术:
2.在电解铜箔分切过程中,由于铜箔分切生产设备(午夜免费福利)在设计安装时并未考虑主动辊与过渡辊(被动辊)转动不同步的问题,导致电解铜箔在分切生产过程中箔面易出现划线,造成铜箔的报废,无法提高产品品质。同时受导辊转动不同步的影响,分切生产过程中铜箔易产生皱纹、色差等缺陷。
技术实现要素:
3.本实用新型要解决的技术问题是针对现有技术的缺点,提供一种实现方案简单、同步效果好、可提高铜箔品质的用于电解铜箔分切生产中保持导辊同步运转的结构。
4.为解决上述技术问题,本实用新型采用如下技术方案:一种用于电解铜箔分切生产中保持导辊同步运转的结构,在安装座中安装有主动辊和若干过渡辊,其特征在于:在主动辊及各过渡辊的辊轴上分别安装有同步带轮和同步带,主动辊及各过渡辊之间分别通过同步带相互连接以形成同步运转的结构。
5.进一步地,所述过渡辊包括有第一过渡辊、第二过渡辊和第三过渡辊,第一过渡辊位于主动辊的后上方,第二过渡辊位于主动辊的前下方,第三过渡辊位于第二过渡辊的前上方;在主动辊的同步带轮与第一过渡辊的同步带轮之间的上方设置有第一张紧轮,第一过渡辊及第二过渡辊通过一第一同步带绕经第一张紧轮与主动辊连接,第三过渡辊通过一第二同步带与主动辊连接,使第一过渡辊、第二过渡辊及第三过渡辊与主动辊形成同步运转结构。
6.进一步地,还包括有第一ccd导辊及第二ccd导辊,二者的辊轴分别安装有同步带轮且并列安装于第三过渡辊的前上方,第一ccd导辊及第二ccd导辊与第三过渡辊之间通过同步带连接形成同步运转结构。
7.优选地,在第一ccd导辊及第二ccd导辊的下方设置有第二张紧轮、第三张紧轮及第四张紧轮,其中第二张紧轮及第三张紧轮位于第三过渡辊与第四张紧轮之间;第三过渡辊与第四张紧轮之间连接有第三同步带,第三同步带依次绕经第二张紧轮及第三张紧轮;第二张紧轮与第一ccd导辊之间通过第四同步带连接,第三张紧轮与第二ccd导辊之间通过第五同步带连接。
8.优选地,主动辊、第一过渡辊及第二过渡辊的同步带轮与第一张紧轮、第一同步带和第二同步带均设置在靠近安装座右侧的位置,以形成右侧的传动路线,第三过渡辊的辊轴两端均设置有同步带轮;第一ccd导辊及第二ccd导辊的同步带轮与第二张紧轮、第三张紧轮、第四张紧轮、第三同步带、第四同步带和第五同步带均设置在靠近安装座左侧的位置,以形成左侧的传动路线。
9.同步传动路线分开成左右两侧主要是为了简化传动的结构,避免全部设置在同一侧而造成相互干涉。各同步带均为o型皮带。依靠主动辊的同步带轮和第一同步带张紧时产生的摩擦力,将主动辊的动力传给各过渡辊,而皮带转动可用于两导辊(主动辊与过渡辊)之间的大距离传动。然后依次带动所有的过渡辊及ccd导辊实现同步转动,由于皮带有弹性,可以缓和冲击、减少振动,使传动平稳。
10.本实用新型将各过渡辊通过皮带与主动辊连接分别实现同步运转,不仅可消除铜箔箔面出现的划线问题,减少铜箔分切中皱纹的产生,提升铜箔品质,提高铜箔的成品率,并有助于铜箔分切的稳定性生产,同时降低了铜箔分切时发生的色差问题,减少了铜箔的报废。
附图说明
11.图1为本实用新型结构示意图;
12.图2为本实用新型另一角度的结构示意图;
13.图3为图2的局部放大图;
14.图4为本实用新型左侧传动路线的示意图;
15.图5为本实用新型右侧传动路线的示意图。
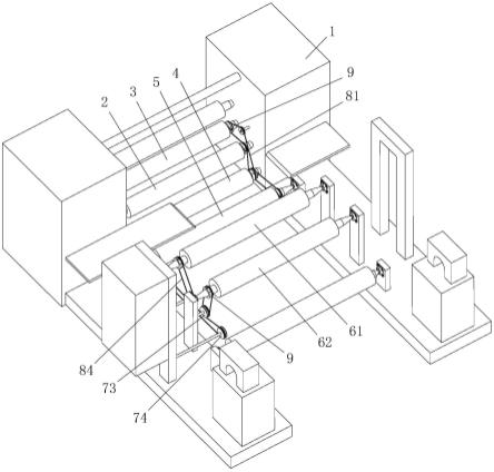
16.图中,1为安装座,2为主动辊,3为第一过渡辊,4为第二过渡辊,5为第三过渡辊,61为第一ccd导辊,62为第二ccd导辊,71为第一张紧轮,72为第二张紧轮,73为第三张紧轮,74为第四张紧轮,81为第一同步带,82为第二同步带,83为第三同步带,84为第四同步带,85为第五同步带,9为同步带轮。
具体实施方式
17.本实施例中,参照图1-5,所述用于电解铜箔分切生产中保持导辊同步运转的结构,在安装座1中安装有主动辊2和若干过渡辊;在主动辊2及各过渡辊的辊轴上分别安装有同步带轮9和同步带,主动辊2及各过渡辊之间分别通过同步带相互连接以形成同步运转的结构。
18.所述过渡辊包括有第一过渡辊3、第二过渡辊4和第三过渡辊5,第一过渡辊3位于主动辊2的后上方,第二过渡辊4位于主动辊2的前下方,第三过渡辊5位于第二过渡辊4的前上方;在主动辊2的同步带轮9与第一过渡辊3的同步带轮9之间的上方设置有第一张紧轮71,第一过渡辊3及第二过渡辊4通过一第一同步带81绕经第一张紧轮71与主动辊2连接,第三过渡辊5通过一第二同步带82与主动辊2连接,使第一过渡辊3、第二过渡辊4及第三过渡辊 5与主动辊2形成同步运转结构。
19.还包括有第一ccd导辊61及第二ccd导辊62,二者的辊轴分别安装有同步带轮9且并列安装于第三过渡辊5的前上方,第一ccd导辊61及第二ccd导辊 62与第三过渡辊5之间通过同步带连接形成同步运转结构。
20.在第一ccd导辊61及第二ccd导辊62的下方设置有第二张紧轮72、第三张紧轮73及第四张紧轮74,其中第二张紧轮72及第三张紧轮73位于第三过渡辊5与第四张紧轮74之间;第三过渡辊5与第四张紧轮74之间连接有第三同步带83,第三同步带83依次绕经第二张紧轮72及第三张紧轮73;第二张紧轮72与第一ccd导辊61之间通过第四同步带84连接,第三张
紧轮73与第二ccd 导辊62之间通过第五同步带85连接。
21.主动辊2、第一过渡辊3及第二过渡辊4的同步带轮9与第一张紧轮71、第一同步带81和第二同步带82均设置在靠近安装座1右侧的位置,以形成右侧的传动路线,如图4所示;第三过渡辊5的辊轴两端均设置有同步带轮9;第一ccd导辊61及第二ccd导辊62的同步带轮9与第二张紧轮72、第三张紧轮 73、第四张紧轮74、第三同步带83、第四同步带84和第五同步带85均设置在靠近安装座1左侧的位置,以形成左侧的传动路线。
22.同步传动路线分开成左右两侧主要是为了简化传动的结构,避免全部设置在同一侧而造成相互干涉。各同步带均为o型皮带。依靠主动辊2的同步带轮 9和第一同步带81张紧时产生的摩擦力,将主动辊2的动力传给各过渡辊,而皮带转动可用于两导辊(主动辊与过渡辊)之间的大距离传动。然后依次带动所有的过渡辊及ccd导辊实现同步转动,由于皮带有弹性,可以缓和冲击、减少振动,使传动平稳。
23.以上已将本实用新型做一详细说明,以上所述,仅为本实用新型之较佳实施例而已,当不能限定本实用新型实施范围,即凡依本申请范围所作均等变化与修饰,皆应仍属本实用新型涵盖范围内。
技术特征:
1.一种用于电解铜箔分切生产中保持导辊同步运转的结构,在安装座中安装有主动辊和若干过渡辊,其特征在于:在主动辊及各过渡辊的辊轴上分别安装有同步带轮和同步带,主动辊及各过渡辊之间分别通过同步带相互连接以形成同步运转的结构。2.根据权利要求1所述的用于电解铜箔分切生产中保持导辊同步运转的结构,其特征在于:所述过渡辊包括有第一过渡辊、第二过渡辊和第三过渡辊,第一过渡辊位于主动辊的后上方,第二过渡辊位于主动辊的前下方,第三过渡辊位于第二过渡辊的前上方;在主动辊的同步带轮与第一过渡辊的同步带轮之间的上方设置有第一张紧轮,第一过渡辊及第二过渡辊通过一第一同步带绕经第一张紧轮与主动辊连接,第三过渡辊通过一第二同步带与主动辊连接,使第一过渡辊、第二过渡辊及第三过渡辊与主动辊形成同步运转结构。3.根据权利要求2所述的用于电解铜箔分切生产中保持导辊同步运转的结构,其特征在于:还包括有第一ccd导辊及第二ccd导辊,二者的辊轴分别安装有同步带轮且并列安装于第三过渡辊的前上方,第一ccd导辊及第二ccd导辊与第三过渡辊之间通过同步带连接形成同步运转结构。4.根据权利要求3所述的用于电解铜箔分切生产中保持导辊同步运转的结构,其特征在于:在第一ccd导辊及第二ccd导辊的下方设置有第二张紧轮、第三张紧轮及第四张紧轮,其中第二张紧轮及第三张紧轮位于第三过渡辊与第四张紧轮之间;第三过渡辊与第四张紧轮之间连接有第三同步带,第三同步带依次绕经第二张紧轮及第三张紧轮;第二张紧轮与第一ccd导辊之间通过第四同步带连接,第三张紧轮与第二ccd导辊之间通过第五同步带连接。5.根据权利要求4所述的用于电解铜箔分切生产中保持导辊同步运转的结构,其特征在于:主动辊、第一过渡辊及第二过渡辊的同步带轮与第一张紧轮、第一同步带和第二同步带均设置在靠近安装座右侧的位置,以形成右侧的传动路线,第三过渡辊的辊轴两端均设置有同步带轮;第一ccd导辊及第二ccd导辊的同步带轮与第二张紧轮、第三张紧轮、第四张紧轮、第三同步带、第四同步带和第五同步带均设置在靠近安装座左侧的位置,以形成左侧的传动路线。6.根据权利要求5所述的用于电解铜箔分切生产中保持导辊同步运转的结构,其特征在于:各同步带均为o型皮带。
技术总结
本实用新型公开了一种用于电解铜箔分切生产中保持导辊同步运转的结构,在安装座中安装有主动辊和若干过渡辊;在主动辊及各过渡辊的辊轴上分别安装有同步带轮和同步带,主动辊及各过渡辊之间分别通过同步带相互连接以形成同步运转的结构。本实用新型将各过渡辊通过皮带与主动辊连接分别实现同步运转,不仅可消除铜箔箔面出现的划线问题,减少铜箔分切中皱纹的产生,提升铜箔品质,提高铜箔的成品率,并有助于铜箔分切的稳定性生产,同时降低了铜箔分切时发生的色差问题,减少了铜箔的报废。减少了铜箔的报废。减少了铜箔的报废。
技术研发人员:张永军 武学明 王有仁 王国军 李永贞 周启伦 马秀玲
受保护的技术使用者:青海诺德新午夜精品免费视频有限公司
技术研发日:2022.04.20
技术公布日:2022/7/26