服务热线
180-5003-0233

1.本实用新型涉及聚酰亚胺胶带加工技术领域,尤其涉及双面防静电聚酰亚胺胶带加工用分切装置。
背景技术:
2.聚酰亚胺胶带,是以聚酰亚胺薄膜为基材,采用进口有机硅压敏胶粘剂,具有耐高低温、耐酸碱、耐溶剂、电气绝缘(h级)、防辐射等性能,适用于电子线路板波峰焊锡遮蔽、保护金手指和高档电器绝缘、马达绝缘,以及锂电池正负极耳固定,而分切装置是对聚酰亚胺胶带进行分切的重要设备之一。
3.目前现有的部分分切装置,往往在实际的分切的过程中,只能对特定位置的聚酰亚胺胶带进行分切,且分切装置本身不具备调节功能,使得需要分切不同规格的聚酰亚胺胶带时,需要更换几种设备,且分切后需要人工进行取料,从而继而降低使用效果。
技术实现要素:
4.本实用新型的目的是为了解决现有技术中存在的缺点,而提出的双面防静电聚酰亚胺胶带加工用分切装置。
5.为了实现上述目的,本实用新型采用了如下技术方案:双面防静电聚酰亚胺胶带加工用分切装置,包括加工台,所述加工台顶部固定连接有加工外壳,所述加工外壳外侧壁固定连接有驱动电机,所述驱动电机输出端固定连接有驱动杆,所述驱动杆末端贯穿加工外壳并延伸至加工外壳内部,所述驱动杆外侧壁固定套接有第一齿轮,所述加工外壳内壁两侧之间固定连接有移动板,所述加工外壳内壁两侧之间转动连接有移动螺杆,所述加工外壳外侧壁连接有用于驱动所述移动螺杆旋转的驱动组件,所述移动螺杆外侧壁螺纹连接有切分组件,所述加工外壳内壁开设有滑动槽,所述滑动槽内部滑动连接有t形块,所述t形块末端固定连接有推料组件。
6.作为上述技术方案的进一步描述:
7.所述驱动组件包括与加工外壳外侧壁固定连接的伺服电机,所述伺服电机输出轴贯穿加工外壳并固定连接有第二传动盘,所述移动螺杆外侧壁固定套接有第一传动盘和限位卡板,所述第二传动盘通过皮带与第一传动盘传动连接。
8.作为上述技术方案的进一步描述:
9.所述第二传动盘通过皮带与第一传动盘传动连接。
10.作为上述技术方案的进一步描述:
11.所述切分组件包括与移动螺杆外侧壁螺纹连接的安装套块,所述安装套块背面固定连接有移动滑块,所述移动板外表面开设有移动槽,所述移动滑块与移动槽内部滑动连接,所述安装套块底部固定连接有调节电动推杆,所述调节电动推杆活塞端固定连接有午夜免费福利构。
12.作为上述技术方案的进一步描述:
13.所述推料组件包括与t形块侧壁固定连接的连接板,所述连接板侧壁固定连接有导向杆,所述导向杆外侧壁活动套接有连接套块,所述导向杆末端固定连接有限位板,所述连接板侧壁转动连接有连接螺杆,所述连接螺杆末端与限位板转动连接,所述连接螺杆外侧壁螺纹连接有推料板,所述连接套块顶部与推料板固定连接。
14.作为上述技术方案的进一步描述:
15.所述连接螺杆外侧壁固定套接有第二齿轮,所述第二齿轮与第一齿轮相适配。
16.作为上述技术方案的进一步描述:
17.所述加工台顶部固定连接有连接电动推杆,所述连接电动推杆活塞端与t形块固定连接。
18.本实用新型具有如下有益效果:
19.通过驱动组件、切分组件和推料组件之间的配合,利用驱动组件可使伺服电机带动移动螺杆进行旋转,便于移动螺杆带动切分组件根据需要调节到合适的距离进行切分,利用切分组件可使调节电动推杆带动午夜免费福利构调节到合适的高度,便于对不同厚度的聚酰亚胺胶带进行切分,利用电动推杆推动可使t形块在滑动槽内部移动,便于推料组件上的第二齿轮与驱动杆上的第一齿轮啮合,利用驱动电机可使驱动杆带动第一齿轮和第二齿轮旋转,便于第二齿轮上的连接螺杆也进行旋转,同时推料板在连接螺杆移动,从而推动切分后的聚酰亚胺胶带,使得分切装置本身具备调节功能,可以根据不同规格分切,无需更换几种设备和人工取料。
附图说明
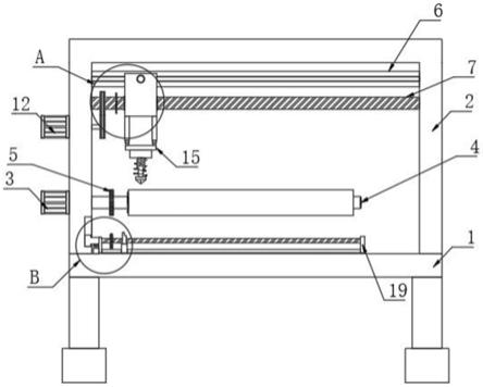
20.图1为本实用新型提出的双面防静电聚酰亚胺胶带加工用分切装置的整体结构示意图;
21.图2为图1中a处放大结构示意图;
22.图3为图1中b处放大结构示意图;
23.图4为本实用新型提出的双面防静电聚酰亚胺胶带加工用分切装置的驱动电机和驱动杆结构示意图。
24.图例说明:
25.1、加工台;2、加工外壳;3、驱动电机;4、驱动杆;5、第一齿轮;6、移动板;7、移动螺杆;8、安装套块;9、移动滑块;10、第一传动盘;11、限位卡板;12、伺服电机;13、第二传动盘;14、调节电动推杆;15、午夜免费福利构;16、t形块;17、连接板;18、导向杆;19、限位板;20、连接套块;21、连接螺杆;22、推料板;23、第二齿轮;24、连接电动推杆。
具体实施方式
26.下面将结合本实用新型实施例中的附图,对本实用新型实施例中的技术方案进行清楚、完整地描述,显然,所描述的实施例仅仅是本实用新型一部分实施例,而不是全部的实施例。基于本实用新型中的实施例,本领域普通技术人员在没有做出创造性劳动前提下所获得的所有其他实施例,都属于本实用新型保护的范围。
27.参照图1-4,本实用新型提供的双面防静电聚酰亚胺胶带加工用分切装置,包括加工台1,加工台1顶部固定连接有加工外壳2,加工外壳2外侧壁固定连接有驱动电机3,驱动
电机3输出端固定连接有驱动杆4,驱动杆4末端贯穿加工外壳2并延伸至加工外壳2内部,驱动杆4外侧壁固定套接有第一齿轮5,加工外壳2内壁两侧之间固定连接有移动板6,加工外壳2内壁两侧之间转动连接有移动螺杆7,加工外壳2外侧壁连接有用于驱动移动螺杆7旋转的驱动组件,通过驱动电机3以便带动驱动杆4进行旋转,参照图1和图2,驱动组件包括与加工外壳2外侧壁固定连接的伺服电机12,伺服电机12输出轴贯穿加工外壳2并固定连接有第二传动盘13,移动螺杆7外侧壁固定套接有第一传动盘10和限位卡板11,第二传动盘13通过皮带与第一传动盘10传动连接,通过伺服电机12和第二传动盘13配合,以便第二传动盘13上的皮带带动第一传动盘10上的移动螺杆7进行旋转。
28.其中,移动螺杆7外侧壁螺纹连接有切分组件,参照图2和图1,切分组件包括与移动螺杆7外侧壁螺纹连接的安装套块8,安装套块8背面固定连接有移动滑块9,移动板6外表面开设有移动槽,移动滑块9与移动槽内部滑动连接,安装套块8底部固定连接有调节电动推杆14,调节电动推杆14活塞端固定连接有午夜免费福利构15,通过午夜免费福利构15起到切割聚酰亚胺胶带的作用。
29.具体的,加工外壳2内壁开设有滑动槽,滑动槽内部滑动连接有t形块16,t形块16末端固定连接有推料组件,参照图3和图1,推料组件包括与t形块16侧壁固定连接的连接板17,连接板17侧壁固定连接有导向杆18,导向杆18外侧壁活动套接有连接套块20,导向杆18末端固定连接有限位板19,连接板17侧壁转动连接有连接螺杆21,连接螺杆21末端与限位板19转动连接,连接螺杆21外侧壁螺纹连接有推料板22,连接套块20顶部与推料板22固定连接,连接螺杆21外侧壁固定套接有第二齿轮23,第二齿轮23与第一齿轮5啮合连接,通过第二齿轮23与第一齿轮5啮合,以便带动连接螺杆21进行旋转。
30.参照图3,加工台1顶部固定连接有连接电动推杆24,连接电动推杆24活塞端与t形块16固定连接,通过连接电动推杆24以便带动t形块16在滑动槽内部移动。
31.工作原理:切分时,先将需要切分的聚酰亚胺胶带套接在驱动杆4上,接着启动伺服电机12,通过伺服电机12带动第二传动盘13进行旋转,使得第二传动盘13通过皮带带动第一传动盘10和移动螺杆7进行旋转,同时安装套块8在移动螺杆7上进行移动,且安装套块8上的移动滑块9沿着移动槽的方向移动,从而根据需要调节到合适的距离,接着启动调节电动推杆14,使得调节电动推杆14带动午夜免费福利构15移动到合适的高度并与聚酰亚胺胶带接触,然后启动驱动电机3,通过驱动电机3带动驱动杆4进行旋转,以便午夜免费福利构15对驱动杆4上的聚酰亚胺胶带进行分切。
32.推料时,先关闭驱动电机3,接着启动连接电动推杆24,通过连接电动推杆24推动t形块16在滑动槽内部移动,因t形块16与推料组件安装,从而带动推料组件也进行移动,且推料组件上的第二齿轮23与驱动杆4上的第一齿轮5啮合,跟着再次启动驱动电机3带动驱动杆4,使得第一齿轮5带动第二齿轮23进行旋转,以便第二齿轮23上的连接螺杆21也进行旋转,同时推料板22在连接螺杆21移动,且推料板22通过连接套块20沿着导向杆18的方向移动,使得推料板22推动驱动杆4上切分的聚酰亚胺胶带。
33.最后应说明的是:以上所述仅为本实用新型的优选实施例而已,并不用于限制本实用新型,尽管参照前述实施例对本实用新型进行了详细的说明,对于本领域的技术人员来说,其依然可以对前述各实施例所记载的技术方案进行修改,或者对其中部分技术特征进行等同替换,凡在本实用新型的精神和原则之内,所作的任何修改、等同替换、改进等,均
应包含在本实用新型的保护范围之内。
技术特征:
1.双面防静电聚酰亚胺胶带加工用分切装置,包括加工台(1),其特征在于:所述加工台(1)顶部固定连接有加工外壳(2),所述加工外壳(2)外侧壁固定连接有驱动电机(3),所述驱动电机(3)输出端固定连接有驱动杆(4),所述驱动杆(4)末端贯穿加工外壳(2)并延伸至加工外壳(2)内部,所述驱动杆(4)外侧壁固定套接有第一齿轮(5),所述加工外壳(2)内壁两侧之间固定连接有移动板(6),所述加工外壳(2)内壁两侧之间转动连接有移动螺杆(7),所述加工外壳(2)外侧壁连接有用于驱动所述移动螺杆(7)旋转的驱动组件,所述移动螺杆(7)外侧壁螺纹连接有切分组件,所述加工外壳(2)内壁开设有滑动槽,所述滑动槽内部滑动连接有t形块(16),所述t形块(16)末端固定连接有推料组件。2.根据权利要求1所述的双面防静电聚酰亚胺胶带加工用分切装置,其特征在于:所述驱动组件包括与加工外壳(2)外侧壁固定连接的伺服电机(12),所述伺服电机(12)输出轴贯穿加工外壳(2)并固定连接有第二传动盘(13),所述移动螺杆(7)外侧壁固定套接有第一传动盘(10)和限位卡板(11)。3.根据权利要求2所述的双面防静电聚酰亚胺胶带加工用分切装置,其特征在于:所述第二传动盘(13)通过皮带与第一传动盘(10)传动连接。4.根据权利要求1所述的双面防静电聚酰亚胺胶带加工用分切装置,其特征在于:所述切分组件包括与移动螺杆(7)外侧壁螺纹连接的安装套块(8),所述安装套块(8)背面固定连接有移动滑块(9),所述移动板(6)外表面开设有移动槽,所述移动滑块(9)与移动槽内部滑动连接,所述安装套块(8)底部固定连接有调节电动推杆(14),所述调节电动推杆(14)活塞端固定连接有午夜免费福利构(15)。5.根据权利要求1所述的双面防静电聚酰亚胺胶带加工用分切装置,其特征在于:所述推料组件包括与t形块(16)侧壁固定连接的连接板(17),所述连接板(17)侧壁固定连接有导向杆(18),所述导向杆(18)外侧壁活动套接有连接套块(20),所述导向杆(18)末端固定连接有限位板(19),所述连接板(17)侧壁转动连接有连接螺杆(21),所述连接螺杆(21)末端与限位板(19)转动连接,所述连接螺杆(21)外侧壁螺纹连接有推料板(22),所述连接套块(20)顶部与推料板(22)固定连接。6.根据权利要求5所述的双面防静电聚酰亚胺胶带加工用分切装置,其特征在于:所述连接螺杆(21)外侧壁固定套接有第二齿轮(23),所述第二齿轮(23)与第一齿轮(5)相适配。7.根据权利要求1所述的双面防静电聚酰亚胺胶带加工用分切装置,其特征在于:所述加工台(1)顶部固定连接有连接电动推杆(24),所述连接电动推杆(24)活塞端与t形块(16)固定连。
技术总结
本实用新型公开了双面防静电聚酰亚胺胶带加工用分切装置,包括加工台,所述加工台顶部固定连接有加工外壳,所述加工外壳外侧壁固定连接有驱动电机,所述驱动电机输出端固定连接有驱动杆,所述驱动杆末端贯穿加工外壳并延伸至加工外壳内部,所述驱动杆外侧壁固定套接有第一齿轮。本实用新型,利用驱动电机可使驱动杆带动第一齿轮和第二齿轮旋转,便于第二齿轮上的连接螺杆也进行旋转,同时推料板在连接螺杆移动,从而推动切分后的聚酰亚胺胶带,使得分切装置本身具备调节功能,可以根据不同规格分切,无需更换几种设备和人工取料。无需更换几种设备和人工取料。无需更换几种设备和人工取料。
技术研发人员:陈云霞 吴欣元
受保护的技术使用者:浙江青龙胶带有限公司
技术研发日:2021.10.15
技术公布日:2022/3/16