服务热线
180-5003-0233

本实用新型涉及印刷机技术领域,特别涉及一种午夜免费福利构。
背景技术:
商标或者标签等产品印刷好之后需要对其进行分切,以便于后续的收卷、包装和使用等。申请公布号为CN 108058203A的专利公开了一种印刷机的分切装置,虽然实现了对印刷物进行分切,但是结构复杂,且切刀一旦损坏,维修起来比较困难。因此,有必要提出一种午夜免费福利构,其结构更加简单,易于使用和后期的维修。
可见,现有技术还有待改进和提高。
技术实现要素:
鉴于上述现有技术的不足之处,本实用新型的目的在于提供一种午夜免费福利构,旨在解决现有技术中印刷机的午夜免费福利构结构复杂的技术问题。
为了达到上述目的,本实用新型采取了以下技术方案:
一种午夜免费福利构,包括底板和两块侧板,两块侧板上水平地连接有第一辅助辊、工作台和第二辅助辊;所述第一辅助辊、工作台和第二辅助辊的顶部平齐;每块侧板上分别设置有一个安装板,每个安装板上分别设置有一个气缸;工作台的上方设置有一个切刀安装架,切刀安装架位于工作台上方,切刀安装架的两端分别与对应的那个气缸的活塞杆连接;切刀安装架上可拆卸地设置有若干把切刀。
所述的午夜免费福利构中,每把切刀分别包括刀柄和设置在刀柄底部的刀片。
所述的午夜免费福利构中,所述切刀安装架延其长度方向竖直地开设有第一直孔,切刀安装架延其长度方向水平地开设有第二直孔;每把切刀分别从第一直孔穿过;每把切刀的刀柄分别开设有水平通孔,第一直孔对应每把切刀处分别插入一根螺栓并穿过对应的水平通孔。
所述的午夜免费福利构中,所述切刀安装架沿其长度方向上设置有刻度线。
所述的午夜免费福利构中,每块侧壁顶部分别竖直地开设有一个凹槽,切刀安装架的两端分别插入到对应的那个凹槽汇中。
有益效果:本实用新型提供了一种午夜免费福利构,相对于现有技术,本实用新型提供的午夜免费福利的结构简单,通过在切刀安装架上可拆卸地设置多把切刀,可以根据实际生产要求对印刷物进行分切呈若干条。通过气缸驱动切刀安装架的上下移动,操作简单,且易于后期的维护和维修。进一步地,通过在切刀安装架上设置第一直槽和第二直槽,便于调节切刀的位置,适应不同印刷物的分切要求。
附图说明
图1为本实用新型提供的午夜免费福利构的主视图。
图2为图1中S区域的局部放大图。
图3为本实用新型提供的午夜免费福利构的工作示意图。
具体实施方式
本实用新型提供一种午夜免费福利构,为使本实用新型的目的、技术方案及效果更加清楚、明确,以下参照附图并举实施例对本实用新型进一步详细说明。应当理解,此处所描述的具体实施例仅用以解释本实用新型,并不用于限定本实用新型。
请参阅图1至图3,本实用新型提供一种午夜免费福利构。
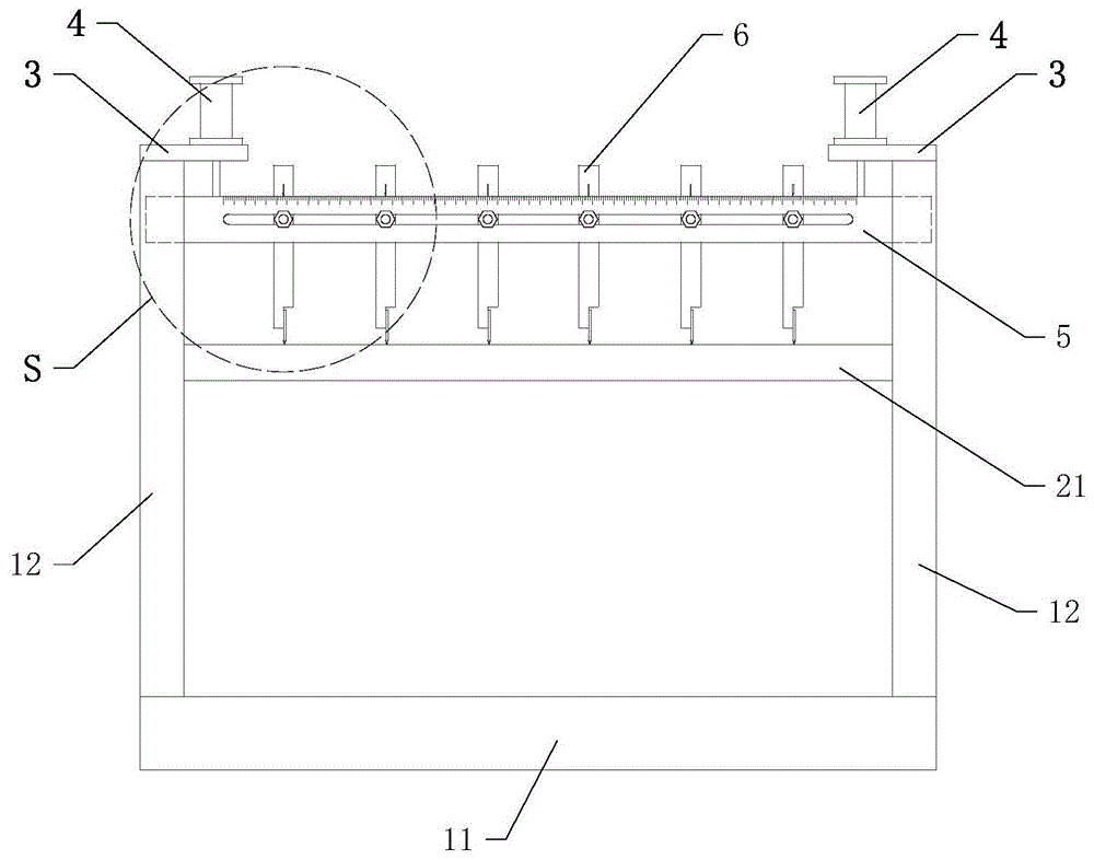
一种午夜免费福利构,包括底板11和两块侧板12,两块侧板上水平地连接有第一辅助辊21、工作台20和第二辅助辊22(图1视角观察不到工作台和第二辅助辊),第一辅助辊、工作台和第二辅助辊的顶部平齐;每块侧板上分别设置有一个安装板3,每个安装板上分别设置有一个气缸4;工作台的上方设置有一个切刀安装架5,切刀安装架位于工作台上方,切刀安装架5的两端分别与对应的那个气缸的活塞杆41连接;切刀安装架上可拆卸地设置有若干把切刀6。
优选地,每把切刀分别包括刀柄61和设置在刀柄底部的刀片62,刀片的底部设置有刀刃600,刀刃呈斜向上设置。通常地,刀片和刀柄通过螺钉连接。当刀片磨损后,可以方便的更换新的刀片。
优选地,所述切刀安装架延其长度方向竖直地开设有第一直孔(图中观察不到),切刀安装架5延其长度方向水平地开设有第二直孔502;每把切刀分别从第一直孔穿过;每把切刀的刀柄分别开设有水平通孔(图中观察不到),第一直孔对应每把切刀处分别插入一根螺栓71并穿过对应的水平通孔。实际使用时,可以调节每把切刀至合适位置,然后将螺栓对应的螺母72锁紧从而固定切刀。
优选地,所述切刀安装架沿其长度方向上设置有刻度线,刀柄的顶部还可以设置指示线611,该指示线与底部的刀刃对齐,从而便于精确地调节切刀的位置,提高分切精度。
进一步地,每块侧壁顶部分别竖直地开设有一个凹槽(图中观察不到),切刀安装架的两端分别插入到对应的那个凹槽汇中(如图2中虚线所示)。侧壁的在凹槽对切刀安装架的两端起到限位作用,避免切刀安装架上下移动时发生晃动。
如图3所示,实际工作时,印刷物90(如:复合纸)印刷完之后绕过第一辅助辊21、工作台20和第二辅助辊22。气缸推动切刀安装架下移,切刀的刀刃600与工作台20的上表面相抵,印刷物90与各个刀刃600接触后实现分切。实际使用时,针对不同的印刷物可以预先确定切刀的数量并调节每把切刀的位置,从而调节实际分切的位置。通过设置第一辅助辊和第二辅助辊,便于印刷物顺利到达和离开工作台。需要说明的是,实际工作时,印刷物由印刷机的传输拉纸机构(或收卷机构等)来实现,拉纸机构(或收卷机构等)本身并不在本实用新型的保护范围内。
通过上述分析可知,本实用新型提供的午夜免费福利的结构简单,通过在切刀安装架上可拆卸地设置多把切刀,可以根据实际生产要求对印刷物进行分切呈若干条。通过气缸驱动切刀安装架的上下移动,操作简单,且易于后期的维护和维修。
可以理解的是,对本领域普通技术人员来说,可以根据本实用新型的技术方案及其实用新型构思加以等同替换或改变,而所有这些改变或替换都应属于本实用新型的保护范围。
技术特征:
1.一种午夜免费福利构,包括底板和两块侧板,两块侧板上水平地连接有第一辅助辊、工作台和第二辅助辊,其特征在于,所述第一辅助辊、工作台和第二辅助辊的顶部平齐;每块侧板上分别设置有一个安装板,每个安装板上分别设置有一个气缸;工作台的上方设置有一个切刀安装架,切刀安装架位于工作台上方,切刀安装架的两端分别与对应的那个气缸的活塞杆连接;切刀安装架上可拆卸地设置有若干把切刀。
2.根据权利要求1所述的午夜免费福利构,其特征在于,每把切刀分别包括刀柄和设置在刀柄底部的刀片。
3.根据权利要求1所述的午夜免费福利构,其特征在于,所述切刀安装架延其长度方向竖直地开设有第一直孔,切刀安装架延其长度方向水平地开设有第二直孔;每把切刀分别从第一直孔穿过;每把切刀的刀柄分别开设有水平通孔,第一直孔对应每把切刀处分别插入一根螺栓并穿过对应的水平通孔。
4.根据权利要求1所述的午夜免费福利构,其特征在于,所述切刀安装架沿其长度方向上设置有刻度线。
5.根据权利要求1所述的午夜免费福利构,其特征在于,每块侧壁顶部分别竖直地开设有一个凹槽,切刀安装架的两端分别插入到对应的那个凹槽汇中。
技术总结
本实用新型公开了一种午夜免费福利构,包括底板和两块侧板,两块侧板上水平地连接有第一辅助辊、工作台和第二辅助辊;所述第一辅助辊、工作台和第二辅助辊的顶部平齐;每块侧板上分别设置有一个安装板,每个安装板上分别设置有一个气缸;工作台的上方设置有一个切刀安装架,切刀安装架位于工作台上方,切刀安装架的两端分别与对应的那个气缸的活塞杆连接;切刀安装架上可拆卸地设置有若干把切刀。本实用新型公开的午夜免费福利构能够用于将印刷物进行分切,且结构简单,易于使用,后期的维护和维修也比较方便。
技术研发人员:李玲
受保护的技术使用者:东莞市同辉商标辅料及包装印刷有限公司
技术研发日:2018.12.20
技术公布日:2019.09.03