服务热线
180-5003-0233

本实用新型涉及固定装置技术领域,具体为一种无接缝弹性纸管固定装置。
背景技术:
目前在纸管的加工流程当中需要对纸管进行分切处理,分切处理一般要用到纸管午夜免费福利这种设备。
根据专利201721323109.4可知,一种午夜免费福利的纸管固定装置,包括分切平台、支撑架和工作电源,所述分切平台底部左右两侧分别安装有支撑杆a和支撑杆b,所述分切平台前侧中间安装有工作电源,所述工作电源前侧左端安装有控制开关a,所述控制开关a右侧安装有控制开关b,所述控制开关b右侧安装有控制开关c,所述分切平台顶部左右两侧均连接有支撑架,所述支撑架顶部左侧安装有切割器。
目前,现有的无接缝弹性纸管固定装置还存在着一些不足的地方,例如;1、现有的无接缝弹性纸管固定装置不能根据纸管内径的大小来调节固定杆之间的间距,减小了固定装置对纸管固定时的范围,降低了纸管固定时的牢固性,2、现有的无接缝弹性纸管固定装置上的固定板在转动时的灵活性比较差固定板与连接座之间的摩擦力比较大,缩短了固定板的使用寿命。为此,需要设计新的技术方案给予解决。
技术实现要素:
本实用新型的目的在于提供一种无接缝弹性纸管固定装置,解决了背景技术中所提出的问题。
为实现上述目的,本实用新型提供如下技术方案:一种无接缝弹性纸管固定装置,包括固定平台,所述固定平台上设置有支撑架,所述支撑架上设置有电机和连接座,所述电机通过铆钉与所述支撑架的左端相连接,所述连接座活动连接在所述支撑架下方的右侧,所述电机的右端设置有固定座,所述固定座上设置有内置槽,所述内置槽的内部设置有推动器,所述推动器的内部设置有推动杆,所述推动杆上设置有固定杆;
所述连接座的内部设置有轴承,所述轴承的中心处设置有固定轴,所述固定轴的左端设置有固定板,所述固定板上设置有固定套和嵌合槽,所述固定套活动连接在所述固定板的左表面,所述嵌合槽位于所述固定板的内部,所述嵌合槽的内部设置有伸缩杆。
作为本实用新型的一种优选实施方式,所述支撑架采用铝合金的材质制作,并且通过铆钉与所述固定平台的上表面相连接。
作为本实用新型的一种优选实施方式,所述固定座采用合金钢的材质制作,并且通过铆钉与所述电机的右端相连接,所述内置槽的右端贯穿所述固定座的右表面。
作为本实用新型的一种优选实施方式,所述推动器通过铆钉对称连接在所述固定座的内部,所述推动杆的一端通过铆钉与所述固定杆相连接,所述推动杆的另一端嵌合在所述推动器的内部,并且与所述推动器的内部活动连接。
作为本实用新型的一种优选实施方式,所述固定轴的右端嵌合在所述轴承的中心处,并且与所述轴承的中心处固定连接,所述固定轴的左端通过铆钉与所述固定板相连接,所述固定板的右表面与所述连接座的左表面活动连接,所述固定套的位置与所述固定杆位置相对应,所述伸缩杆呈“鱼竿”状,并且通过铆钉与所述固定套的左端固定连接。
与现有技术相比,本实用新型的有益效果如下:
1、本实用新型通过推动器、推动杆、嵌合槽和伸缩杆的结合,在对纸管进行固定的时候,首先将纸管套在固定杆的外部,再由推动器通过推动杆带动固定杆在固定座上进行移动,直到将纸管夹紧为止,同时固定套套在固定杆的右端,并且跟随着固定杆进行一起移动,在固定套进行移动的时候伸缩杆会在嵌合槽的内部进行伸缩,有效的根据纸管内径的大小来调节固定杆之间的间距,增加了固定装置对纸管固定时的范围,提高了纸管固定时的牢固性。
2、本实用新型通过在连接座的内部增加轴承,有效的增强了固定板在转动时的灵活性,降低了固定板与连接座之间的摩擦力,延长了固定板的使用寿命。
附图说明
通过阅读参照以下附图对非限制性实施例所作的详细描述,本实用新型的其它特征、目的和优点将会变得更明显:
图1为本实用新型一种无接缝弹性纸管固定装置的主视图;
图2为本实用新型一种无接缝弹性纸管固定装置的连接座俯视图;
图3为本实用新型一种无接缝弹性纸管固定装置的连接座剖视图。
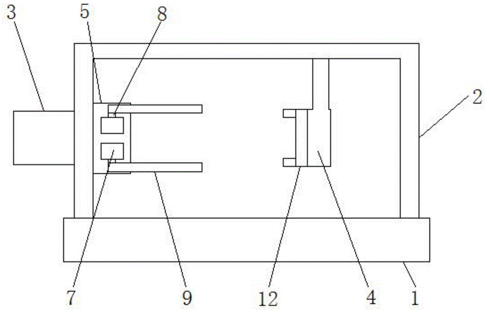
图中:固定平台1、支撑架2、电机3、连接座4、固定座5、内置槽6、推动器7、推动杆8、固定杆9、轴承10、固定轴11、固定板12、固定套13、嵌合槽14、伸缩杆15。
具体实施方式
下面将结合本实用新型实施例中的附图,对本实用新型实施例中的技术方案进行清楚、完整地描述,显然,所描述的实施例仅仅是本实用新型一部分实施例,而不是全部的实施例。
在本实用新型的描述中,需要理解的是,术语“上”、“下”、“前”、“后”、“左”、“右”、“顶”、“底”、“内”、“外”等指示的方位或位置关系为基于附图所示的方位或位置关系,仅是为了便于描述本实用新型和简化描述,而不是指示或暗示所指的装置或元件必须具有特定的方位、以特定的方位构造和操作,因此不能理解为对本实用新型的限制。
请参阅图1-图3,本实用新型提供一种技术方案:一种无接缝弹性纸管固定装置,包括固定平台1,所述固定平台1上设置有支撑架2,所述支撑架2上设置有电机3和连接座4,所述电机3通过铆钉与所述支撑架2的左端相连接,所述连接座4活动连接在所述支撑架2下方的右侧,所述电机3的右端设置有固定座5,所述固定座5上设置有内置槽6,所述内置槽6的内部设置有推动器7,所述推动器7的内部设置有推动杆8,所述推动杆8上设置有固定杆9;
所述连接座4的内部设置有轴承10,所述轴承10的中心处设置有固定轴11,所述固定轴11的左端设置有固定板12,所述固定板12上设置有固定套13和嵌合槽14,所述固定套13活动连接在所述固定板12的左表面,所述嵌合槽14位于所述固定板12的内部,所述嵌合槽14的内部设置有伸缩杆15,本实施例中(如图1、图2和图3所示)通过推动器7、推动杆8、嵌合槽14和伸缩杆15的结合,在对纸管进行固定的时候,首先将纸管套在固定杆9的外部,再由推动器7通过推动杆8带动固定杆9在固定座5上进行移动,直到将纸管夹紧为止,同时固定套13套在固定杆9的右端,并且跟随着固定杆9进行一起移动,在固定套13进行移动的时候伸缩杆15会在嵌合槽14的内部进行伸缩,有效的根据纸管内径的大小来调节固定杆9之间的间距,增加了固定装置对纸管固定时的范围,提高了纸管固定时的牢固性,通过在连接座4的内部增加轴承10,有效的增强了固定板12在转动时的灵活性,降低了固定板12与连接座4之间的摩擦力,延长了固定板12的使用寿命。
本实施例中(请参阅图1),所述支撑架2采用铝合金的材质制作,并且通过铆钉与所述固定平台1的上表面相连接,其作用在于能有效的提高了支撑架2使用时的稳定性。
本实施例中(请参阅图2),所述固定座5采用合金钢的材质制作,并且通过铆钉与所述电机3的右端相连接,所述内置槽6的右端贯穿所述固定座5的右表面,其作用在于能有效的提高了固定座5使用时的耐磨性和抗氧化性。
本实施例中(请参阅图1),所述推动器7通过铆钉对称连接在所述固定座5的内部,所述推动杆8的一端通过铆钉与所述固定杆9相连接,所述推动杆8的另一端嵌合在所述推动器7的内部,并且与所述推动器7的内部活动连接,其作用在于能有效的提高了固定杆9位置调节时的便捷性。
本实施例中(请参阅图3),所述固定轴11的右端嵌合在所述轴承10的中心处,并且与所述轴承10的中心处固定连接,所述固定轴11的左端通过铆钉与所述固定板12相连接,所述固定板12的右表面与所述连接座4的左表面活动连接,所述固定套13的位置与所述固定杆9位置相对应,所述伸缩杆15呈“鱼竿”状,并且通过铆钉与所述固定套13的左端固定连接,其作用在于能有效的提高了固定套13位置调节时的便捷性。
需说明的是,本实用新型一种无接缝弹性纸管固定装置包括固定平台1、支撑架2、电机3、连接座4、固定座5、内置槽6、推动器7、推动杆8、固定杆9、轴承10、固定轴11、固定板12、固定套13、嵌合槽14、伸缩杆15等部件均为通用标准件或本领域技术人员知晓的部件,其结构和原理都为本技术人员均可通过技术手册得知或通过常规实验方法获知,在一种无接缝弹性纸管固定装置使用的时候,通过推动器7、推动杆8、嵌合槽14和伸缩杆15的结合,在对纸管进行固定的时候,首先将纸管套在固定杆9的外部,再由推动器7通过推动杆8带动固定杆9在固定座5上进行移动,直到将纸管夹紧为止,同时固定套13套在固定杆9的右端,并且跟随着固定杆9进行一起移动,在固定套13进行移动的时候伸缩杆15会在嵌合槽14的内部进行伸缩,有效的根据纸管内径的大小来调节固定杆9之间的间距,增加了固定装置对纸管固定时的范围,提高了纸管固定时的牢固性,通过在连接座4的内部增加轴承10,有效的增强了固定板12在转动时的灵活性,降低了固定板12与连接座4之间的摩擦力,延长了固定板12的使用寿命。
以上显示和描述了本实用新型的基本原理和主要特征和本实用新型的优点,对于本领域技术人员而言,显然本实用新型不限于上述示范性实施例的细节,而且在不背离本实用新型的精神或基本特征的情况下,能够以其他的具体形式实现本实用新型。因此,无论从哪一点来看,均应将实施例看作是示范性的,而且是非限制性的,本实用新型的范围由所附权利要求而不是上述说明限定,因此旨在将落在权利要求的等同要件的含义和范围内的所有变化囊括在本实用新型内。不应将权利要求中的任何附图标记视为限制所涉及的权利要求。
此外,应当理解,虽然本说明书按照实施方式加以描述,但并非每个实施方式仅包含一个独立的技术方案,说明书的这种叙述方式仅仅是为清楚起见,本领域技术人员应当将说明书作为一个整体,各实施例中的技术方案也可以经适当组合,形成本领域技术人员可以理解的其他实施方式。
技术特征:
1.一种无接缝弹性纸管固定装置,包括固定平台(1),其特征在于:所述固定平台(1)上设置有支撑架(2),所述支撑架(2)上设置有电机(3)和连接座(4),所述电机(3)通过铆钉与所述支撑架(2)的左端相连接,所述连接座(4)活动连接在所述支撑架(2)下方的右侧,所述电机(3)的右端设置有固定座(5),所述固定座(5)上设置有内置槽(6),所述内置槽(6)的内部设置有推动器(7),所述推动器(7)的内部设置有推动杆(8),所述推动杆(8)上设置有固定杆(9);
所述连接座(4)的内部设置有轴承(10),所述轴承(10)的中心处设置有固定轴(11),所述固定轴(11)的左端设置有固定板(12),所述固定板(12)上设置有固定套(13)和嵌合槽(14),所述固定套(13)活动连接在所述固定板(12)的左表面,所述嵌合槽(14)位于所述固定板(12)的内部,所述嵌合槽(14)的内部设置有伸缩杆(15)。
2.根据权利要求1所述的一种无接缝弹性纸管固定装置,其特征在于:所述支撑架(2)采用铝合金的材质制作,并且通过铆钉与所述固定平台(1)的上表面相连接。
3.根据权利要求1所述的一种无接缝弹性纸管固定装置,其特征在于:所述固定座(5)采用合金钢的材质制作,并且通过铆钉与所述电机(3)的右端相连接,所述内置槽(6)的右端贯穿所述固定座(5)的右表面。
4.根据权利要求1所述的一种无接缝弹性纸管固定装置,其特征在于:所述推动器(7)通过铆钉对称连接在所述固定座(5)的内部,所述推动杆(8)的一端通过铆钉与所述固定杆(9)相连接,所述推动杆(8)的另一端嵌合在所述推动器(7)的内部,并且与所述推动器(7)的内部活动连接。
5.根据权利要求1所述的一种无接缝弹性纸管固定装置,其特征在于:所述固定轴(11)的右端嵌合在所述轴承(10)的中心处,并且与所述轴承(10)的中心处固定连接,所述固定轴(11)的左端通过铆钉与所述固定板(12)相连接,所述固定板(12)的右表面与所述连接座(4)的左表面活动连接,所述固定套(13)的位置与所述固定杆(9)位置相对应,所述伸缩杆(15)呈“鱼竿”状,并且通过铆钉与所述固定套(13)的左端固定连接。
技术总结
本实用新型公开了一种无接缝弹性纸管固定装置,其结构包括固定平台,所述固定平台上设置有支撑架,所述支撑架上设置有电机和连接座,所述电机通过铆钉与所述支撑架的左端相连接,所述连接座活动连接在所述支撑架下方的右侧,所述电机的右端设置有固定座,所述固定座上设置有内置槽,所述内置槽的内部设置有推动器,所述推动器的内部设置有推动杆,所述推动杆上设置有固定杆;所述连接座的内部设置有轴承,所述轴承的中心处设置有固定轴,所述固定轴的左端设置有固定板,所述固定板上设置有固定套和嵌合槽。本实用新型根据纸管内径的大小来调节固定杆之间的间距,增加了固定装置对纸管固定时的范围,提高了纸管固定时的牢固性。
技术研发人员:张文艳;王志勇;梁振峰;刘雷
受保护的技术使用者:保定乐凯包装午夜精品免费视频有限公司
技术研发日:2019.11.22
技术公布日:2020.09.08