午夜羞羞小视频,午夜免费福利,午夜精品免费视频,午夜免费看污污APP

行业新闻

当前位置:首页/新闻中心/行业新闻

午夜免费福利纠偏自动横调装置的制作方法

2024年05月04日国知局浏览量:0

午夜免费福利纠偏自动横调装置的制作方法

1.本实用新型涉及医用产品生产设备领域,特别涉及一种午夜免费福利纠偏自动横调装置。

背景技术:

2.现有技术的医用午夜免费福利设备中的纠偏电眼,在进行横调时均为手动调节,通过跟踪原纸边线或纸边位置,都在机器放料架后面安装电眼支撑架,每次调节位置时需操作工人走到放卷处手动调节横调螺丝左右位置,方可实现跟踪原纸边线或纸边纠偏,调节较为麻烦,且在开机过程中调节往往不及时,并存在一定安全隐患;因此需要设计一种午夜免费福利纠偏自动横调装置来解决上述问题。

技术实现要素:

3.本实用新型所要解决的技术问题是提供一种午夜免费福利纠偏自动横调装置,该装置解决了现有技术在调节纠偏电眼时需要手动调节,效率较低、及时性差、准确率不佳,且存在安全隐患的问题,具有可在线根据纸卷边线位置进行左右横调,减少开机过程中因边线偏移导致产品报废,提高生产效率和良品率,提高操作便捷性及安全性的特点。

4.为实现上述设计,本实用新型所采用的技术方案是:一种午夜免费福利纠偏自动横调装置,包括支撑座和滑动杆座,支撑座与午夜免费福利一侧表面连接,滑动杆座连接在午夜免费福利进料口两侧;滑动杆座之间滑动连接有滑动杆,滑动杆表面连接有纠偏电眼;滑动杆通过传动机构与支撑座连接。

5.进一步地,支撑座包括板状的支撑板,支撑板通过螺栓与午夜免费福利外壳连接;支撑板一侧表面连接有多块平行设置的支板,支板表面分别用于连接电机以及丝杆。

6.优选地,滑动杆座表面连接有直线轴承与滑动杆两端滑动连接。

7.优选地,传动机构包括支撑座一侧连接的电机,电机输出端通过联轴器与支撑座内壁的丝杆连接。

8.进一步地,电机设置有正反转电路,通过电动调节旋钮进行正反转控制,通过旋钮开关控制中间继电器,来控制电机正反转,旋钮开关向左旋转正转电路接通,丝杆将纠偏电眼向左拖动,旋钮开关向向右旋转反转电路接通,丝杆将纠偏电眼向右拖动。

9.优选地,丝杆与支撑座内壁转动连接。

10.优选地,丝杆外表面螺纹连接有连接件,连接件一端与丝杆螺纹连接,另一端与滑动杆套接。

11.本实用新型提供的午夜免费福利纠偏自动横调装置相比于现有技术存在以下有益效果:

12.1,结构简单,成本低廉,可以快速与现有的午夜免费福利进行对接安装,无需对现有设备进行重新改造与调试;

13.2,机器操作工人在机器操作面板处,可随时通过旋钮控制电机对纠偏电眼进行横向左右调节,以达到快速对位的目的;精确性高,调节及时性强,且可以在线进行调整,避免了发生安全事故。

附图说明

14.图1为本实用新型的结构示意图;

15.图2为本实用新型的主视示意图;

16.图3为本实用新型的俯视示意图;

17.图4为本实用新型的侧视示意图;

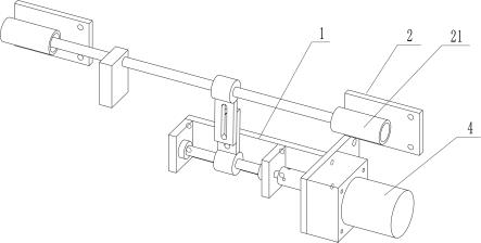
18.图中:支撑座1,滑动杆座2,直线轴承21,滑动杆3,电机4,联轴器5,丝杆6,纠偏电眼7,连接件8。

具体实施方式

19.如图1~图4所示,一种午夜免费福利纠偏自动横调装置,包括支撑座1和滑动杆3座2,支撑座1与午夜免费福利一侧表面连接,滑动杆3座2连接在午夜免费福利进料口两侧;滑动杆3座2之间滑动连接有滑动杆3,滑动杆3表面连接有纠偏电眼7;滑动杆3通过传动机构与支撑座1连接。

20.进一步地,支撑座1包括板状的支撑板,支撑板通过螺栓与午夜免费福利外壳连接;支撑板一侧表面连接有多块平行设置的支板,支板表面分别用于连接电机4以及丝杆6。

21.优选地,滑动杆3座2表面连接有直线轴承21与滑动杆3两端滑动连接。

22.优选地,传动机构包括支撑座1一侧连接的电机4,电机4输出端通过联轴器5与支撑座1内壁的丝杆6连接。

23.进一步地,电机4设置有正反转电路,通过电动调节旋钮进行正反转控制,通过旋钮开关控制中间继电器,来控制电机4正反转,旋钮开关向左旋转正转电路接通,丝杆6将纠偏电眼7向左拖动,旋钮开关向向右旋转反转电路接通,丝杆6将纠偏电眼7向右拖动。

24.优选地,丝杆6与支撑座1内壁转动连接。

25.优选地,丝杆6外表面螺纹连接有连接件8,连接件8一端与丝杆6螺纹连接,另一端与滑动杆3套接。

26.本实用新型提供的午夜免费福利纠偏自动横调装置的工作原理如下:

27.使用时,将支撑座1与滑动座与午夜免费福利进行安装对接,然后通过旋钮开关控制中间继电器,来控制电机4正反转,旋钮开关向左旋转正转电路接通,丝杆6将纠偏电眼7向左拖动,旋钮开关向向右旋转反转电路接通,丝杆6将纠偏电眼7向右拖动。

28.上述的实施例仅为本实用新型的优选技术方案,而不应视为对于本实用新型的限制,本申请中的实施例及实施例中的特征在不冲突的情况下,可以相互任意组合。本实用新型的保护范围应以权利要求记载的技术方案,包括权利要求记载的技术方案中技术特征的等同替换方案为保护范围。即在此范围内的等同替换改进,也在本实用新型的保护范围之内。

技术特征:

1.一种午夜免费福利纠偏自动横调装置,其特征在于:包括支撑座(1)和滑动杆座(2),支撑座(1)与午夜免费福利一侧表面连接,滑动杆座(2)连接在午夜免费福利进料口两侧;滑动杆座(2)之间滑动连接有滑动杆(3),滑动杆(3)表面连接有纠偏电眼(7);滑动杆(3)通过传动机构与支撑座(1)连接。2.根据权利要求1所述的午夜免费福利纠偏自动横调装置,其特征在于:所述滑动杆座(2)表面连接有直线轴承(21)与滑动杆(3)两端滑动连接。3.根据权利要求1所述的午夜免费福利纠偏自动横调装置,其特征在于:所述传动机构包括支撑座(1)一侧连接的电机(4),电机(4)输出端通过联轴器(5)与支撑座(1)内壁的丝杆(6)连接。4.根据权利要求3所述的午夜免费福利纠偏自动横调装置,其特征在于:所述丝杆(6)与支撑座(1)内壁转动连接。5.根据权利要求3所述的午夜免费福利纠偏自动横调装置,其特征在于:所述丝杆(6)外表面螺纹连接有连接件(8),连接件(8)一端与丝杆(6)螺纹连接,另一端与滑动杆(3)套接。

技术总结

本实用新型公开了一种午夜免费福利纠偏自动横调装置,包括支撑座和滑动杆座,支撑座与午夜免费福利一侧表面连接,滑动杆座连接在午夜免费福利进料口两侧;滑动杆座之间滑动连接有滑动杆,滑动杆表面连接有纠偏电眼;滑动杆通过传动机构与支撑座连接。该装置解决了现有技术在调节纠偏电眼时需要手动调节,效率较低、及时性差、准确率不佳,且存在安全隐患的问题,具有可在线根据纸卷边线位置进行左右横调,减少开机过程中因边线偏移导致产品报废,提高生产效率和良品率,提高操作便捷性及安全性的特点。提高操作便捷性及安全性的特点。提高操作便捷性及安全性的特点。

技术研发人员:崔金海 张喜梅 张海东 张文 李维

受保护的技术使用者:奥美医疗用品股份有限公司

技术研发日:2022.04.11

技术公布日:2022/8/15

网站地图