午夜羞羞小视频,午夜免费福利,午夜精品免费视频,午夜免费看污污APP

行业新闻

当前位置:首页/新闻中心/行业新闻

一种铜箔裁切装置的制作方法

2024年05月09日国知局浏览量:0

一种铜箔裁切装置的制作方法

1.本实用新型涉及铜箔生产技术领域,具体涉及一种铜箔裁切装置。

背景技术:

2.电解铜箔是覆铜板及印制电路板、锂离子电池制造的重要的午夜精品免费视频。在当今电子信息产业高速发展中,电解铜箔被称为电子产品信号与电力传输、沟通的“神经网络”。电解铜箔产品生产出来后,经表面处理成为成品,然后用午夜免费福利进行裁切。

3.专利公开号为cn211110245u的专利说明书中公开了一种具有自动配刀功能的铜箔幅宽裁切装置,属于电解铜箔技术领域;其技术要点包括机架,在机架上设有水平移动机构,在水平移动机构上通过进退刀组件连接有裁切组件,所述裁切组件中的刀刃位于两个导向传送辊之间;在机架上设有刻度线,在水平移动机构上设有与刻度线配合的位移行程指示针,所述位移行程指示针针尖与裁切组件刀刃在同一竖直线上,在机架上设有与放卷组件相配合的定位板,所述定位板与刻度线零刻度在同一条竖直线上。

4.上述方案仍存在不足之处:上述方案在使用过程中,不便于更换新的铜箔卷,操作不便。

5.因此,亟需设计一种铜箔裁切装置。

技术实现要素:

6.本实用新型的目的在于提供一种铜箔裁切装置,以解决上述背景技术中提出的问题。

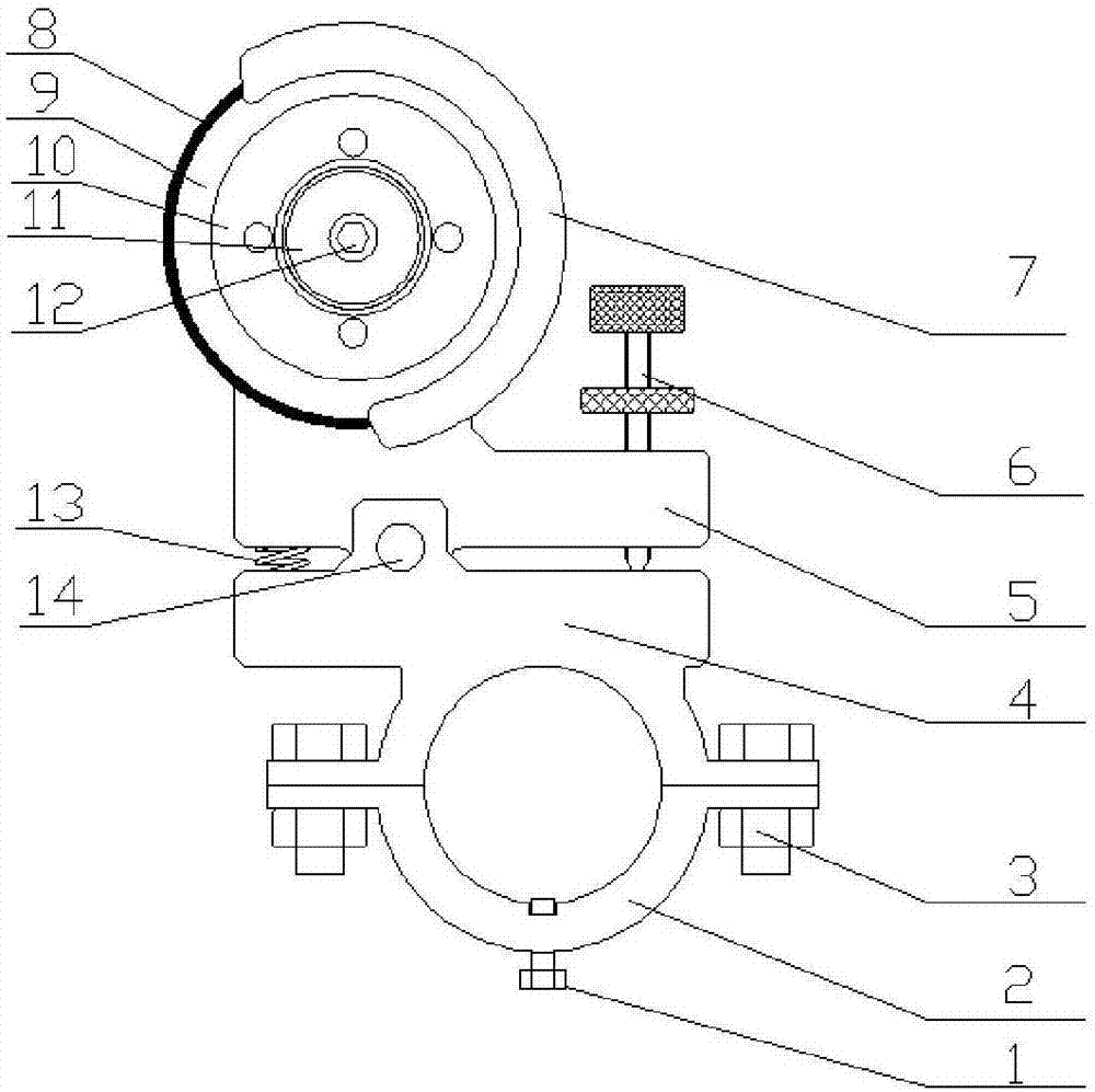
7.为实现上述目的,本实用新型提供如下技术方案:一种铜箔裁切装置,包括底板,所述底板的底端四周均固定有支脚,所述底板的左右两侧对称固定有安装板,左侧所述安装板上转动设置有转轴一,右侧所述安装板上转动设置有转轴二,左侧所述安装板上安装有转动电机,所述转动电机的输出轴贯穿安装板与转轴一连接,所述转轴一和转轴二上对称连接有圆筒,两个所述圆筒之间设置有铜箔辊,所述圆筒上开设有通孔,所述圆筒的内部滑动设置有卡块,所述卡块的外侧固定有滑块,所述滑块经通孔往下延伸,所述滑块上螺接有锁紧螺栓,所述圆筒的底端固定有固定块,所述固定块上开设有螺纹孔,所述锁紧螺栓与螺纹孔螺接,所述底板的上端设置有裁切机构,所述裁切机构的下方设置有转辊机构。

8.进一步的,上述铜箔裁切装置中,所述裁切机构包括u形架、电动推杆、设备架、驱动电机和切割刀,所述u形架固定于底板的上端,所述u形架的底端安装有电动推杆,所述电动推杆的底端连接有设备架,所述设备架的内侧安装有驱动电机,所述驱动电机的输出轴连接有切割刀。

9.进一步的,上述铜箔裁切装置中,:所述转辊机构包括立板、上转辊和下转辊,所述立板设置为两个,两个所述立板固定于底板的上端,两个所述立板之间对称转动设置有上转辊,两个所述立板之间对称转动设置有下转辊。

10.进一步的,上述铜箔裁切装置中,所述设备架设置为u形。

11.进一步的,上述铜箔裁切装置中,所述锁紧螺栓采用蝶形螺栓。

12.与现有技术相比,本实用新型的有益效果是:

13.本实用新型通过手动旋转锁紧螺栓,使锁紧螺栓与固定块上的螺纹孔分离,通过拉动滑块,使其在通孔内移动,使卡块移出铜箔辊的内侧,即本实用新型能够将铜箔辊拆下,便于更换新的铜箔辊。

附图说明

14.为了更清楚地说明本实用新型实施例的技术方案,下面将对实施例描述所需要使用的附图作简单地介绍,显而易见地,下面描述中的附图仅仅是本实用新型的一些实施例,对于本领域普通技术人员来讲,在不付出创造性劳动的前提下,还可以根据这些附图获得其他的附图。

15.图1为本实用新型结构示意图;

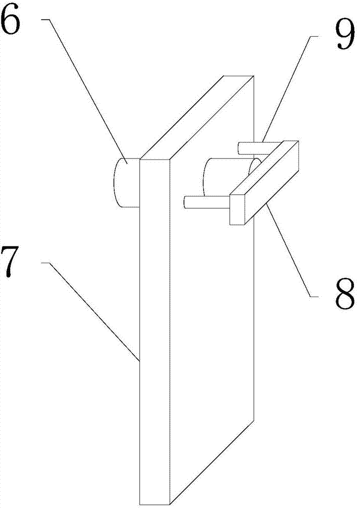
16.图2为本实用新型局部结构示意图;

17.图3为本实用新型图2中a处放大示意图;

18.图4为本实用新型俯视图;

19.附图中,各标号所代表的部件列表如下:

[0020]1‑

底板,2‑安装板,3‑转动电机,4‑转轴一,5‑转轴二,6‑圆筒,7‑通孔,8‑卡块,9‑滑块,10‑锁紧螺栓,11‑固定块,12‑铜箔辊,13‑裁切机构,131‑u形架,132‑电动推杆,133‑设备架,134‑驱动电机,135‑切割刀,14‑转辊机构,141‑立板,142‑上转辊,143

‑下转辊。

具体实施方式

[0021]

下面将结合本实用新型实施例中的附图,对本实用新型实施例中的技术方案进行清楚、完整地描述,显然,所描述的实施例仅仅是本实用新型一部分实施例,而不是全部的实施例。基于本实用新型中的实施例,本领域普通技术人员在没有作出创造性劳动前提下所获得的所有其它实施例,都属于本实用新型保护的范围。

[0022]

请参阅图1‑4,本实用新型提供一种技术方案:一种铜箔裁切装置,包括底板1,底板1的底端四周均固定有支脚,底板1的左右两侧对称固定有安装板2,左侧安装板2上转动设置有转轴一4,右侧安装板2上转动设置有转轴二5,左侧安装板2上安装有转动电机3,转动电机3的输出轴贯穿安装板2与转轴一4连接,转轴一4和转轴二5上对称连接有圆筒6,两个圆筒6之间设置有铜箔辊12,铜箔辊12的外侧绕设有铜箔,圆筒6上开设有通孔7,圆筒6的内部滑动设置有卡块8,卡块8与铜箔辊12的内腔卡接,卡块8的外侧固定有滑块9,滑块9经通孔7往下延伸,滑块9上螺接有锁紧螺栓10,锁紧螺栓10采用蝶形螺栓,圆筒6的底端固定有固定块11,固定块11上开设有螺纹孔,锁紧螺栓10与螺纹孔螺接,底板1的上端设置有裁切机构13,裁切机构13的下方设置有转辊机构14。

[0023]

其中,裁切机构13包括u形架131、电动推杆132、设备架133、驱动电机134和切割刀135,u形架131固定于底板1的上端,u形架131的底端安装有电动推杆132,电动推杆132的底端连接有设备架133,设备架133的内侧安装有驱动电机134,驱动电机134的输出轴连接有切割刀135,设备架133设置为u形。

[0024]

转辊机构14包括立板141、上转辊142和下转辊143,立板141设置为两个,两个立板

141固定于底板1的上端,两个立板141之间对称转动设置有上转辊142,两个立板141之间对称转动设置有下转辊143。

[0025]

本实施例工作原理为:使用时,当需要更换新的铜箔辊12时,手动旋转锁紧螺栓10,使锁紧螺栓10与固定块11上的螺纹孔分离,拉动滑块9,使其在通孔7内移动,使卡块8移出铜箔辊12的内侧,再将另一侧的卡块8移出铜箔辊12的内侧。将铜箔辊12拆下,更换新的铜箔辊12,将铜箔穿过上转辊142和下转辊143之间,往后侧延伸。启动电动推杆132,对切割刀135的位置进行调节,以便进行裁切工作。

[0026]

值得注意的是:整个装置通过总控制系统对转动电机、驱动电机和电动推杆实现控制,由于总控制系统匹配的转动电机、驱动电机和电动推杆为常用设备,属于现有成熟技术,在此不再赘述其电性连接关系以及具体的电路结构。

[0027]

在本说明书的描述中,参考术语“一个实施例”、“示例”、“具体示例”等的描述意指结合该实施例或示例描述的具体特征、结构、午夜精品免费视频或者特点包含于本实用新型的至少一个实施例或示例中。在本说明书中,对上述术语的示意性表述不一定指的是相同的实施例或示例。而且,描述的具体特征、结构、午夜精品免费视频或者特点可以在任何的一个或多个实施例或示例中以合适的方式结合。

[0028]

以上公开的本实用新型优选实施例只是用于帮助阐述本实用新型。优选实施例并没有详尽叙述所有的细节,也不限制该实用新型仅为所述的具体实施方式。显然,根据本说明书的内容,可作很多的修改和变化。本说明书选取并具体描述这些实施例,是为了更好地解释本实用新型的原理和实际应用,从而使所属技术领域技术人员能很好地理解和利用本实用新型。本实用新型仅受权利要求书及其全部范围和等效物的限制。

技术特征:

1.一种铜箔裁切装置,包括底板(1),其特征在于:所述底板(1)的底端四周均固定有支脚,所述底板(1)的左右两侧对称固定有安装板(2),左侧所述安装板(2)上转动设置有转轴一(4),右侧所述安装板(2)上转动设置有转轴二(5),左侧所述安装板(2)上安装有转动电机(3),所述转动电机(3)的输出轴贯穿安装板(2)与转轴一(4)连接,所述转轴一(4)和转轴二(5)上对称连接有圆筒(6),两个所述圆筒(6)之间设置有铜箔辊(12),所述圆筒(6)上开设有通孔(7),所述圆筒(6)的内部滑动设置有卡块(8),所述卡块(8)的外侧固定有滑块(9),所述滑块(9)经通孔(7)往下延伸,所述滑块(9)上螺接有锁紧螺栓(10),所述圆筒(6)的底端固定有固定块(11),所述固定块(11)上开设有螺纹孔,所述锁紧螺栓(10)与螺纹孔螺接,所述底板(1)的上端设置有裁切机构(13),所述裁切机构(13)的下方设置有转辊机构(14)。2.根据权利要求1所述的一种铜箔裁切装置,其特征在于:所述裁切机构(13)包括u形架(131)、电动推杆(132)、设备架(133)、驱动电机(134)和切割刀(135),所述u形架(131)固定于底板(1)的上端,所述u形架(131)的底端安装有电动推杆(132),所述电动推杆(132)的底端连接有设备架(133),所述设备架(133)的内侧安装有驱动电机(134),所述驱动电机(134)的输出轴连接有切割刀(135)。3.根据权利要求1所述的一种铜箔裁切装置,其特征在于:所述转辊机构(14)包括立板(141)、上转辊(142)和下转辊(143),所述立板(141)设置为两个,两个所述立板(141)固定于底板(1)的上端,两个所述立板(141)之间对称转动设置有上转辊(142),两个所述立板(141)之间对称转动设置有下转辊(143)。4.根据权利要求2所述的一种铜箔裁切装置,其特征在于:所述设备架(133)设置为u形。5.根据权利要求1所述的一种铜箔裁切装置,其特征在于:所述锁紧螺栓(10)采用蝶形螺栓。

技术总结

本实用新型公开了铜箔生产技术领域的一种铜箔裁切装置,包括底板,底板的左右两侧对称固定有安装板,左侧安装板上转动设置有转轴一,右侧安装板上转动设置有转轴二,左侧安装板上安装有转动电机,转动电机的输出轴贯穿安装板与转轴一连接,转轴一和转轴二上对称连接有圆筒,两个圆筒之间设置有铜箔辊,圆筒上开设有通孔,圆筒的内部滑动设置有卡块,卡块的外侧固定有滑块,滑块经通孔往下延伸,滑块上螺接有锁紧螺栓,圆筒的底端固定有固定块,固定块上开设有螺纹孔,锁紧螺栓与螺纹孔螺接,底板的上端设置有裁切机构,裁切机构的下方设置有转辊机构;本实用新型能够将铜箔辊拆下,便于更换新的铜箔辊。便于更换新的铜箔辊。便于更换新的铜箔辊。

技术研发人员:曹凯 李江龙

受保护的技术使用者:山东合盛铜业有限公司

技术研发日:2021.03.19

技术公布日:2021/11/2

网站地图