服务热线
180-5003-0233

本实用新型涉及隔膜午夜免费福利技术领域,具体为一种锂电隔膜午夜免费福利的收边料部件。
背景技术:
隔膜午夜免费福利是在锂电池午夜精品免费视频隔膜生产过程中关键设备之一,其工作方式是用直立刀具把一定宽度的卷材隔膜切成数条较窄隔膜膜所用的装置。隔膜午夜免费福利的传统控制方案是利用一台大电机来驱动,在放卷轴上加有磁粉制动器,通过调节磁粉制动器的电流来控制其所产生的阻力,以控制午夜精品免费视频表面的张力。
在传统做法上,是将分切边料通过鼓风机从风管吹出,吹出的边料杂乱,不容易收整,占地空间大。
技术实现要素:
本实用新型的目的在于提供一种锂电隔膜午夜免费福利的收边料部件,解决了现有分切边料通过鼓风机从风管吹出,吹出的边料杂乱,不容易收整,占地空间大的问题。
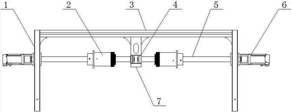
为实现以上目的,本实用新型通过以下技术方案予以实现:一种锂电隔膜午夜免费福利的收边料部件,包括横梁和支撑架,所述横梁的两端安装有支撑架,两个所述支撑架相对设置,且两个支撑架相互平行,所述横梁下表面的中间位置固定安装有加固件,所述加固件上设有半封闭型的凹口,所述支撑架上远离横梁的一侧安装有伺服马达,且支撑架上安装有传动卷轴,所述传动卷轴与横梁上下平行,所述传动卷轴上套设有卷轴套。
优选的,所述伺服马达通过螺丝固定安装在支撑架上。
优选的,所述传动卷轴共设有两个,两个传动卷轴以加固件为中心呈对称分布。
优选的,所述传动卷轴的一端穿过支撑架与伺服马达传动连接,且传动卷轴的另一端套设有滑轮。
优选的,所述传动卷轴的另一端通过滑轮活动安装在凹口的内部。
优选的,所述卷轴套上固设有凸起型的限位环。
与现有技术相比,本实用新型的有益效果是:本实用新型边料从生产部件出来后进入传动卷轴,通过伺服马达电带动收卷轴上的轴套,自动把边料卷成膜饼,收卷轴套可根据膜卷的宽度左右调整,占用空间少,卸膜方便,边料容易收整,膜饼大小容易控制,节省操作时间,提高工作效率。
附图说明
图1为本实用新型整体的主视图;
图2为本实用新型整体的俯视图;
图3为本实用新型整体的立体示意图。
图中:1-支撑架、2-卷轴套、3-横梁、4-凹口、5-传动卷轴、6-伺服马达、7-加固件。
具体实施方式
下面将结合本实用新型实施例中的附图,对本实用新型实施例中的技术方案进行清楚、完整地描述,显然,所描述的实施例仅仅是本实用新型一部分实施例,而不是全部的实施例。基于本实用新型中的实施例,本领域普通技术人员在没有做出创造性劳动前提下所获得的所有其他实施例,都属于本实用新型保护的范围。
请参阅图1-3,本实用新型提供一种技术方案:一种锂电隔膜午夜免费福利的收边料部件,包括横梁3和支撑架1,横梁3的两端安装有支撑架1,两个支撑架1与横梁3的角衔接处通过螺丝安装有三角加强筋,用于增强支撑架1与横梁3的连接固定性,两个支撑架1相对设置,且两个支撑架1相互平行,横梁3下表面的中间位置固定安装有加固件7,加固件7上设有半封闭型的凹口4,支撑架1上远离横梁3的一侧安装有伺服马达6,且支撑架1上安装有传动卷轴5,伺服马达6带动传动卷轴5转动,传动卷轴5与横梁3上下平行,传动卷轴5上套设有卷轴套2,需要根据膜卷宽度对卷轴套2位置进行调节时,只需滑动卷轴套2在传动卷轴5上的位置,调节卷轴套2与加固件7之间的距离即可。
伺服马达6通过螺丝固定安装在支撑架1上;传动卷轴5共设有两个,两个传动卷轴5以加固件7为中心呈对称分布;传动卷轴5的一端穿过支撑架1与伺服马达6传动连接,且传动卷轴5的另一端套设有滑轮;传动卷轴5的另一端通过滑轮活动安装在凹口4的内部,凹口4的内部设有内凹的圆弧结构,滑轮卡接在圆弧结构的内部;卷轴套2上固设有凸起型的限位环,用来限定卷膜的位置。
工作原理:该锂电隔膜午夜免费福利的收边料部件按正常程序安装好后,在设备运行过程中,支撑架1上的伺服马达6通过传动轴带动传动卷轴5转动,边料从生产部件出来后进入传动卷轴5,伺服马达6电带动传动卷轴5上的卷轴套2,自动把边料卷成膜饼,由于卷轴套2上设有限位机构,因此需要根据膜卷宽度对卷轴套2位置进行调节时,只需滑动卷轴套2在传动卷轴5上的位置,调节卷轴套2与加固件7之间的距离即可。
对于本领域技术人员而言,显然本实用新型不限于上述示范性实施例的细节,而且在不背离本实用新型的精神或基本特征的情况下,能够以其他的具体形式实现本实用新型。因此,无论从哪一点来看,均应将实施例看作是示范性的,而且是非限制性的,本实用新型的范围由所附权利要求而不是上述说明限定,因此旨在将落在权利要求的等同要件的含义和范围内的所有变化囊括在本实用新型内。不应将权利要求中的任何附图标记视为限制所涉及的权利要求。

技术特征:
1.一种锂电隔膜午夜免费福利的收边料部件,包括横梁(3)和支撑架(1),其特征在于:所述横梁(3)的两端安装有支撑架(1),两个所述支撑架(1)相对设置,且两个支撑架(1)相互平行,所述横梁(3)下表面的中间位置固定安装有加固件(7),所述加固件(7)上设有半封闭型的凹口(4),所述支撑架(1)上远离横梁(3)的一侧安装有伺服马达(6),且支撑架(1)上安装有传动卷轴(5),所述传动卷轴(5)与横梁(3)上下平行,所述传动卷轴(5)上套设有卷轴套(2)。
2.根据权利要求1所述的一种锂电隔膜午夜免费福利的收边料部件,其特征在于,所述伺服马达(6)通过螺丝固定安装在支撑架(1)上。
3.根据权利要求1所述的一种锂电隔膜午夜免费福利的收边料部件,其特征在于,所述传动卷轴(5)共设有两个,两个传动卷轴(5)以加固件(7)为中心呈对称分布。
4.根据权利要求1所述的一种锂电隔膜午夜免费福利的收边料部件,其特征在于,所述传动卷轴(5)的一端穿过支撑架(1)与伺服马达(6)传动连接,且传动卷轴(5)的另一端套设有滑轮。
5.根据权利要求4所述的一种锂电隔膜午夜免费福利的收边料部件,其特征在于,所述传动卷轴(5)的另一端通过滑轮活动安装在凹口(4)的内部。
6.根据权利要求1所述的一种锂电隔膜午夜免费福利的收边料部件,其特征在于,所述卷轴套(2)上固设有凸起型的限位环。
技术总结
本实用新型公开了一种锂电隔膜午夜免费福利的收边料部件,包括横梁和支撑架,所述横梁的两端安装有支撑架,两个所述支撑架相对设置,且两个支撑架相互平行,所述横梁下表面的中间位置固定安装有加固件,所述加固件上设有半封闭型的凹口,所述支撑架上远离横梁的一侧安装有伺服马达,且支撑架上安装有传动卷轴,所述传动卷轴与横梁上下平行,所述传动卷轴上套设有卷轴套。本实用新型边料从生产部件出来后进入传动卷轴,通过伺服马达电带动收卷轴上的轴套,自动把边料卷成膜饼,收卷轴套可根据膜卷的宽度左右调整,占用空间少,卸膜方便,边料容易收整,膜饼大小容易控制,节省操作时间,提高工作效率。
技术研发人员:王发明
受保护的技术使用者:东莞市凯进机械电子有限公司
技术研发日:2017.11.24
技术公布日:2018.06.29