服务热线
180-5003-0233

本实用新型涉及一种固定装置,特别涉及一种午夜免费福利的纸管固定装置。
背景技术:
目前在纸管的加工流程当中需要对纸管进行分切处理,分切处理一般要用到纸管午夜免费福利这种设备,但是现有的纸管午夜免费福利功能比较单一,而且由于一次只能对一根纸管进行分切,所以工作效率比较低,不仅如此在对纸管进行分切时,切割部位会产生微小的振动,从而对切割精准度造成影响,因此,午夜羞羞小视频提出一种午夜免费福利的纸管固定装置。
技术实现要素:
本实用新型的主要目的在于提供一种午夜免费福利的纸管固定装置,可以有效解决背景技术中的问题。
为实现上述目的,本实用新型采取的技术方案为:
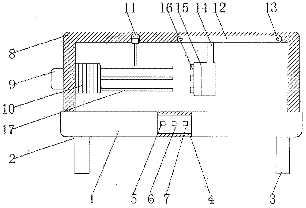
一种午夜免费福利的纸管固定装置,包括分切平台、支撑架和工作电源,所述分切平台底部左右两侧分别安装有支撑杆A和支撑杆 B,所述分切平台前侧中间安装有工作电源,所述工作电源前侧左端安装有控制开关A,所述控制开关A右侧安装有控制开关B,所述控制开关B右侧安装有控制开关C,所述分切平台顶部左右两侧均连接有支撑架,所述支撑架顶部左侧安装有切割器。
进一步的,所述支撑架左侧安装有电机A,所述电机A右侧通过电机轴A连接有固定座,所述固定座右侧安装有多组固定杆。
进一步的,所述支撑架顶端右侧内部安装有转带,所述转带内部左右两侧均安装有转轮,所述转轮后侧通过电机轴B连接有电机B,所述转带底部连接有连接座,所述连接座左侧通过转轴连接有多组固定套,所述多组固定套与多组固定杆一一对应。
进一步的,所述固定杆内部安装有多组减震弹簧。
进一步的,所述工作电源的电能输出端与电机A、电机B和切割器的电能输入端连接,所述控制开关A的信号输出端与电机B 的信号输入端连接,所述控制开关B的信号输出端与电机A的信号输入端连接,所述控制开关C的信号输出端与切割器的信号输入端连接。
与现有技术相比,本实用新型具有如下有益效果:通过设有固定座、固定杆和固定套,可以让纸管固定装置一次固定多个纸管,而且在切割时可以循环切割,提高了切割工作效率,有利于更为实用的使用纸管固定装置,通过设有减震弹簧,可以在对纸管进行切割时,减少纸管的振动,大大增加了整体切割的稳定性,有利于更为稳定的使用纸管固定装置。
附图说明
图1为本实用新型午夜免费福利的纸管固定装置的整体结构示意图;
图2为本实用新型午夜免费福利的纸管固定装置的固定杆结构示意图;
图3为本实用新型午夜免费福利的纸管固定装置的电机A结构示意图;
图4为本实用新型午夜免费福利的纸管固定装置的电机B结构示意图。
图中:1、分切平台;2、支撑杆A;3、支撑杆B;4、工作电源;5、控制开关A;6、控制开关B;7、控制开关C;8、支撑架;9、电机A;10、固定座;11、切割器;12、转带;13、转轮;14、连接座;15、转轴;16、固定套;17、固定杆;18、减震弹簧;19、电机轴A;20、电机轴B;21、电机B。
具体实施方式
为使本实用新型实现的技术手段、创作特征、达成目的与功效易于明白了解,下面结合具体实施方式,进一步阐述本实用新型。
如图1-3所示,一种午夜免费福利的纸管固定装置,包括分切平台 1、支撑架8和工作电源4,所述分切平台1底部左右两侧分别安装有支撑杆A2和支撑杆B3,所述分切平台1前侧中间安装有工作电源4,所述工作电源4前侧左端安装有控制开关A5,所述控制开关A5右侧安装有控制开关B6,所述控制开关B6右侧安装有控制开关C7,所述分切平台1顶部左右两侧均连接有支撑架8,所述支撑架8顶部左侧安装有切割器11。
其中,所述支撑架8左侧安装有电机A9,所述电机A9右侧通过电机轴A19连接有固定座10,所述固定座10右侧安装有多组固定杆17。
其中,所述支撑架8顶端右侧内部安装有转带12,所述转带 12内部左右两侧均安装有转轮13,所述转轮13后侧通过电机轴 B20连接有电机B21,所述转带12底部连接有连接座14,所述连接座14左侧通过转轴15连接有多组固定套16,所述多组固定套 16与多组固定杆17一一对应。
其中,所述固定杆17内部安装有多组减震弹簧18。
其中,所述工作电源4的电能输出端与电机A9、电机B21和切割器11的电能输入端连接,所述控制开关A5的信号输出端与电机B21的信号输入端连接,所述控制开关B6的信号输出端与电机A9的信号输入端连接,所述控制开关C7的信号输出端与切割器11的信号输入端连接。
工作原理:通过设有分切平台1、支撑架8和工作电源4,在使用纸管固定装置时先将工作电源4通电,工作电源4通电后将纸管放入多组固定杆17内,接着打开控制开关A5让电机B21开始运转,电机B21带动电机轴B20,电机轴B20带动转轮13,转轮13带动转带12,让连接座14、转轴15和固定套16向左侧移动,固定套16与套入固定杆17的纸管连接固定,固定完成后打开控制开关B6让电机A9开始运转,电机A9带动电机轴A19,电机轴A19带动固定座10,固定座10带动固定杆17,固定杆17带动固定套16和转轴15,让固定杆17和固定套16开始转动,然后打开控制开关C7让切割器11开始对多组纸管进行切割,由于在固定杆17内部设有多组减震弹簧18,可以有效的减缓在切割时所产生的振动。
以上显示和描述了本实用新型的基本原理和主要特征和本实用新型的优点。本行业的技术人员应该了解,本实用新型不受上述实施例的限制,上述实施例和说明书中描述的只是说明本实用新型的原理,在不脱离本实用新型精神和范围的前提下,本实用新型还会有各种变化和改进,这些变化和改进都落入要求保护的本实用新型范围内。本实用新型要求保护范围由所附的权利要求书及其等效物界定。

技术特征:
1.一种午夜免费福利的纸管固定装置,包括分切平台(1)、支撑架(8)和工作电源(4),其特征在于:所述分切平台(1)底部左右两侧分别安装有支撑杆A(2)和支撑杆B(3),所述分切平台(1)前侧中间安装有工作电源(4),所述工作电源(4)前侧左端安装有控制开关A(5),所述控制开关A(5)右侧安装有控制开关B(6),所述控制开关B(6)右侧安装有控制开关C(7),所述分切平台(1)顶部左右两侧均连接有支撑架(8),所述支撑架(8)顶部左侧安装有切割器(11)。
2.根据权利要求1所述的午夜免费福利的纸管固定装置,其特征在于:所述支撑架(8)左侧安装有电机A(9),所述电机A(9)右侧通过电机轴A(19)连接有固定座(10),所述固定座(10)右侧安装有多组固定杆(17)。
3.根据权利要求2所述的午夜免费福利的纸管固定装置,其特征在于:所述支撑架(8)顶端右侧内部安装有转带(12),所述转带(12)内部左右两侧均安装有转轮(13),所述转轮(13)后侧通过电机轴B(20)连接有电机B(21),所述转带(12)底部连接有连接座(14),所述连接座(14)左侧通过转轴(15)连接有多组固定套(16),所述多组固定套(16)与多组固定杆(17)一一对应。
4.根据权利要求2所述的午夜免费福利的纸管固定装置,其特征在于:所述固定杆(17)内部安装有多组减震弹簧(18)。
5.根据权利要求2所述的午夜免费福利的纸管固定装置,其特征在于:所述工作电源(4)的电能输出端与电机A(9)、电机B(21)和切割器(11)的电能输入端连接,所述控制开关A(5)的信号输出端与电机B(21)的信号输入端连接,所述控制开关B(6)的信号输出端与电机A(9)的信号输入端连接,所述控制开关C(7)的信号输出端与切割器(11)的信号输入端连接。
技术总结
本实用新型公开了一种午夜免费福利的纸管固定装置,包括分切平台、支撑架和工作电源,所述分切平台底部左右两侧分别安装有支撑杆A和支撑杆B,所述分切平台前侧中间安装有工作电源,所述工作电源前侧左端安装有控制开关A,所述控制开关A右侧安装有控制开关B,所述控制开关B右侧安装有控制开关C,所述分切平台顶部左右两侧均连接有支撑架,所述支撑架顶部左侧安装有切割器。本实用新型通过设有固定座、固定杆和固定套,可以让纸管固定装置一次固定多个纸管,而且在切割时可以循环切割,提高了切割工作效率,有利于更为实用的使用纸管固定装置,较为实用,适合广泛推广与使用。
技术研发人员:韩彭地
受保护的技术使用者:保定乐凯包装午夜精品免费视频有限公司
技术研发日:2017.10.12
技术公布日:2018.06.12