服务热线
180-5003-0233

本实用新型涉及一种纸管打孔定位装置。
背景技术:
本实用新型阐述的纸筒是用于缠绕薄膜或线缆的中心管状结构,其主要午夜精品免费视频是再生用纸等,一般采用多层缠绕粘合形成,因此需要在制成后需要进行烘干,传统的纸筒成型都是通过存放架进行堆叠后移动至其他设备上进行打孔,这就需要较多的人力消耗,效率也低,且对孔过程麻烦。
技术实现要素:
本实用新型对上述问题进行了改进,即本实用新型要解决的技术问题是现有的纸筒卸料方式多采用人工,效率低。
本实用新型的具体实施方案是:一种纸管打孔定位装置,包括斜向设置的卸料平台及设置于卸料平台下方的输送平台,所述输送平台的两侧设置有对称设置的两个打孔机,两个打孔机的钻头相向设置,所述打孔机下端固定于一导轨上,两个打孔机之间朝向卸料平台的一侧具有活动顶板,输送平台朝向卸料平台的一侧具有支撑架,所述支撑架中部具有置放纸管的凹槽。
进一步的,所述打孔机包括打孔机底座及固定于打孔机底座上的钻孔装置,所述底座与导轨滑动配合,所述活动顶板下端经扭簧铰接于导轨,所述活动顶板下端朝向卸料平台的一侧具有固定于导轨防止活动顶板反向旋转的限位板。
进一步的,所述支撑架包括固定于输送平台两侧的竖直固定杆,两个竖直固定杆上端之间固定有横向的横梁,所述凹槽设置于横梁中部。
进一步的,所述凹槽内侧嵌有滑轮。
进一步的,所述卸料平台上方设置有承接输送装置推送纸筒的送料槽,所述送料槽包括拐状的活动板及竖向设置的固定挡板,所述活动板后侧端与固定挡板铰接,活动板下端设有驱动活动板绕铰接处转动的驱动气缸,驱动气缸的伸缩杆与活动板底部铰链连接。
与现有技术相比,本实用新型具有以下有益效果:本实用新型结构简单,能够方便地实现纸筒的下料好后续纸筒的打孔,打孔定位准确,效率高。
附图说明
图1为本实用新型结构示意图。
图2为本实用新型侧视结构示意图。
图3为本实用新型打孔机与导轨配合结构示意图。
图4为本实用新型滑轮布局结构示意图。
图5为本实用新送料槽结构示意图。
具体实施方式
下面结合附图和具体实施方式对本实用新型做进一步详细的说明。
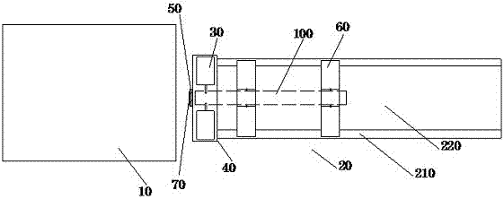
如图1~5所示,一种纸管打孔定位装置,包括斜向设置的卸料平台10及设置于卸料平台10下方的输送平台20,所述输送平台20的两侧设置有对称设置的打孔机30,两个打孔机的钻头相向设置,所述打孔机下端固定于一导轨40上,本实施例中,所述的输送平台20包括机架210及设置于机架中部的皮带传送装置220,所述导轨40架设在皮带传送装置220的前侧,所述打孔机30包括打孔机底座310及固定于打孔机底座上的钻孔装置320,所述底座与导轨滑动配合,钻孔装置320通过电机驱动将钻头旋转对纸管进行打孔,利用导轨可以调节打孔机的位置,两个打孔机之间朝向卸料平台10的一侧具有活动顶板50。输送平台朝向卸料平台的一侧具有支撑架60,所述支撑架60中部具有置放纸管的凹槽601。
本实施例中,所述的活动顶板50下端经扭簧铰接于导轨40,所述活动顶板下端朝向卸料平台的一侧具有固定于导轨防止活动顶板反向旋转的限位板70,这样活动顶板50能够相输送平台20一侧翻转以避免对纸管进入的干扰,当纸管滑落至输送平台20上方的支撑架60后,在扭簧的作用下活动顶板50回复位置,受限于限位板60的作用保持数值,活动顶板50的作用是在于纸管在进行钻孔时进行限位,以使纸管100的端部抵顶活动顶板50,从而保证钻孔位置的准确。
本实施例中,所述支撑架60包括固定于输送平台两侧的竖直固定杆610,两个竖直固定杆上端之间固定有横向的横梁620,所述凹槽601设置于横梁中部。为了利于纸管的滑动,所述凹槽601内侧嵌有滑轮602。
操作时,卸料平台10主要用于将纸管成型设备裁切的一段段纸管滑落下来,操作人员站立于输送平台20的两侧从而实现将纸管拉动至凹槽601内,两个操作人员推动开启后的钻孔装置320实现对纸管端部的打孔,以利于后续加入吊钩进行吊装。
所述卸料平台10上方设置有承接输送装置推送纸筒的送料槽110,所述送料槽包括拐状的活动板111及竖向设置的固定挡板112,所述活动板112后侧端与固定挡板112铰接,活动板111下端设有驱动活动板绕铰接处转动的驱动气缸113,驱动气缸的伸缩杆与活动板底部铰链连接。
本实用新型如果公开或涉及了互相固定连接的零部件或结构件,那么,除另有声明外,固定连接可以理解为:能够拆卸地固定连接( 例如使用螺栓或螺钉连接),也可以理解为:不可拆卸的固定连接(例如铆接、焊接),当然,互相固定连接也可以为一体式结构( 例如使用铸造工艺一体成形制造出来) 所取代(明显无法采用一体成形工艺除外)。
另外,上述本实用新型公开的任一技术方案中所应用的用于表示位置关系或形状的术语除另有声明外其含义包括与其近似、类似或接近的状态或形状。
本实用新型提供的任一部件既可以是由多个单独的组成部分组装而成,也可以为一体成形工艺制造出来的单独部件。
最后应当说明的是:以上实施例仅用以说明本实用新型的技术方案而非对其限制;尽管参照较佳实施例对本实用新型进行了详细的说明,所属领域的普通技术人员应当理解:依然可以对本实用新型的具体实施方式进行修改或者对部分技术特征进行等同替换;而不脱离本实用新型技术方案的精神,其均应涵盖在本实用新型请求保护的技术方案范围当中。

技术特征:
1.一种纸管打孔定位装置,其特征在于,包括斜向设置的卸料平台及设置于卸料平台下方的输送平台,所述输送平台的两侧设置有对称设置的两个打孔机,两个打孔机的钻头相向设置,所述打孔机下端固定于一导轨上,两个打孔机之间朝向卸料平台的一侧具有活动顶板,输送平台朝向卸料平台的一侧具有支撑架,所述支撑架中部具有置放纸管的凹槽。
2.根据权利要求1所述的一种纸管打孔定位装置,其特征在于,所述打孔机包括打孔机底座及固定于打孔机底座上的钻孔装置,所述底座与导轨滑动配合,所述活动顶板下端经扭簧铰接于导轨,所述活动顶板下端朝向卸料平台的一侧具有固定于导轨防止活动顶板反向旋转的限位板。
3.根据权利要求2所述的一种纸管打孔定位装置,其特征在于,所述支撑架包括固定于输送平台两侧的竖直固定杆,两个竖直固定杆上端之间固定有横向的横梁,所述凹槽设置于横梁中部。
4.根据权利要求1所述的一种纸管打孔定位装置,其特征在于,所述凹槽内侧嵌有滑轮。
5.根据权利要求1所述的一种纸管打孔定位装置,其特征在于,所述卸料平台上方设置有承接输送装置推送纸筒的送料槽,所述送料槽包括拐状的活动板及竖向设置的固定挡板,所述活动板后侧端与固定挡板铰接,活动板下端设有驱动活动板绕铰接处转动的驱动气缸,驱动气缸的伸缩杆与活动板底部铰链连接。
技术总结
本实用新型提供一种纸管打孔定位装置,包括斜向设置的卸料平台及设置于卸料平台下方的输送平台,所述输送平台的两侧设置有对称设置的两个打孔机,两个打孔机的钻头相向设置,所述打孔机下端固定于一导轨上,两个打孔机之间朝向卸料平台的一侧具有活动顶板,输送平台朝向卸料平台的一侧具有支撑架,所述支撑架中部具有置放纸管的凹槽。本实用新型结构简单,能够方便地实现纸筒的下料好后续纸筒的打孔,打孔定位准确,效率高。
技术研发人员:马家存
受保护的技术使用者:福融辉实业(福建)有限公司
文档号码:201721071047
技术研发日:2017.08.25
技术公布日:2018.05.04