服务热线
180-5003-0233

本实用新型涉及午夜免费福利技术领域,具体涉及一种碳带午夜免费福利废料收边装置。
背景技术:
午夜免费福利是午夜精品免费视频加工装置中的常用设备,通过切割刀将午夜精品免费视频切割成预定大小的尺寸,加工过程中会将边缘多余的部分切掉,因此会产生大量的被切掉的废料,需要对这些被切掉的废料进行清理;但是,现有的午夜免费福利结构设置不合理,边缘多余部分切下后不能及时收集,堆积在工作台一侧或掉落在地面上,通过人工收集处理,效率低,且需要耗费大量人力和时间。
技术实现要素:
为解决上述技术问题,本实用新型提供了一种碳带午夜免费福利废料收边装置,结构设置合理、使用方便、废边料收集容易、安装拆卸方便。
本实用新型采用如下技术方案:
一种碳带午夜免费福利废料收边装置,包括固定于午夜免费福利机架上的底座、设置于所述底座上的收料盘以及与所述收料盘连接的电机,其特征在于,所述收料盘包括与所述电机连接的固定轴,设置于所述固定轴上的固定盘以及活动设置于所述固定轴上的活动盘,所述活动盘的轴向设有供固定轴穿过的通孔,沿所述固定轴的周向分布有若干卡块,所述卡块沿径向滑动设置于所述固定轴上,所述固定轴内还设有驱动所述卡块滑动的调节机构,所述通孔的内壁上设有与所述卡块相配合的卡槽。
优选的,所述固定轴内设有调节腔,所述卡块的一端贯穿所述固定轴设置于所述调节腔内,所述卡块与所述固定轴之间还设有弹性件,所述调节机构包括转动设置于所述调节腔内的转盘,沿所述转盘的周向分布有与所述卡块相对应的凸块,所述凸块能够分别与所述卡块相接触。
优选的,所述凸块上沿同一转动方向上设有斜面,所述卡块的端部与所述斜面相配合。
优选的,所述调节机构上还包括固定所述转盘的固定机构,所述固定机构包括与所述转盘连接的转轴以及操作块,所述操作块上设有与所述转轴相配合的滑腔,所述转轴的侧壁上沿轴向设有滑块,所述滑腔的内壁上设有与所述滑块相配合的滑槽,所述固定轴的端部还设有与所述调节腔相配合的端盖,所述转轴转动设置于所述端盖上,所述操作块与所述端盖可拆卸的固定连接。
优选的,沿所述操作块的周向分布有若干沿轴向设置的固定块,所述端盖上设有分别与所述固定块相配合的固定孔。
优选的,所述滑腔内沿周向设有一圈橡胶圈,所述转轴上沿轴向至少设有两个与所述橡胶圈相配合的V型槽。
优选的,所述固定轴的侧壁上还沿轴向设有导向槽,所述通孔的内壁上设有与所述导向槽相配合的导向块,所述导向槽内设有与所述导向块相配合的限位面。
优选的,所述卡块包括底座和卡扣,所述底座上沿所述固定轴的径向设有凹腔,所述卡扣滑动于所述凹腔内,所述卡扣与所述凹腔的底部之间还设有弹簧,所述卡扣上设有供所述活动盘滑过的滑动斜面以及与所述卡槽相配合的固定面,所述固定面和所述限位面之间的轴向距离与所述卡槽的端面和所述导向块的端面的轴向距离相同。
本实用新型的有益效果:本实用新型结构设置合理、使用方便、废边料收集容易、安装拆卸方便。
附图说明
附图用来提供对本实用新型的优选的理解,并且构成说明书的一部分,与本实用新型的实施例一起用于解释本实用新型,并不构成对本实用新型的限制。在附图中:
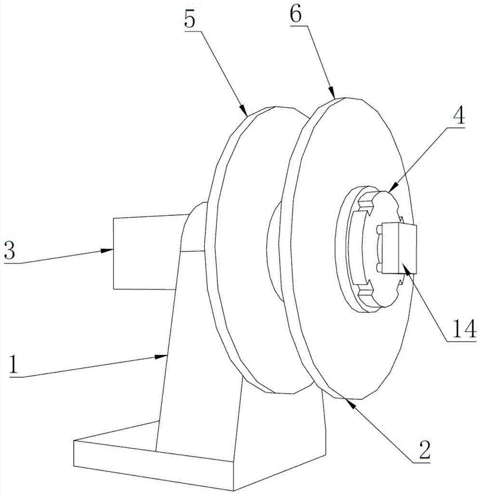
图1为本实用新型的整体结构示意图;
图2为本实用新型活动盘未安装时的结构示意图;
图3为本实用新型固定轴处的结构示意图;
图4为本实用新型活动盘的结构示意图;
图5为本实用新型调节腔内的结构示意图;
图6为本实用新型端盖处的结构示意图;
图7为本实用新型转轴与操作块连接处的结构示意图。
图中标记为:1、底座;2、收料盘;3、电机;4、固定轴;5、固定盘;6、活动盘;7、通孔;8、卡块;9、卡槽;10、调节腔;11、弹性件;12、转盘;13、转轴;14、操作块;15、滑腔;16、滑块;17、滑槽;18、端盖;19、固定块;20、固定孔;21、橡胶圈;22、V型槽;23、导向槽;24、导向块;25、限位面;26、底座;27、卡扣;28、凹腔;29、弹簧;30、滑动斜面;31、固定面;32、凸块。
具体实施方式
下面结合附图描述本实用新型的具体实施方式。
如图1至图7所示,为本实施例的一种碳带午夜免费福利废料收边装置,包括固定于午夜免费福利机架上的底座1、设置于底座1上的收料盘2以及与收料盘2连接的电机3,收料盘2包括与电机3连接的固定轴4,设置于固定轴4上的固定盘5以及活动设置于固定轴4上的活动盘6,活动盘6的轴向设有供固定轴4穿过的通孔7,沿固定轴4的周向分布有若干卡块8,卡块8沿径向滑动设置于固定轴4上,固定轴4内还设有驱动卡块8滑动的调节机构,通孔7的内壁上设有与卡块8相配合的卡槽9。
固定轴4内设有调节腔10,卡块8的一端贯穿固定轴4设置于调节腔10内,卡块8与固定轴4之间还设有弹性件11,调节机构包括转动设置于调节腔10内的转盘12,沿转盘12的周向分布有与卡块8相对应的凸块32,凸块32能够分别与卡块8相接触。
凸块32上沿同一转动方向上设有斜面,卡块8的端部与斜面相配合。
调节机构上还包括固定转盘12的固定机构,固定机构包括与转盘12连接的转轴13以及操作块14,操作块14上设有与转轴13相配合的滑腔15,转轴13的侧壁上沿轴向设有滑块16,滑腔15的内壁上设有与滑块16相配合的滑槽17,固定轴4的端部还设有与调节腔10相配合的端盖18,转轴13转动设置于端盖18上,操作块14与端盖18可拆卸的固定连接。
沿操作块14的周向分布有若干沿轴向设置的固定块19,端盖18上设有分别与固定块19相配合的固定孔20。
滑腔15内沿周向设有一圈橡胶圈21,转轴13上沿轴向至少设有两个与橡胶圈21相配合的V型槽22。
固定轴4的侧壁上还沿轴向设有导向槽23,通孔7的内壁上设有与导向槽23相配合的导向块24,导向槽23内设有与导向块24相配合的限位面25。
卡块8包括底座26和卡扣27,底座26滑动设置于固定轴4上,弹性件11连接底座26与固定轴4,底座26上沿固定轴4的径向设有凹腔28,卡扣27滑动于凹腔28内,卡扣27与凹腔28的底部之间还设有弹簧29,卡扣27上设有供活动盘6滑过的滑动斜面30以及与卡槽9相配合的固定面31,固定面31和限位面25之间的轴向距离与卡槽9的端面和导向块24的端面的轴向距离相同。
本实用新型的工作原理:
安装时,将活动盘6沿导向槽23滑入固定轴4,活动盘6先压缩卡扣27滑入凹腔28内,至卡槽9处卡扣27弹出将活动盘6固定,将废边收卷在固定轴4上,通过电机3驱动收料盘2转动,随午夜免费福利工作在线收卷废边,使用方便、废边料收集容易;
拆卸时,拉动操作块14使固定块19脱离固定孔20,转动操作块14通过转轴13带动转盘12转动,转盘12上的凸块32与底座26分离,在弹性件11的作用下,底座26下行,整个卡块8下行,卡扣27低于固定轴4表面,滑动活动盘6取出即可,重新安装时,转动操作块14使凸块32与底座26接触,凸块32推动底座26上行,卡扣27高于固定轴4表面,推动操作块14使固定块19位于固定孔20内将转轴13固定,再滑动活动盘6安装,能够使活动盘6固定更稳固。
以上所述仅为本实用新型的优选实施例而已,并不用于限制本实用新型,尽管参照前述实施例对本实用新型进行了详细的说明,对于本领域的技术人员来说,其依然可以对前述各实施例所记载的技术方案进行修改,或者对其中部分技术特征进行等同替换。凡在本实用新型的精神和原则之内,所作的任何修改、等同替换、改进等,均应包含在本实用新型的保护范围之内。
技术特征:
1.一种碳带午夜免费福利废料收边装置,包括固定于午夜免费福利机架上的底座、设置于所述底座上的收料盘以及与所述收料盘连接的电机,其特征在于,所述收料盘包括与所述电机连接的固定轴,设置于所述固定轴上的固定盘以及活动设置于所述固定轴上的活动盘,所述活动盘的轴向设有供固定轴穿过的通孔,沿所述固定轴的周向分布有若干卡块,所述卡块沿径向滑动设置于所述固定轴上,所述固定轴内还设有驱动所述卡块滑动的调节机构,所述通孔的内壁上设有与所述卡块相配合的卡槽。
2.根据权利要求1所述的一种碳带午夜免费福利废料收边装置,其特征在于,所述固定轴内设有调节腔,所述卡块的一端贯穿所述固定轴设置于所述调节腔内,所述卡块与所述固定轴之间还设有弹性件,所述调节机构包括转动设置于所述调节腔内的转盘,沿所述转盘的周向分布有与所述卡块相对应的凸块,所述凸块能够分别与所述卡块相接触。
3.根据权利要求2所述的一种碳带午夜免费福利废料收边装置,其特征在于,所述凸块上沿同一转动方向上设有斜面,所述卡块的端部与所述斜面相配合。
4.根据权利要求2或3所述的一种碳带午夜免费福利废料收边装置,其特征在于,所述调节机构上还包括固定所述转盘的固定机构,所述固定机构包括与所述转盘连接的转轴以及操作块,所述操作块上设有与所述转轴相配合的滑腔,所述转轴的侧壁上沿轴向设有滑块,所述滑腔的内壁上设有与所述滑块相配合的滑槽,所述固定轴的端部还设有与所述调节腔相配合的端盖,所述转轴转动设置于所述端盖上,所述操作块与所述端盖可拆卸的固定连接。
5.根据权利要求4所述的一种碳带午夜免费福利废料收边装置,其特征在于,沿所述操作块的周向分布有若干沿轴向设置的固定块,所述端盖上设有分别与所述固定块相配合的固定孔。
6.根据权利要求5所述的一种碳带午夜免费福利废料收边装置,其特征在于,所述滑腔内沿周向设有一圈橡胶圈,所述转轴上沿轴向至少设有两个与所述橡胶圈相配合的V型槽。
7.根据权利要求1或6所述的一种碳带午夜免费福利废料收边装置,其特征在于,所述固定轴的侧壁上还沿轴向设有导向槽,所述通孔的内壁上设有与所述导向槽相配合的导向块,所述导向槽内设有与所述导向块相配合的限位面。
8.根据权利要求7所述的一种碳带午夜免费福利废料收边装置,其特征在于,所述卡块包括底座和卡扣,所述底座上沿所述固定轴的径向设有凹腔,所述卡扣滑动于所述凹腔内,所述卡扣与所述凹腔的底部之间还设有弹簧,所述卡扣上设有供所述活动盘滑过的滑动斜面以及与所述卡槽相配合的固定面,所述固定面和所述限位面之间的轴向距离与所述卡槽的端面和所述导向块的端面的轴向距离相同。
技术总结
本实用新型提供一种碳带午夜免费福利废料收边装置,涉及午夜免费福利技术领域,包括固定于午夜免费福利机架上的底座、设置于所述底座上的收料盘以及与所述收料盘连接的电机,所述收料盘包括与所述电机连接的固定轴,设置于所述固定轴上的固定盘以及活动设置于所述固定轴上的活动盘,所述活动盘的轴向设有供固定轴穿过的通孔,沿所述固定轴的周向分布有若干卡块,所述卡块沿径向滑动设置于所述固定轴上,所述固定轴内还设有驱动所述卡块滑动的调节机构,所述通孔的内壁上设有与所述卡块相配合的卡槽。本实用新型结构设置合理、使用方便、废边料收集容易、安装拆卸方便。
技术研发人员:马寅
受保护的技术使用者:南京安顺自动化装备有限公司
技术研发日:2018.05.31
技术公布日:2018.12.21