服务热线
180-5003-0233

本技术涉及午夜免费福利领域,更具体的说,涉及一种方便固定的水刺无纺布午夜免费福利。
背景技术:
1、水刺无纺布是将高压微细水流喷射到一层或多层纤维网上,使纤维相互缠结在一起,从而使纤网得以加固而具备一定强力,得到的织物即为水刺无纺布。而布料用分切设备,是利用分切布料的裁刀片对物料进行裁切的机械设备,在水刺无纺布生产加工过程中,通常需要对大面积的布料,按照尺寸要求进行分切工作,在分切过程中需要压住布料,以防布料发生偏移而影响装置工作。
2、在此基础上,中国专利公告号cn207862671u公开了一种pp或pet纺粘水刺无纺布午夜免费福利,包括基座,其特征在于:所述基座顶部的两侧均焊接有立柱,且位于左侧的立柱的一侧通过轴承铰接有传动杆;
3、但是上述专利申请中存在以下不足之处:现有的水刺无纺布分切装置结构功能较为简单,缺少可以自动固定布料的功能,而手动固定不仅操作较为麻烦,且容易导致布料移动进而使切割位置发生偏移,影响工作精度,降低装置的实用性。
技术实现思路
1、本实用新型的目的在于提供一种沥青烟气净化装置,采用本装置进行工作,从而解决了上述背景中现有的水刺无纺布分切装置结构功能较为简单,缺少可以自动固定布料的功能,而手动固定不仅操作较为麻烦,且容易导致布料移动进而使切割位置发生偏移,影响工作精度,降低装置的实用性的问题。
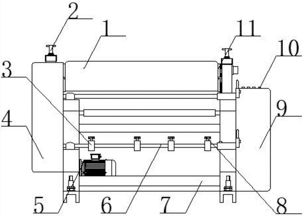
2、为达到上述目的,本实用新型提供的技术方案为:一种方便固定的水刺无纺布午夜免费福利,包括工作台,工作台顶面设置有固定组件,固定组件一侧设置有裁切组件,所述工作台顶面设置有第一液压缸,第一液压缸设置有两组,工作台顶面滑动连接有切割垫板,切割垫板与两组所述的第一液压缸输出端相连接,固定组件包括固定连接在工作台顶面的支撑框板架,支撑框板架一侧设置有第一电机,支撑框板架一侧内壁设置有长腔槽,长腔槽内腔转动连接有长丝杆,长丝杆与第一电机输出端相连接,支撑框板架上端一侧滑动连接有滑动连接长块,裁切组件包括固定连接在工作台一侧的l型支撑板,l型支撑板上端固定连接有第三液压缸,第三液压缸设置有两组,第三液压缸下端设置有主板,主板与两组所述的第三液压缸输出端相连接,主板一侧设置有第二电机,主板中部设置有限位长槽,限位长槽贯穿主板上下两侧。
3、优选的,所述裁切组件还包括转动连接在限位长槽内腔的第一丝杆,第一丝杆与第二电机输出端相连接。
4、优选的,所述第一丝杆外周螺纹连接有滑块,滑块滑动连接在限位长槽内腔。
5、优选的,所述滑块底部固定连接有连接长板部件,连接长板部件一侧设置有裁布圆盘刀部件。
6、优选的,所述固定组件还包括螺纹连接在长丝杆外周的限位滑块,限位滑块滑动连接在长腔槽内腔。
7、优选的,所述限位滑块一侧与滑动连接长块一侧固定连接。
8、优选的,所述滑动连接长块顶部设置有第二液压缸,第二液压缸设置有两组。
9、优选的,所述滑动连接长块下端设置有固定压块,固定压块设置有两组,两组所述的固定压块分别与两组对应所述的固定压块输出端相连接。
10、采用本实用新型提供的技术方案,与现有技术相比,具有如下有益效果:
11、1、本实用新型的一种方便固定的水刺无纺布午夜免费福利,将需要进行分切的水刺无纺布放置在切割垫板顶面,同时启动两组第一液压缸,第一液压缸伸长将切割垫板推动至裁切组件的下方,且使得布料需要裁切位置处在裁布圆盘刀部件正下方,在对布料分切前,启动第一电机,使得第一电机进行正向旋转,第一电机驱动长丝杆进行转动,由于限位滑块被限位在长腔槽腔槽内部,长丝杆会驱动限位滑块、滑动连接长块以及两组固定压块向靠近布料的方向水平移动,直至两组固定压块移动至布料正上方,可同时启动两组第二液压缸,第二液压缸伸出会带动固定压块伸长,直至两组固定压块降落至布料顶面,且其位置处在布料需要分切的位置的一侧,对无纺布进行压紧固定工作,以防后续分切时布料发生移位,后续操作者可通过裁切组件对布料进行裁切工作,在布料分切完成后可使得第二液压缸缩短,固定压块离开布料,第一电机反向转动,其带动滑动连接长块向远离裁切组件的方向水平移动,这种设置通过工作台方便快速的对布料进行压紧固定工作,防止布料后续分切时发生移位,而影响物料的裁切质量,提升装置的实用性。
12、2、本实用新型的一种方便固定的水刺无纺布午夜免费福利,当水刺无纺布已经处在裁切组件的下方,且裁布圆盘刀部件与布料裁切位置已经竖直对应时,操作者可启动第三液压缸,两组第三液压缸伸长使得主板、连接长板部件以及裁布圆盘刀部件下降,直至使得裁布圆盘刀部件与布料表面相接触,裁布圆盘刀部件先处于布料裁切位置的边缘侧,而此时的布料通过两组固定压块进行压紧固定,后启动第二电机,第二电机正向转动带动第一丝杆正向转动,滑块被限位在限位长槽内腔,第一丝杆会驱动滑块、连接长板部件和裁布圆盘刀部件顺着限位长槽方向做水平移动,而裁布圆盘刀部件的横向水平移动,就是顺着布料裁切位置的一侧划切至另一侧,即可对布料完成分切工作,使用完毕的裁切组件,即可收缩第三液压缸,第三液压缸带动主板和裁布圆盘刀部件向上运动,使得裁布圆盘刀部件远离布料,从而影响切割方便操作者后续对布料进行拿取,本实用中的裁布圆盘刀部件为成熟的现有技术,市面上均有售卖,又名切布刀,适合用于布料、铺棉及各种柔软材质之大面积裁切,刀片为标准圆形,这样切割布料时候能够有效的避免布料因为太软而堆积在一起,这种设置利用裁切组件可快速对布料自动进行裁切工作,自动化操作简便,提升装置工作效率,提高了午夜免费福利的实用性。
技术特征:
1.一种方便固定的水刺无纺布午夜免费福利,包括工作台(1),工作台(1)顶面设置有固定组件(2),固定组件(2)一侧设置有裁切组件(3),其特征在于:所述工作台(1)顶面设置有第一液压缸(11),第一液压缸(11)设置有两组,工作台(1)顶面滑动连接有切割垫板(12),切割垫板(12)与两组所述的第一液压缸(11)输出端相连接,固定组件(2)包括固定连接在工作台(1)顶面的支撑框板架(21),支撑框板架(21)一侧设置有第一电机(22),支撑框板架(21)一侧内壁设置有长腔槽(23),长腔槽(23)内腔转动连接有长丝杆(24),长丝杆(24)与第一电机(22)输出端相连接,支撑框板架(21)上端一侧滑动连接有滑动连接长块(27),裁切组件(3)包括固定连接在工作台(1)一侧的l型支撑板(31),l型支撑板(31)上端固定连接有第三液压缸(33),第三液压缸(33)设置有两组,第三液压缸(33)下端设置有主板(32),主板(32)与两组所述的第三液压缸(33)输出端相连接,主板(32)一侧设置有第二电机(39),主板(32)中部设置有限位长槽(34),限位长槽(34)贯穿主板(32)上下两侧。
2.根据权利要求1所述的一种方便固定的水刺无纺布午夜免费福利,其特征在于:所述裁切组件(3)还包括转动连接在限位长槽(34)内腔的第一丝杆(35),第一丝杆(35)与第二电机(39)输出端相连接。
3.根据权利要求2所述的一种方便固定的水刺无纺布午夜免费福利,其特征在于:所述第一丝杆(35)外周螺纹连接有滑块(36),滑块(36)滑动连接在限位长槽(34)内腔。
4.根据权利要求3所述的一种方便固定的水刺无纺布午夜免费福利,其特征在于:所述滑块(36)底部固定连接有连接长板部件(37),连接长板部件(37)一侧设置有裁布圆盘刀部件(38)。
5.根据权利要求4所述的一种方便固定的水刺无纺布午夜免费福利,其特征在于:所述固定组件(2)还包括螺纹连接在长丝杆(24)外周的限位滑块(25),限位滑块(25)滑动连接在长腔槽(23)内腔。
6.根据权利要求5所述的一种方便固定的水刺无纺布午夜免费福利,其特征在于:所述限位滑块(25)一侧与滑动连接长块(27)一侧固定连接。
7.根据权利要求6所述的一种方便固定的水刺无纺布午夜免费福利,其特征在于:所述滑动连接长块(27)顶部设置有第二液压缸(26),第二液压缸(26)设置有两组。
8.根据权利要求7所述的一种方便固定的水刺无纺布午夜免费福利,其特征在于:所述滑动连接长块(27)下端设置有固定压块(28),固定压块(28)设置有两组,两组所述的固定压块(28)分别与两组对应所述的固定压块(28)输出端相连接。
技术总结
本技术公开了一种方便固定的水刺无纺布午夜免费福利,涉及午夜免费福利领域,包括工作台,工作台顶面设置有固定组件,固定组件一侧设置有裁切组件,工作台顶面设置有第一液压缸,第一液压缸设置有两组,工作台顶面滑动连接有切割垫板,切割垫板与两组第一液压缸输出端相连接,固定组件包括固定连接在工作台顶面的支撑框板架,支撑框板架一侧设置有第一电机,支撑框板架一侧内壁设置有长腔槽,长腔槽内腔转动连接有长丝杆,长丝杆与第一电机输出端相连接,支撑框板架上端一侧滑动连接有滑动连接长块,这种设置通过工作台方便快速的对布料进行压紧固定工作,防止布料后续分切时发生移位,而影响物料的裁切质量,提升装置的实用性。
技术研发人员:刘丽伟,王远富,倪青青,陈霄
受保护的技术使用者:赛得利(中国)纤维有限公司
技术研发日:20231025
技术公布日:2024/7/11