午夜羞羞小视频,午夜免费福利,午夜精品免费视频,午夜免费看污污APP

行业新闻

当前位置:首页/新闻中心/行业新闻

一种午夜免费福利刀具的制作方法

2024年10月22日国知局浏览量:0

一种午夜免费福利刀具的制作方法

本实用新型涉及午夜免费福利技术领域,具体涉及一种午夜免费福利刀具。

背景技术:

午夜免费福利是一种将宽幅的纸张、云母带或者薄膜分切成多条窄幅午夜精品免费视频的机械设备,常用语造纸机械、电线电缆云母带及印刷包装机械。传统的午夜免费福利刀片由滚轴刀座和刀片构成,刀片沿滚轴刀座轴向等间距分布,刀片一般为环形刀片并且刀片上开有若干个螺孔,然后刀片套设在滚轴刀座上两侧通过两片固定片用螺栓固定,从而将刀片固定在滚轴刀座上,这样的结构虽然保证了刀片的稳固,但是在进行刀片更换和维护的时候,拆装十分麻烦,螺栓多并且所有多片分开进行拆卸,工作量很大,操作麻烦。

技术实现要素:

为了克服上述现有技术的缺陷,本实用新型所要解决的技术问题是提供一种能够对刀片之间的间距进行调节的午夜免费福利刀具。

为了解决上述技术问题,本实用新型采用的技术方案为:提供一种午夜免费福利刀具,包括滚轴刀座、垫圈、刀片和锁紧装置,所述滚轴刀座为圆柱形,所述滚轴刀座的两端设置有轴承座;所述滚轴刀座靠近轴承座的外表面上分别开设有螺纹槽,所述锁紧装置旋接在螺纹槽上;

所述垫圈为环形垫圈,所述垫圈的内径大小与滚轴刀座的外径匹配;

所述刀片为环形刀片,所述刀片的内径大小与滚轴刀座的外径匹配;

所述垫圈和刀片安装在锁紧装置之间的滚轴刀座外表面上。

进一步的,上述午夜免费福利刀具中,所述锁紧装置为锁紧螺栓,每组所述螺纹槽上设置有两个的锁紧装置。

进一步的,上述午夜免费福利刀具中,所述轴承座上设置有防护罩。

进一步的,上述午夜免费福利刀具中,所述午夜免费福利刀具还包括支撑座,所述支撑座位于滚轴刀座的下方,所述支撑座上设置有支撑组件,所述支撑组件包括支撑槽和圆形支撑盘,所述圆形支撑盘设置在支撑槽口内,所述圆形支撑盘的中心轴与滚轴刀座的中心轴平行,所述支撑盘设置在垫圈下。

进一步的,上述午夜免费福利刀具中,支撑座上还设置有垫块,所述支撑组件和垫块之间可排列设置。

本实用新型的有益效果在于:通过使用圆柱形的滚轴刀座,配合垫圈、刀片和锁紧装置,能够通过静摩擦进行固定,同时能够对刀片与垫圈的之间进行排列组合,以满足不同的分切需要,从而避免了传统的滚轴刀座一体设计带来的诸多问题;通过静摩擦进行固定,能够保证滚轴刀座在工作过程中的动平衡,避免了部分滚轴刀座上开设槽口或者凸条与刀片固定使滚轴刀座的重量分布不均匀导致的在切割时切口边沿不整齐;同时圆柱形的滚轴刀座能够避免抖动和噪音的产生,进而可以避免抖动对设备的磨损,延长使用寿命。

附图说明

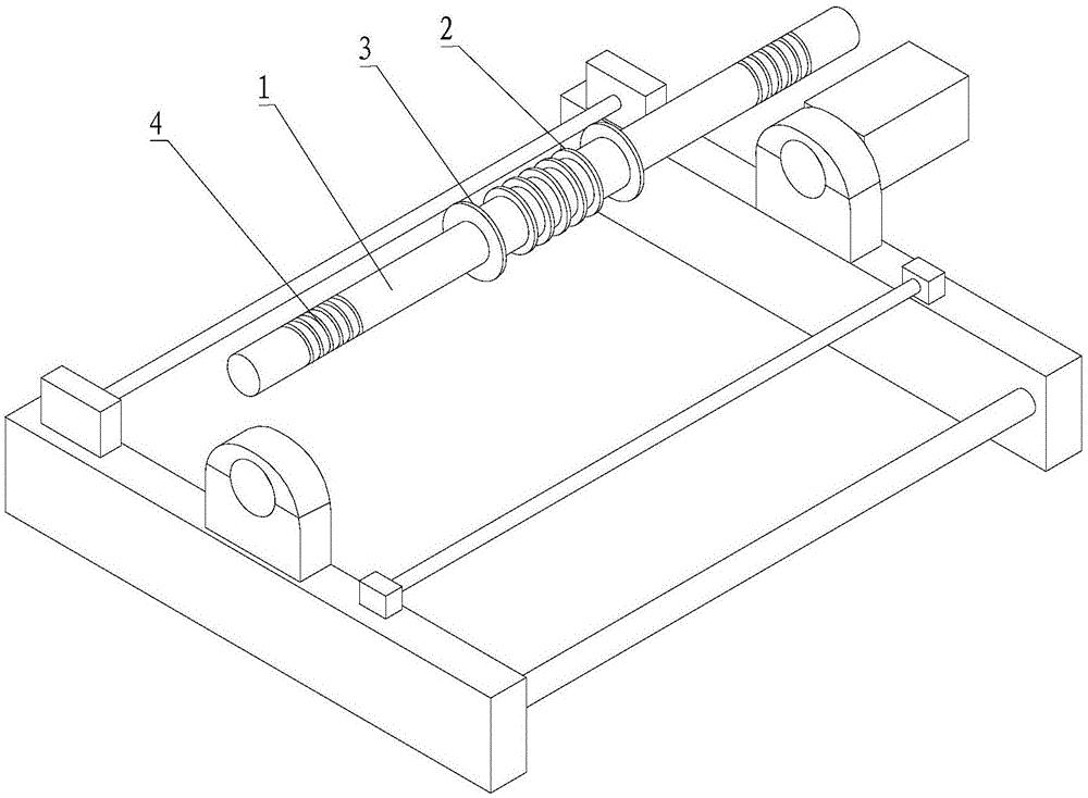
图1所示为本实用新型具体实施方式的一种午夜免费福利刀具的结构示意图;

标号说明:1、刀座;2、垫圈;3、刀片;4、螺纹槽。

具体实施方式

为详细说明本实用新型的技术内容、所实现目的及效果,以下结合实施方式并配合附图予以说明。

本实用新型最关键的构思在于:通过使用圆柱形的滚轴刀座,配合垫圈、刀片和锁紧装置,能够通过静摩擦进行固定,同时能够对刀片与垫圈的之间进行排列组合,以满足不同的分切需要。

请参照图1所示,本实用新型的一种午夜免费福利刀具,包括滚轴刀座1、垫圈2、刀片3和锁紧装置,所述滚轴刀座1为圆柱形,所述滚轴刀座1的两端设置有轴承座;所述滚轴刀座1靠近轴承座的外表面上分别开设有螺纹槽4,所述锁紧装置旋接在螺纹槽4上;

所述垫圈2为环形垫圈2,所述垫圈2的内径大小与滚轴刀座1的外径匹配;

所述刀片3为环形刀片3,所述刀片3的内径大小与滚轴刀座1的外径匹配;

所述垫圈2和刀片3安装在锁紧装置之间的滚轴刀座1外表面上。

从上述描述可知,本实用新型的拆装过程为:通过旋下其中一个锁紧装置,将垫圈2与刀片3之间的顺序按照要求进行调整,再将锁紧装置进行旋紧,从而时垫圈2与刀片3之间具有静摩擦力增大,即可使用。

从上述描述可知,本实用新型的有益效果在于:通过使用圆柱形的滚轴刀座1,配合垫圈2、刀片3和锁紧装置,能够通过静摩擦进行固定,同时能够对刀片3与垫圈2的之间进行排列组合,以满足不同的分切需要,从而避免了传统的滚轴刀座1一体设计带来的诸多问题;通过静摩擦进行固定,能够保证滚轴刀座1在工作过程中的动平衡,避免了部分滚轴刀座1上开设槽口或者凸条与刀片3固定使滚轴刀座1的重量分布不均匀导致的在切割时切口边沿不整齐;同时圆柱形的滚轴刀座1能够避免抖动和噪音的产生,进而可以避免抖动对设备的磨损,延长使用寿命。

进一步的,所述锁紧装置为锁紧螺栓,每组所述螺纹槽4上设置有两个的锁紧装置。

从上述描述可知,通过两个的锁紧装置,能够提升锁紧效果,避免工作过程中锁紧装置的松动造成切口不平整的问题产生。

进一步的,所述轴承座上设置有防护罩。

从上述描述可知,通过防护罩,能够避免异物进入到轴承座内,对轴承座进行保护同时也避免危险的发生。

进一步的,所述午夜免费福利刀具还包括支撑座,所述支撑座位于滚轴刀座1的下方,所述支撑座上设置有支撑组件,所述支撑组件包括支撑槽和圆形支撑盘,所述圆形支撑盘设置在支撑槽口内,所述圆形支撑盘的中心轴与滚轴刀座1的中心轴平行,所述支撑盘设置在垫圈2下。

从上述描述可知,通过使用支撑盘,在午夜免费福利切割多卷午夜精品免费视频时,能够对垫圈2进行支撑,从而提升稳定性。

进一步的,支撑座上还设置有垫块,所述支撑组件和垫块之间可排列设置。

从上述描述可知,通过支撑组件和垫块之间可排列设置,能够根据垫圈2与刀片3的排列组合进行排列。

实施例一

一种午夜免费福利刀具,包括滚轴刀座、垫圈、刀片和锁紧装置,所述滚轴刀座为圆柱形,所述滚轴刀座的两端设置有轴承座;所述滚轴刀座靠近轴承座的外表面上分别开设有螺纹槽,所述锁紧装置旋接在螺纹槽上;

所述垫圈为环形垫圈,所述垫圈的内径大小与滚轴刀座的外径匹配;

所述刀片为环形刀片,所述刀片的内径大小与滚轴刀座的外径匹配;

所述垫圈和刀片安装在锁紧装置之间的滚轴刀座外表面上。

所述锁紧装置为锁紧螺栓,每组所述螺纹槽上设置有两个的锁紧装置。

所述轴承座上设置有防护罩。

所述午夜免费福利刀具还包括支撑座,所述支撑座位于滚轴刀座的下方,所述支撑座上设置有支撑组件,所述支撑组件包括支撑槽和圆形支撑盘,所述圆形支撑盘设置在支撑槽口内,所述圆形支撑盘的中心轴与滚轴刀座的中心轴平行,所述支撑盘设置在垫圈下。

支撑座上还设置有垫块,所述支撑组件和垫块之间可排列设置。

综上所述,本实用新型提供的一种午夜免费福利刀具,通过使用圆柱形的滚轴刀座,配合垫圈、刀片和锁紧装置,能够通过静摩擦进行固定,同时能够对刀片与垫圈的之间进行排列组合,以满足不同的分切需要,从而避免了传统的滚轴刀座一体设计带来的诸多问题;通过静摩擦进行固定,能够保证滚轴刀座在工作过程中的动平衡,避免了部分滚轴刀座上开设槽口或者凸条与刀片固定使滚轴刀座的重量分布不均匀导致的在切割时切口边沿不整齐;同时圆柱形的滚轴刀座能够避免抖动和噪音的产生,进而可以避免抖动对设备的磨损,延长使用寿命。

通过两个的锁紧装置,能够提升锁紧效果,避免工作过程中锁紧装置的松动造成切口不平整的问题产生。

通过防护罩,能够避免异物进入到轴承座内,对轴承座进行保护同时也避免危险的发生。

通过使用支撑盘,在午夜免费福利切割多卷午夜精品免费视频时,能够对垫圈进行支撑,从而提升稳定性。

通过支撑组件和垫块之间可排列设置,能够根据垫圈与刀片的排列组合进行排列。

以上所述仅为本实用新型的实施例,并非因此限制本实用新型的专利范围,凡是利用本实用新型说明书及附图内容所作的等同变换,或直接或间接运用在相关的技术领域,均同理包括在本实用新型的专利保护范围内。

技术特征:

1.一种午夜免费福利刀具,其特征在于,包括滚轴刀座、垫圈、刀片和锁紧装置,所述滚轴刀座为圆柱形,所述滚轴刀座的两端设置有轴承座;所述滚轴刀座靠近轴承座的外表面上分别开设有螺纹槽,所述锁紧装置旋接在螺纹槽上;

所述垫圈为环形垫圈,所述垫圈的内径大小与滚轴刀座的外径匹配;

所述刀片为环形刀片,所述刀片的内径大小与滚轴刀座的外径匹配;

所述垫圈和刀片安装在锁紧装置之间的滚轴刀座外表面上。

2.根据权利要求1所述的午夜免费福利刀具,其特征在于,所述锁紧装置为锁紧螺栓,每组所述螺纹槽上设置有两个的锁紧装置。

3.根据权利要求1所述的午夜免费福利刀具,其特征在于,所述轴承座上设置有防护罩。

4.根据权利要求1所述的午夜免费福利刀具,其特征在于,所述午夜免费福利刀具还包括支撑座,所述支撑座位于滚轴刀座的下方,所述支撑座上设置有支撑组件,所述支撑组件包括支撑槽和圆形支撑盘,所述圆形支撑盘设置在支撑槽口内,所述圆形支撑盘的中心轴与滚轴刀座的中心轴平行,所述支撑盘设置在垫圈下。

5.根据权利要求4所述的午夜免费福利刀具,其特征在于,支撑座上还设置有垫块,所述支撑组件和垫块之间可排列设置。

技术总结

本实用新型涉及午夜免费福利技术领域,具体涉及一种午夜免费福利刀具,包括滚轴刀座、垫圈、刀片和锁紧装置,所述滚轴刀座为圆柱形,所述滚轴刀座的两端设置有轴承座;所述滚轴刀座靠近轴承座的外表面上分别开设有螺纹槽,所述锁紧装置旋接在螺纹槽上;所述垫圈为环形垫圈,所述垫圈的内径大小与滚轴刀座的外径匹配;所述刀片为环形刀片,所述刀片的内径大小与滚轴刀座的外径匹配;所述垫圈和刀片安装在锁紧装置之间的滚轴刀座外表面上;本实用新型通过使用圆柱形的滚轴刀座,配合垫圈、刀片和锁紧装置,能够通过静摩擦进行固定,同时能够对刀片与垫圈的之间进行排列组合,以满足不同的分切需要。

技术研发人员:黄圣义

受保护的技术使用者:福建昱力商标布有限公司

技术研发日:2018.07.24

技术公布日:2019.03.29

网站地图