服务热线
180-5003-0233

1.本实用新型涉及一种午夜免费福利设备改造,尤其涉及一种适用于午夜免费福利无动力源、便捷且稳定进行钢芯上、下卷的卡头改进。
背景技术:
2.目前的午夜免费福利放卷卡头形式主要是利用机械机构相对运动,使卡头直径变大来涨紧钢芯。这种放卷卡头形式都存在结构相对复杂,故障率高,购买价格高,需要定期更换相关备件,钢芯上下卷不方便的问题。而为了解决这个问题,也有厂家设计气胀卡头形式,利用压缩空气的压力将钢芯涨紧,但这种卡头形式需要动力源,并且安装和拆卸钢芯需要反复充放气,影响效率。此外,还有厂家设计卡头为平键驱动形式,利用卡头上的平键和钢芯上的键槽来同步驱动钢芯。但使用这种卡头需要将所有钢芯都开好键槽,同时还需要定期更换卡头平键,成本相对高。
3.综上可见现有午夜免费福利所使用各类卡头形式,均存在结构复杂,故障率高,维修更换备件成本高,钢芯上下卷不方便等问题,影响分切工序的正常生产效率。
技术实现要素:
4.本实用新型的目的旨在提出一种午夜免费福利锥面涨紧放卷卡头,使钢芯便于上下卷操作。
5.本实用新型实现上述目的的技术解决方案是,一种午夜免费福利锥面涨紧放卷卡头,与午夜免费福利的卡头安装底座相接固定,并对接钢芯,其特征在于:所述卡头设为刚性一体成型的帽状套头,卡头中段主体部分的外径与钢芯的内径间隙配合,且卡头在逆向于与钢芯对接方向的一端外壁设为自中段外径渐增的锥面,钢芯装接状态下,钢芯端部内壁硬性卡接定位于锥面止转。
6.进一步地,所述锥面设为增加阻尼的粗糙面。
7.进一步地,所述锥面粘贴有可替换且增加阻尼的砂皮。
8.进一步地,所述锥面与卡头中段外壁在轴剖面上所形成的夹角为170°以上的钝角。
9.进一步地,所述卡头安装底座和卡头各设有同轴贯穿的至少一个装接孔且通过螺栓紧固成一体。
10.进一步地,卡头在靠近钢芯对接方向的一端外壁设为自中段外径渐缩的导向坡面。
11.应用本实用新型的卡头结构改良,具备进步性:在保留午夜免费福利原放卷卡头安装位置和尺寸的基础上,通过一体成型带锥面的卡头简化结构,降低了卡头故障率和维护成本,同时提高了钢芯上下卷的便利性及分切生产效率。
附图说明
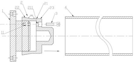
12.图1是本实用新型锥面涨紧放卷卡头及其关联组装件的轴剖结构示意图。
具体实施方式
13.以下便结合实施例附图,对本实用新型的具体实施方式作进一步的详述,以使本实用新型技术方案更易于理解、掌握,从而对本实用新型的保护范围做出更为清晰的界定。
14.有鉴于传统机械机构相对运动、气胀及平键驱动等形式的卡头在实际应用中所体现而出的诸多缺陷,为满足当前午夜免费福利需要频繁上下卷的需求,本实用新型设计者仰赖于长期机具设计经验,兼顾卡头安装位置,创新提出了一种午夜免费福利锥面涨紧放卷卡头。
15.如图1所示的轴剖结构示意图可见,该锥面涨紧放卷卡头2与午夜免费福利的卡头安装底座1相接固定,并对接钢芯4。从概述的技术特征来看,该卡头2设为刚性一体成型的帽状套头,卡头中段21主体部分的外径与钢芯4的内径间隙配合,且卡头2在逆向于与钢芯对接方向的一端外壁设为自中段外径渐增的锥面22,钢芯装接状态下,钢芯端部内壁硬性卡接定位于锥面止转。由于午夜免费福利上卷过程中驱动卡头安装底座朝相对方向施压锁紧,因此卡头2所设锥面22在与钢芯端部卡接时,将轴向的对接力转换为垂直于锥面的涨紧压力,从而通过驱动卡头沿钢芯轴向双向压接可实现上卷装接,或通过驱动卡头与轴芯相分离可实现下卷作业。并且该上、下卷过程中,无额外的机械往复动作、无反复充放气及反复装卸平键,钢芯对接或释放均一气呵成完成。
16.从更进一步细化特征来看,该锥面与卡头中段外壁在轴剖面上所形成的夹角为170°以上的钝角。过小的夹角易导致卡头与钢芯对接过程中过早地发生抵接而对接深度不足,上卷强度无法满足工艺所需,而在[170,180)的夹角范围内,角度越大的卡头锥面与钢芯对接深度越长,涨紧力方向越接近钢芯径向。
[0017]
有图示可见,该卡头安装底座1钻孔并攻丝设有一个以上装接孔11,而与之相套接的卡头2也设有同等数量且同轴贯穿的装接孔211,则卡头2通过螺栓3依次穿接拧固于装接孔,使卡头相对卡头安装底座一体装接。
[0018]
除此之外,该卡头可选的实施还包括,一者,将锥面22设为增加阻尼的粗糙面,或者锥面22粘贴有可替换且增加阻尼的砂皮。由此可大幅增加钢芯与锥面相接处的表面摩擦力,从而有效防止钢芯打滑。二者,卡头2在靠近钢芯对接方向的一端外壁设为自中段外径渐缩的导向坡面23,以便于卡头与钢芯在对接之初准确轴向归正,避免上卷过程因间隙配合细微而发生设备意外卡机的故障。
[0019]
综上详述可见,应用本实用新型的卡头结构改良具备进步性:在保留午夜免费福利原放卷卡头安装位置和尺寸的基础上,通过一体成型带锥面的卡头简化结构,降低了卡头故障率和维护成本,同时提高了钢芯上下卷的便利性及分切生产效率。
[0020]
除上述实施例外,本实用新型还可以有其它实施方式,凡采用等同替换或等效变换形成的技术方案,均落在本实用新型所要求保护的范围之内。
技术特征:
1.一种午夜免费福利锥面涨紧放卷卡头,与午夜免费福利的卡头安装底座相接固定,并对接钢芯,其特征在于:所述卡头设为刚性一体成型的帽状套头,卡头中段主体部分的外径与钢芯的内径间隙配合,且卡头在逆向于与钢芯对接方向的一端外壁设为自中段外径渐增的锥面,钢芯装接状态下,钢芯端部内壁硬性卡接定位于锥面止转。2.根据权利要求1所述午夜免费福利锥面涨紧放卷卡头,其特征在于:所述锥面设为增加阻尼的粗糙面。3.根据权利要求1所述午夜免费福利锥面涨紧放卷卡头,其特征在于:所述锥面粘贴有可替换且增加阻尼的砂皮。4.根据权利要求1所述午夜免费福利锥面涨紧放卷卡头,其特征在于:所述锥面与卡头中段外壁在轴剖面上所形成的夹角为170°以上的钝角。5.根据权利要求1所述午夜免费福利锥面涨紧放卷卡头,其特征在于:所述卡头安装底座和卡头各设有同轴贯穿的至少一个装接孔且通过螺栓紧固成一体。6.根据权利要求1所述午夜免费福利锥面涨紧放卷卡头,其特征在于:所述卡头在靠近钢芯对接方向的一端外壁设为自中段外径渐缩的导向坡面。
技术总结
本实用新型揭示了一种午夜免费福利锥面涨紧放卷卡头,与午夜免费福利的卡头安装底座相接固定,并对接钢芯,该卡头设为刚性一体成型的帽状套头,卡头中段主体部分的外径与钢芯的内径间隙配合,且卡头在逆向于与钢芯对接方向的一端外壁设为自中段外径渐增的锥面,钢芯装接状态下,钢芯端部内壁硬性卡接定位于锥面止转。应用该卡头结构改良,在保留午夜免费福利原放卷卡头安装位置和尺寸的基础上,通过一体成型带锥面的卡头简化结构,降低了卡头故障率和维护成本,同时提高了钢芯上下卷的便利性及分切生产效率。
技术研发人员:陆国春
受保护的技术使用者:苏州昆岭薄膜工业有限公司
技术研发日:2021.12.29
技术公布日:2022/9/2