服务热线
180-5003-0233

本实用新型涉及锂电池技术领域,具体是一种锂电池电芯的分切装置。
背景技术:
现有的锂电池生产过程中,锂电池电芯是需要大批量生产的产品,分切锂电池电芯是锂电池电芯包装产品的重要工序,在一些小型的蓄电池厂,因成本考虑大多采用人工分切锂电池电芯,这样工作效率低,劳动强度大,而现有的一些机械化自动分切设备,大多价格偏高的问题;而现有的锂电池电芯分切过程中,锂电池电芯与切割刀固定时,可能会切割刀进入通道不平稳或又皱褶而导致分切的锂电池电芯发生偏移,切割后的成品尺寸不一,最后导致锂电池电芯产生不平和局部有疙瘩,影响锂电池电芯的下一步操作的问题。
技术实现要素:
本实用新型旨在于解决背景技术中存在的缺点,提供一种锂电池电芯的分切装置。
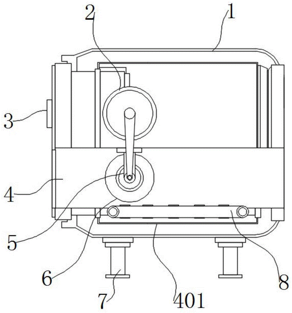
为实现上述目的,本实用新型提供如下技术方案,一种锂电池电芯的分切装置,包括装置本体、伺服电机、控制开关和通道,所述装置本体内部通过螺栓固定安装有伺服电机,所述装置本体左侧通过螺栓固定安装有控制开关,所述装置本体内部底端通过螺栓固定安装有通道,所述通道底端通过螺栓固定安装有安装凹槽,所述安装凹槽内部通过螺栓固定安装有框架,所述框架左右两侧均设置有限位槽,所述框架内部通过螺栓固定安装有两个电动转轴,所述通道内部顶端通过螺栓固定安装有支架,所述支架底端通过螺栓转动连接有转轴,所述转轴外侧通过螺栓固定安装有若干个切割刀,所述转轴左右两侧均通过螺栓固定安装有限位圈,所述装置本体底端通过螺栓固定安装有底座,两个所述电动转轴之间转动连接有定向履带。
进一步的,所述切割刀在转轴外侧呈圆环状均匀排列设置。
进一步的,所述框架左右两侧的限位槽与转轴左右两侧的限位圈位于同一竖向水平方向线上,且限位槽与限位圈相互契合。
进一步的,所述框架截面为内部中空的矩形状,且框架顶部与安装凹槽顶部位于同一水平方向线上。
进一步的,所述框架内部中空处设有与定向履带配套使用的辅助板,且定向履带表面设有厚为0.2cm的橡胶层。
进一步的,所述伺服电机的动力输出轴与转轴之间通过皮带转动连接,且伺服电机和电动转轴均与外接电源呈电性连接并通过控制开关开启关闭。
有益效果:
1、本实用优点在于使用者将需要分切的锂电池电芯放置在定向履带上,接着通过控制开关开启伺服电机与电动转轴开启,两个电动转轴带动定向履带往右侧移动,由于伺服电机的动力输出轴与转轴之间通过皮带转动连接,此时在转轴外侧呈圆环状均匀排列设置的切割刀将放置在定向履带上的锂电池电芯进行分切,提高生产效率以及降低人力成本,另外通过控制开关控制伺服电机的旋转,从而进一步提高本装置的自动化程度,而框架内部中空处设有与定向履带配套使用的辅助板能够在分切过程中对锂电池电芯进行支撑,且定向履带表面设有厚为0.2cm的橡胶层也一定程度的避免分切时产生的压力将锂电池电芯挤压变形的情况发生。
2、其次,在分切过程中,转轴外侧呈圆环状均匀排列设置的切割刀对锂电池电芯进行均匀分割,而框架左右两侧的限位槽与转轴左右两侧的限位圈位于同一竖向水平方向线上,使其切割刀在且限位槽与限位圈相互契合的辅助作用下,切割刀位置不会发生偏移,能够保证锂电池电芯的切口整齐,且限位槽与限位圈的设置使得在分切工作停止状态下,工作人员能够安全地对定向履带上的锂电池电芯位置进行调整,不会造成意外伤害,同时也提高了装置运行的稳定性。
附图说明
图1为本实用新型的整体结构示意图。
图2为本实用新型的框架剖面示意图。
图3为本实用新型的切割刀左侧剖面示意图。
图4为本实用新型的切割刀正面剖面示意图。
图1-4中:装置本体-1、伺服电机-2、控制开关-3、通道-4、安装凹槽-401、框架-402、限位槽-403、电动转轴-404、支架-5、转轴-6、切割刀-601、限位圈-602、底座-7、定向履带-8。
具体实施方式
下面将结合本实用新型实施例中的附图,对本实用新型实施例中的技术方案进行清楚、完整地描述,显然,所描述的实施例仅仅是本实用新型一部分实施例,而不是全部的实施例。基于本实用新型中的实施例,本领域普通技术人员在没有做出创造性劳动前提下所获得的所有其他实施例,都属于本实用新型保护的范围。
实施例:
请参阅图1-4所示;
本实施例提供的一种锂电池电芯的分切装置,包括装置本体1、伺服电机2、控制开关3和通道4,装置本体1内部通过螺栓固定安装有伺服电机2,装置本体1左侧通过螺栓固定安装有控制开关3,装置本体1内部底端通过螺栓固定安装有通道4,通道4底端通过螺栓固定安装有安装凹槽401,安装凹槽401内部通过螺栓固定安装有框架402,框架402左右两侧均设置有限位槽403,框架402内部通过螺栓固定安装有两个电动转轴404,通道4内部顶端通过螺栓固定安装有支架5,支架5底端通过螺栓转动连接有转轴6,转轴6外侧通过螺栓固定安装有若干个切割刀601,转轴6左右两侧均通过螺栓固定安装有限位圈602,装置本体1底端通过螺栓固定安装有底座7,两个电动转轴404之间转动连接有定向履带8。
进一步的,切割刀601在转轴6外侧呈圆环状均匀排列设置,在分切过程中,转轴6外侧呈圆环状均匀排列设置的切割刀601对锂电池电芯进行均匀分割,同时也提高了装置运行的稳定性,解决了现有的锂电池电芯分切过程中,锂电池电芯与切割刀601固定时,可能会切割刀601进入通道4不平稳或又皱褶而导致分切的锂电池电芯发生偏移,切割后的成品尺寸不一,最后导致锂电池电芯产生不平和局部有疙瘩,影响锂电池电芯的下一步操作的问题。
进一步的,框架402左右两侧的限位槽403与转轴6左右两侧的限位圈602位于同一竖向水平方向线上,且限位槽403与限位圈602相互契合,使其切割刀601在且限位槽403与限位圈602相互契合的辅助作用下,切割刀601位置不会发生偏移,能够保证锂电池电芯的切口整齐,且限位槽403与限位圈602的设置使得在分切工作停止状态下,工作人员能够安全地对定向履带8上的锂电池电芯位置进行调整,不会造成意外伤害。
进一步的,框架402截面为内部中空的矩形状,且框架402顶部与安装凹槽401顶部位于同一水平方向线上,在转轴6外侧呈圆环状均匀排列设置的切割刀601将放置在定向履带8上的锂电池电芯进行分切,提高生产效率以及降低人力成本。
进一步的,框架402内部中空处设有与定向履带8配套使用的辅助板,且定向履带8表面设有厚为0.2cm的橡胶层,框架402内部中空处设有与定向履带8配套使用的辅助板能够在分切过程中对锂电池电芯进行支撑,且橡胶层也一定程度的避免分切时产生的压力将锂电池电芯挤压变形的情况发生。
进一步的,伺服电机2的动力输出轴与转轴6之间通过皮带转动连接,且伺服电机2和电动转轴404均与外接电源呈电性连接并通过控制开关3开启关闭,使用者将需要分切的锂电池电芯放置在定向履带8上,接着通过控制开关3开启伺服电机2与电动转轴404开启,两个电动转轴404带动定向履带8往右侧移动,由于伺服电机2的动力输出轴与转轴6之间通过皮带转动连接,另外通过控制开关3控制伺服电机2的旋转,从而进一步提高本装置的自动化程度。
在使用本实用新型一种锂电池电芯的分切装置时,首先使用者将需要分切的锂电池电芯放置在定向履带8上,接着通过控制开关3开启伺服电机2与电动转轴404开启,两个电动转轴404带动定向履带8往右侧转动,由于伺服电机2的动力输出轴与转轴6之间通过皮带转动连接,此时在转轴6外侧呈圆环状均匀排列设置的切割刀601将放置在定向履带8上的锂电池电芯进行分切,提高生产效率以及降低人力成本,另外通过控制开关3控制伺服电机2的旋转,从而进一步提高本装置的自动化程度,而框架402内部中空处设有与定向履带8配套使用的辅助板能够在分切过程中对锂电池电芯进行支撑,且定向履带8表面设有厚为0.2cm的橡胶层也一定程度的避免分切时产生的压力将锂电池电芯挤压变形的情况发生;
在分切过程中,转轴6外侧呈圆环状均匀排列设置的切割刀601对锂电池电芯进行均匀分割,而框架402左右两侧的限位槽403与转轴6左右两侧的限位圈602位于同一竖向水平方向线上,使其切割刀601在且限位槽403与限位圈602相互契合的辅助作用下,切割刀601位置不会发生偏移,能够保证锂电池电芯的切口整齐,且限位槽403与限位圈602的设置使得在分切工作停止状态下,工作人员能够安全地对定向履带8上的锂电池电芯位置进行调整,不会造成意外伤害,同时也提高了装置运行的稳定性。
以上的仅是本实用新型的优选实施方式,应当指出,对于本领域的技术人员来说,在不脱离本实用新型构思的前提下,还可以作出若干变形和改进,这些也应该视为本实用新型的保护范围,这些都不会影响本实用新型实施的效果和专利的实用性。
技术特征:
1.一种锂电池电芯的分切装置,包括装置本体(1)、伺服电机(2)、控制开关(3)和通道(4),所述装置本体(1)内部通过螺栓固定安装有伺服电机(2),所述装置本体(1)左侧通过螺栓固定安装有控制开关(3),所述装置本体(1)内部底端通过螺栓固定安装有通道(4),其特征在于,所述通道(4)底端通过螺栓固定安装有安装凹槽(401),所述安装凹槽(401)内部通过螺栓固定安装有框架(402),所述框架(402)左右两侧均设置有限位槽(403),所述框架(402)内部通过螺栓固定安装有两个电动转轴(404),所述通道(4)内部顶端通过螺栓固定安装有支架(5),所述支架(5)底端通过螺栓转动连接有转轴(6),所述转轴(6)外侧通过螺栓固定安装有若干个切割刀(601),所述转轴(6)左右两侧均通过螺栓固定安装有限位圈(602),所述装置本体(1)底端通过螺栓固定安装有底座(7),两个所述电动转轴(404)之间转动连接有定向履带(8)。
2.根据权利要求1所述的锂电池电芯的分切装置,其特征在于,所述切割刀(601)在转轴(6)外侧呈圆环状均匀排列设置。
3.根据权利要求1所述的锂电池电芯的分切装置,其特征在于,所述框架(402)左右两侧的限位槽(403)与转轴(6)左右两侧的限位圈(602)位于同一竖向水平方向线上,且限位槽(403)与限位圈(602)相互契合。
4.根据权利要求1所述的锂电池电芯的分切装置,其特征在于,所述框架(402)截面为内部中空的矩形状,且框架(402)顶部与安装凹槽(401)顶部位于同一水平方向线上。
5.根据权利要求1所述的锂电池电芯的分切装置,其特征在于,所述框架(402)内部中空处设有与定向履带(8)配套使用的辅助板,且定向履带(8)表面设有厚为0.2cm的橡胶层。
6.根据权利要求1所述的锂电池电芯的分切装置,其特征在于,所述伺服电机(2)的动力输出轴与转轴(6)之间通过皮带转动连接,且伺服电机(2)和电动转轴(404)均与外接电源呈电性连接并通过控制开关(3)开启关闭。
技术总结
本实用新型提供了一种锂电池电芯的分切装置,包括装置本体、伺服电机、控制开关和通道,装置本体内部通过螺栓固定安装有伺服电机,装置本体左侧通过螺栓固定安装有控制开关,装置本体内部底端通过螺栓固定安装有通道,通道底端通过螺栓固定安装有安装凹槽,安装凹槽内部通过螺栓固定安装有框架,框架左右两侧均设置有限位槽,框架内部通过螺栓固定安装有两个电动转轴,通道内部顶端通过螺栓固定安装有支架,支架底端通过螺栓转动连接有转轴,转轴外侧通过螺栓固定安装有若干个切割刀。该种锂电池电芯的分切装置能够提高生产效率以及降低人力成本,同时切割刀位置不会发生偏移,保证锂电池电芯的切口整齐。
技术研发人员:高忠
受保护的技术使用者:江西省中子能源有限公司
技术研发日:2019.12.28
技术公布日:2020.07.21