服务热线
180-5003-0233
本实用新型涉及印刷包装设备领域,尤其涉及一种用于电化铝的分切装置。
背景技术:
电化铝产品在生产完成后,必须经午夜免费福利分切成小规格后才能使用,因现有设备刀槽和刀架没有很好的定位和调节机构,导致在对不同尺寸的产品进行分切时,需要做大量的调整工作,操作繁杂,费工费时,生产效率较低,设备产能不能有效利用,达不到生产进度,并且在调试刀槽和刀架的过程中对原午夜精品免费视频的浪费比较大。因此,有必要研究一种实用性更好的电化铝分切装置。
技术实现要素:
为克服现有电化铝分切装置刀槽与刀架调节麻烦,影响生产效率,资源浪费较大等不足,本实用新型所要解决的技术问题是:提供一种能够快速准确的调整刀槽与刀架的电化铝分切装置。
本实用新型解决其技术问题所采用的技术方案是:
电化铝分切装置,包括支架、安装在支架上的刀槽辊和刀架,所述刀槽辊与刀架平行,刀架上安装有多个刀片,所述刀片与刀槽辊上的刀槽对齐,所述刀架上还设有刻度尺,刻度尺的长度方向与刀架平行,所述刀片以刻度尺为参照调整相邻刀片间的距离。
进一步的是,所述刀槽辊可拆卸的安装在支架上,刀槽辊按照刀槽的间距不同分为多种型号可更换。
进一步的是,所述刀架可转动的安装在支架上,支架上设有调节刀架转动角度的调节机构。
进一步的是,所述调节结构包括安装在刀架上的蜗轮和可转动的安装在支架上的蜗杆,所述蜗轮与蜗杆相配合。
进一步的是,所述蜗杆的端部设有转盘。
进一步的是,所述刀架靠近支架的端部还设有指针,支架的内壁上设有角度刻度盘。
进一步的是,所述刀槽辊为半奥氏体系的FH不锈钢材质。
本实用新型的有益效果是:通过在刀架上设置一条刻度尺,当需要调整刀架上刀片的位置时,可以刻度尺作为参照,按照所要切割电化铝的尺寸来调节刀片的间距,整个调整过程方便快捷,尺寸容易控制,能在一定程度上提高生效效率,降低原午夜精品免费视频的浪费。
附图说明
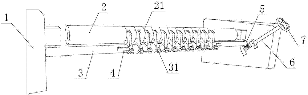
图1是本实用新型结构示意图。
图中标记为,1-支架,2-刀槽辊,3-刀架,4-刻度尺,5-蜗轮,6-蜗杆,7-转盘,21-刀槽,31-刀片。
具体实施方式
下面结合附图对本实用新型进一步说明。
如图1所示,本实用新型包括支架1、安装在支架1上的刀槽辊2和刀架3,所述刀槽辊2与刀架3平行,刀架3上安装有多个刀片31,所述刀片31与刀槽辊2上的刀槽21对齐,所述刀架3上还设有刻度尺4,刻度尺4的长度方向与刀架1平行,所述刀片31以刻度尺4为参照调整相邻刀片31间的距离。现有的分切装置,刀槽辊2上设有密集的刀槽21,每次在进行刀架的调整时,需要保证刀片31对准刀槽21,并且相邻刀片31之间的距离要控制准确,在实际操作过程中,工序繁杂,劳动量大,并且易造成调整过程中原午夜精品免费视频的浪费。而本实用新型通过在刀架3上设置一条刻度尺4,在调节刀片31的位置时便可以刻度尺4作为参照,调整起来会更加方便快捷。在设计时可以让刻度尺4的刻度对准刀槽辊2上的刀槽21,如此在调整刀片31距离的同时也保证了刀片31对准刀槽21。
进一步的,所述刀槽辊2可拆卸的安装在支架1上,刀槽辊2按照刀槽21的间距不同分为多种型号可更换。由于只通过频繁调整刀片31的距离来控制分切电化铝的尺寸,多多少少会存在一定人为误差,所以,为了保证分切电化铝尺寸的精确性,最好是以刀槽辊2上的刀槽21的距离作为定位尺寸,相邻刀槽21间的距离即为分切产品的尺寸。所以将刀槽辊2按照产品尺寸定制出多种型号,使用时根据所需尺寸选择不同的刀槽辊2,然后根据刀槽辊2上刀槽21的位置来调节刀片31的位置即可,这样可进一步提高调整效率和产品质量。
所述刀架3可转动的安装在支架1上,支架1上设有调节刀架3转动角度的调节机构。在分切过程中,刀架3上刀片31与刀槽21之间的距离也是一个影响分切质量的因素,根据产品的厚度或者材质的不同,往往需要采用不同的距离,并且在调整刀片31位置时也需要先让刀片31脱离刀槽21,调好后再将刀片31转回到刀槽21内,因此,需要一个调节刀架转动角度的调节机构。
所述调节结构的具体结构为,包括安装在刀架31上的蜗轮5和可转动的安装在支架1上的蜗杆6,所述蜗轮5与蜗杆6相配合。通过转动蜗杆6,蜗杆6即可带动蜗轮5和刀架3一起转动,并且蜗杆蜗轮的自锁性好,生产过程中刀架3不会自由转动。
进一步的,为了方便转动蜗杆6,在所述蜗杆6的端部设有转盘7。为了更直观的显示刀架3转动的角度,以便为不同产品提供不同的参照标准,在所述刀架3靠近支架1的端部还设有指针,支架1的内壁上设有角度刻度盘,根据指针在角度刻度盘上的位置来记录刀架的位置和转动角度。
为了便于更换刀槽辊2,所述刀槽辊2采用半奥氏体系的FH不锈钢材质制作,该材质质量较轻,并且强度高、耐用,在易于更换的同时也保证了刀槽辊2的使用寿命。
本实用新型通过设置在刀槽辊上定制产品规格刀槽和加装刻度尺装置,使电化铝的分切效率提高,避免了调节产品规格时的浪费,使电化铝的分切操作更加简便,分切效果良好, 在后续的使用过程中工作率得到较大程度的提高,减少不必要的损耗。本装置对操作人员的要求不是很高,操作方便,使用效果显著,易于推广应用,具有较大的实用价值。

技术特征:
1.电化铝分切装置,包括支架(1)、安装在支架(1)上的刀槽辊(2)和刀架(3),所述刀槽辊(2)与刀架(3)平行,刀架(3)上安装有多个刀片(31),所述刀片(31)与刀槽辊(2)上的刀槽(21)对齐,其特征是:所述刀架(3)上还设有刻度尺(4),刻度尺(4)的长度方向与刀架(3)平行,所述刀片(31)以刻度尺(4)为参照调整相邻刀片(31)间的距离。
2.如权利要求1所述的电化铝分切装置,其特征是:所述刀槽辊(2)可拆卸的安装在支架(1)上,刀槽辊(2)按照刀槽(21)的间距不同分为多种型号可更换。
3.如权利要求1所述的电化铝分切装置,其特征是:所述刀架(3)可转动的安装在支架(1)上,支架(1)上设有调节刀架(3)转动角度的调节机构。
4.如权利要求3所述的电化铝分切装置,其特征是:所述调节机构包括安装在刀架(3)上的蜗轮(5)和可转动的安装在支架(1)上的蜗杆(6),所述蜗轮(5)与蜗杆(6)相配合。
5.如权利要求4所述的电化铝分切装置,其特征是:所述蜗杆(6)的端部设有转盘(7)。
6.如权利要求3所述的电化铝分切装置,其特征是:所述刀架(3)靠近支架(1)的端部还设有指针,支架(1)的内壁上设有角度刻度盘。
7.如权利要求1~6任意一项权利要求所述的电化铝分切装置,其特征是:所述刀槽辊(2)为半奥氏体系的FH不锈钢材质。
技术总结
本实用新型公开的是印刷包装设备领域的一种用于电化铝的分切装置,包括支架、安装在支架上的刀槽辊和刀架,所述刀槽辊与刀架平行,刀架上安装有多个刀片,所述刀片与刀槽辊上的刀槽对齐,所述刀架上还设有刻度尺,刻度尺的长度方向与刀架平行,所述刀片以刻度尺为参照调整相邻刀片间的距离。本实用新型的有益效果是:通过在刀架上设置一条刻度尺,当需要调整刀架上刀片的位置时,可以刻度尺作为参照,按照所要切割电化铝的尺寸来调节刀片的间距,整个调整过程方便快捷,尺寸容易控制,能在一定程度上提高生效效率,降低原午夜精品免费视频的浪费。
技术研发人员:李海坚
受保护的技术使用者:四川金时科技股份有限公司
文档号码:201720853101
技术研发日:2017.07.14
技术公布日:2018.04.13