午夜羞羞小视频,午夜免费福利,午夜精品免费视频,午夜免费看污污APP

行业新闻

当前位置:首页/新闻中心/行业新闻

一种精密全自动午夜免费福利的制作方法

2023年12月16日国知局浏览量:0

一种精密全自动午夜免费福利的制作方法

本实用新型涉及一种午夜免费福利,具体是一种精密全自动午夜免费福利。

背景技术:

现有的分条机一般包括机架和分别设在机架上的放卷装置、分条装置、收卷装置,上述分条装置位于放卷装置和收卷装置之间,上述放卷装置和分条装置之间设有若干根张紧辊,上述分条装置和收卷装置之间也设有若干根张紧辊;上述分条装置包括切刀和切刀安装轴,上述切刀安装轴安装在机架上,上述切刀安装在切刀安装轴上。

当片状物(例如薄膜)从放卷装置输出后,片状物在张紧辊的张紧下向前输送,片状物经过分条装置时,被分条装置的切刀分切成数条,分切成条的片状物在张紧辊的张紧下继续向前输送,最后,收卷装置将分切成条的片状物收集成卷。

现有的分条机当物料放料到卷径比较小时,张力就无法控制,在切割过程中,宽幅物料容易摆动,使得切割不平整,严重影响分条出来的产品质量。

技术实现要素:

本实用新型的目的在于提供一种精密全自动午夜免费福利,以解决上述背景技术中提出的问题。

为实现上述目的,本实用新型提供如下技术方案:

一种精密全自动午夜免费福利,包括机架、放卷机构、调节机构、安装板、午夜免费福利构、废料收取机构和卷曲机构,所述放卷机构位于机架右侧,其中放卷机构包括放卷前后驱动马达、放卷座和放卷辊,放卷辊转动连接在放卷座上,放卷座通过滑轨滑动设置机架右侧,其中放卷前后驱动马达通过滚珠丝杠机构驱动连接放卷座;所述调节机构包括立板、第一导向辊和版型调节辊,其中立板设有两块且均通过螺栓与机架底部固定连接,两块立板之间设有第一导向辊和版型调节辊,立板左侧中部转动设有第一导向辊,立板右侧顶部转动设有版型调节辊;所述安装板设有两块且固定设置在机架左部,安装板右侧与立板之间固定连接有连接杆,连接杆上焊接连接有脚踏板,安装板的中部转动设有第二导向辊和第三导向辊;所述午夜免费福利构包括刀槽辊和XY滑台刀座;所述卷曲机构设有两组且分别设置在安装板的上部和安装板的下部,卷曲机构包括表面卷曲胶辊、驱动辊、收卷轴、卷曲臂、收卷马达和压紧支撑气缸,其中卷曲臂通过转动座转动连接在安装板上,压紧支撑气缸的尾部转动连接在安装板上,压紧支撑气缸的的气缸轴转动连接在卷曲臂的中部,卷曲臂的端部转动连接有收卷轴,收卷轴上套设有驱动辊,驱动辊与表面卷曲胶辊相切,其中收卷马达通过皮带转动机构驱动连接收卷轴。

进一步的,所述废料收取机构包括边料排废管和收集槽,边料排废管固定设置在刀槽辊的两侧,且边料排废管向上连通有收集槽,收集槽固定设置在安装板的顶部。

进一步的,所述XY滑台刀座上固定设有若干刀片,且刀片与刀槽辊的导槽对应设置。

进一步的,所述卷曲臂转动连接有张紧轮。

与现有技术相比,本实用新型在分切和放卷中保持恒定的张力进给,保证成品卷能够达到所需要的分切精度和平整度要求,可以自动完成收边料工作,废料处理更方便,省时省力,提高了生产效率,稳定可靠,本实用新型的整体结构紧凑、简洁,易于实现,成本低,利于广泛推广应用。

附图说明

图1为精密全自动午夜免费福利的结构示意图。

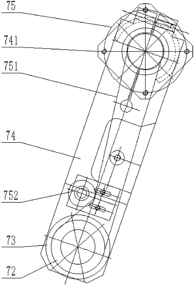
图2为精密全自动午夜免费福利中卷曲机构的结构示意图。

具体实施方式

下面结合具体实施方式对本专利的技术方案作进一步详细地说明。

请参阅图1-2,一种精密全自动午夜免费福利,包括机架1、放卷机构2、调节机构3、安装板4、午夜免费福利构5、废料收取机构6和卷曲机构7,

所述放卷机构2位于机架1右侧,其中放卷机构2包括放卷前后驱动马达21、放卷座22和放卷辊23,放卷辊23转动连接在放卷座22上,放卷座22通过滑轨滑动设置机架1右侧,其中放卷前后驱动马达21通过滚珠丝杠机构24驱动连接放卷座22使之前后动作从而保证放卷辊23的张紧;

所述调节机构3包括立板31、第一导向辊32和版型调节辊33,其中立板31设有两块且均通过螺栓与机架1底部固定连接,两块立板31之间设有第一导向辊32和版型调节辊33,立板31左侧中部转动设有第一导向辊32,立板31右侧顶部转动设有版型调节辊33;

所述安装板4设有两块且固定设置在机架1左部,安装板4右侧与立板31之间固定连接有连接杆41,连接杆41上焊接连接有脚踏板42,安装板4的中部转动设有第二导向辊43和第三导向辊44;

所述午夜免费福利构5包括刀槽辊51和XY滑台刀座52,XY滑台刀座52上固定设有若干刀片,且刀片与刀槽辊51的导槽对应设置;

所述废料收取机构6包括边料排废管61和收集槽62,边料排废管61固定设置在刀槽辊51的两侧,且边料排废管61向上连通有收集槽62,收集槽62固定设置在安装板4的顶部;

所述卷曲机构7设有两组且分别设置在安装板4的上部和安装板4的下部,卷曲机构7包括表面卷曲胶辊71、驱动辊72、收卷轴73、卷曲臂74、收卷马达75和压紧支撑气缸76,其中卷曲臂74通过转动座741转动连接在安装板4上,压紧支撑气缸76的尾部转动连接在安装板4上,压紧支撑气缸76的的气缸轴转动连接在卷曲臂74的中部,卷曲臂74的端部转动连接有收卷轴73,收卷轴73上套设有驱动辊72,驱动辊72与表面卷曲胶辊71相切,其中收卷马达75通过皮带转动机构751驱动连接收卷轴73,且卷曲臂74还设有张紧轮752,张紧轮752用于保证皮带转动机构751的张紧程度;

本实用新型工作时,放卷辊23放卷,物料穿过版型调节棍33、第一导向辊32、第二导向辊43进入午夜免费福利构5,物料在午夜免费福利构5被刀槽辊51和XY滑台刀座52分切,其中边料通过边料排废管61收集进去收集槽62,分切后的物料被两组卷曲机构7分别收卷,卷曲机构7中压紧支撑气缸76保证收卷轴73上的驱动辊72抵接表面卷曲胶辊71,收卷马达75驱动驱动辊72转动从而带动表面卷曲胶辊71转动对物料进行收卷。

上面对本专利的较佳实施方式作了详细说明,但是本专利并不限于上述实施方式,在本领域的普通技术人员所具备的知识范围内,还可以在不脱离本专利宗旨的前提下做出各种变化。

技术特征:

1.一种精密全自动午夜免费福利,包括机架、放卷机构、调节机构、安装板、午夜免费福利构、废料收取机构和卷曲机构,其特征在于,所述放卷机构位于机架右侧,其中放卷机构包括放卷前后驱动马达、放卷座和放卷辊,放卷辊转动连接在放卷座上,放卷座通过滑轨滑动设置机架右侧,其中放卷前后驱动马达通过滚珠丝杠机构驱动连接放卷座;所述调节机构包括立板、第一导向辊和版型调节辊,其中立板设有两块且均通过螺栓与机架底部固定连接,两块立板之间设有第一导向辊和版型调节辊,立板左侧中部转动设有第一导向辊,立板右侧顶部转动设有版型调节辊;所述安装板设有两块且固定设置在机架左部,安装板右侧与立板之间固定连接有连接杆,连接杆上焊接连接有脚踏板,安装板的中部转动设有第二导向辊和第三导向辊;所述午夜免费福利构包括刀槽辊和XY滑台刀座;所述卷曲机构设有两组且分别设置在安装板的上部和安装板的下部,卷曲机构包括表面卷曲胶辊、驱动辊、收卷轴、卷曲臂、收卷马达和压紧支撑气缸,其中卷曲臂通过转动座转动连接在安装板上,压紧支撑气缸的尾部转动连接在安装板上,压紧支撑气缸的气缸轴转动连接在卷曲臂的中部,卷曲臂的端部转动连接有收卷轴,收卷轴上套设有驱动辊,驱动辊与表面卷曲胶辊相切,其中收卷马达通过皮带转动机构驱动连接收卷轴。

2.根据权利要求1所述的精密全自动午夜免费福利,其特征在于,所述废料收取机构包括边料排废管和收集槽,边料排废管固定设置在刀槽辊的两侧,且边料排废管向上连通有收集槽,收集槽固定设置在安装板的顶部。

3.根据权利要求1所述的精密全自动午夜免费福利,其特征在于,所述XY滑台刀座上固定设有若干刀片,且刀片与刀槽辊的导槽对应设置。

4.根据权利要求1所述的精密全自动午夜免费福利,其特征在于,所述卷曲臂上还设有张紧轮。

技术总结

本实用新型公开了一种精密全自动午夜免费福利,包括机架、放卷机构、调节机构、安装板、午夜免费福利构、废料收取机构和卷曲机构,所述放卷机构位于机架右侧,其中放卷机构包括放卷前后驱动马达、放卷座和放卷辊,放卷辊转动连接在放卷座上,放卷座通过滑轨滑动设置机架右侧,其中放卷前后驱动马达通过滚珠丝杠机构驱动连接放卷座;所述调节机构包括立板、第一导向辊和版型调节辊,其中立板设有两块且均通过螺栓与机架底部固定连接;本实用新型在分切和放卷中保持恒定的张力进给,保证成品卷能够达到所需要的分切精度和平整度要求,可以自动完成收边料工作,废料处理更方便,省时省力,提高了生产效率,稳定可靠。

技术研发人员:周飞娅;周林

受保护的技术使用者:东莞市技航机电科技有限公司

文档号码:201720769105

技术研发日:2017.06.27

技术公布日:2018.02.09

网站地图