服务热线
180-5003-0233

1.本实用新型涉及一种午夜免费福利纸管定位装置,属于塑料薄膜制造设备技术领域。
背景技术:
2.纸管在塑料薄膜领域内被广泛的应用,将塑料薄膜收卷于纸卷上,以便于塑料薄膜整体的制备及存储,在塑料薄膜收卷于纸管上之前或之后,需要对纸管进行分切,纸管的分切在午夜免费福利上完成,午夜免费福利的结构如授权公告号是cn201095133y的中国实用新型专利所公开,其包括机架、带切筒刀片的刀架和芯辊,芯辊之一端是自由端,以更于装管和卸筒,芯辊的自由端之下方设置有一对托辊滚轮,托辊滚轮安装在一键套上,并下连带活节由踏板操纵的升降杆,其中的踏板同时带动刀架,工作时,先按需要在刀架上端的切刀辊上安装好切筒刀片,再将待切纸筒在芯辊上套好,而切筒刀片安装位置的确定由于缺少定位而较为不便,并且一根较长的纸筒可能需要分切出不同长度的纸管,由此使切筒刀片的安装定位更加的不便。授权公告号是cn213352575u的中国实用新型专利公开的纸管午夜免费福利构同样也具有上述缺陷。
技术实现要素:
3.本实用新型的目的是提供一种午夜免费福利纸管定位装置,解决现有技术中对纸管进行切割时,对切割用的刀具定位不便的技术缺陷。
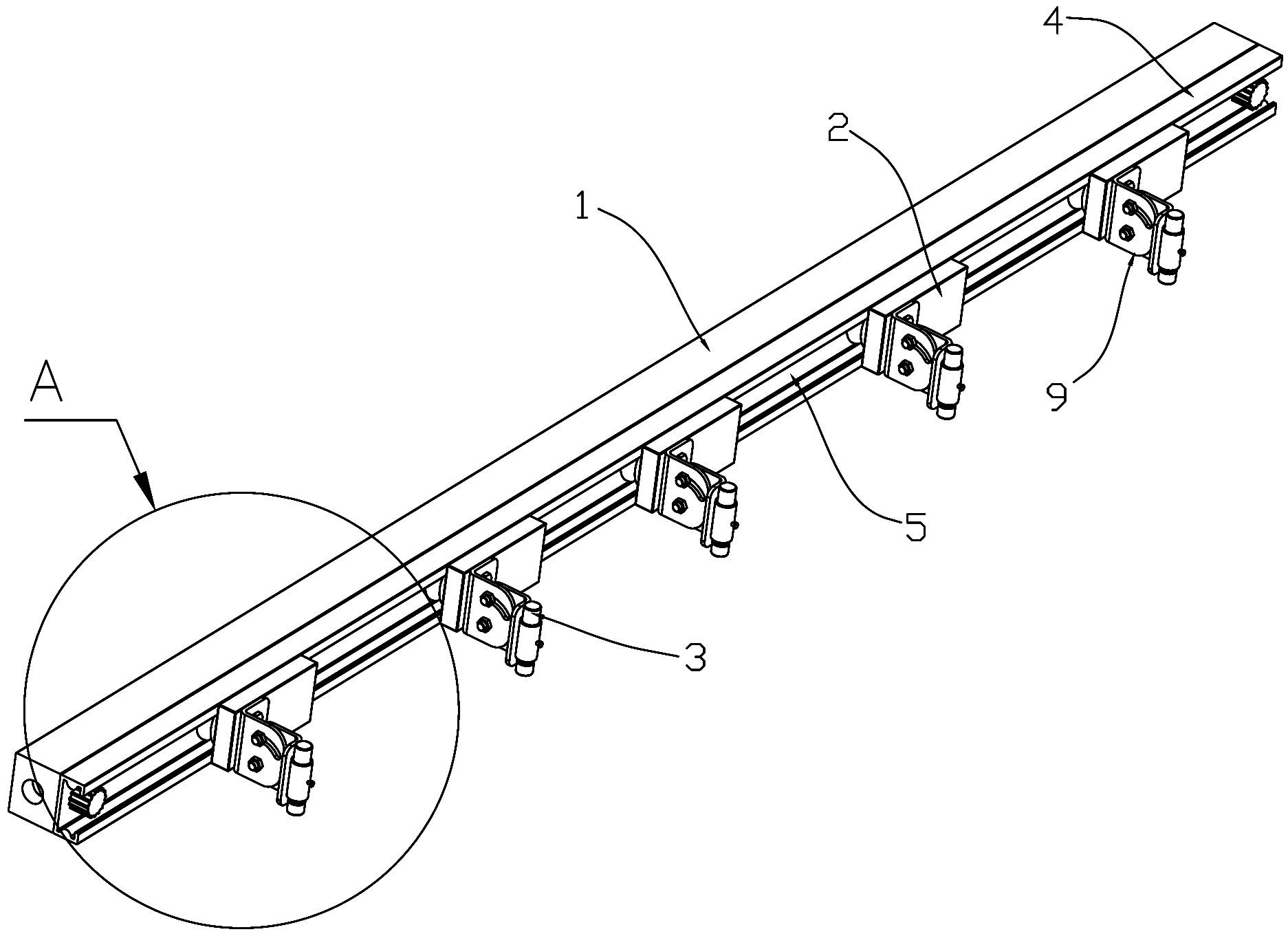
4.为解决上述问题,本实用新型所采取的技术方案是:午夜免费福利纸管定位装置,安装于午夜免费福利上部,该午夜免费福利纸管定位装置包括支撑梁、安装座和多个激光发射器,支撑梁在使用状态下安装于午夜免费福利上,安装座安装在支撑梁上并且与支撑梁构成水平移动副,安装座上设置有固定件,用于在安装座移动至预定位置后固定在支撑梁上,激光发射器安装在安装座上,并且激光发射器发出的激光射向午夜免费福利上待分切的纸管上,用于确定午夜免费福利上切刀的位置。本实用新型安装在午夜免费福利上部,由激光发射器发射出激光,激光照射在纸管上,可以对切刀的位置进行调整,由于安装座可以在支撑梁上移动,故本实用新型可以根据纸管切割的长度对激光发射器的位置进行相应的调整,从而方便切刀位置的调整。
5.作为本实用新型的进一步改进,支撑梁上安装有导轨,导轨上远离支撑梁的一侧开设有导向槽,安装座上靠近支撑梁的一侧转动设置有滚轮,滚轮设置于导向槽内与导向槽相配合并且可在导向槽内滚动,固定件包括固定块和紧固螺栓,固定块位于导向槽内,紧固螺栓穿过安装座并且与固定块螺纹配合,转动紧固螺栓使固定块压紧在导向槽,用于安装座的与导轨的固定。本实用新型在支撑梁上设置导轨,通过安装座上的滚轮与导轨的配合及相对移动,便于安装座在支撑梁上的移动,本实用新型通过紧固螺栓与固定块的配合,在固定块压紧导轨时,对安装座在导轨上的位置进行固定,避免在使用状态下由于安装座的移动而使定位不准确。
6.作为本实用新型的进一步改进,还包括发射器安装架,该发射器安装架包括第一安装板、第二安装板和安装套筒,第一安装板由安装板单元a和安装板单元b组成并且成l
型,安装板单元a固定在安装座上,第二安装板由安装板单元c和安装板单元d构成并成l型,安装板单元c安装在安装板单元b上,安装套筒固定在安装板d上,激光发射器安装在安装套筒内。本实用新型通过设置第一安装板、第二安装板及安装套筒,方便激光发生器的安装。
7.作为本实用新型的进一步改进,安装套筒上沿径向开设有螺纹通孔,螺纹通孔内设置有与其螺纹配合的压紧螺栓,压紧螺栓的端部抵住激光发射器用于将激光发射器固定在安装套筒内。本实用新型通过设置压紧螺栓,由压紧螺栓将激光发生器压紧在安装套筒内,避免激光发生器在安装套筒内移动。
8.作为本实用新型的进一步改进,安装板单元b上开设有通孔a和腰形孔,腰形孔位于通孔a的上方,并且通孔a的圆心位于腰形孔中心线所在的圆的圆心上,安装板单元c上开设有通孔b和通孔c,安装板单元c采用穿过通孔b和通孔a的安装螺栓a及与其螺纹配合的螺母a转动安装在安装板单元b上,通孔c中设置有安装螺栓b,该安装螺栓b穿过腰形孔并设置有与其螺纹配合的螺母b,松动螺母b,可沿着腰形孔转动调整安装板单元c用于调整激光发射器发出的激光的照射角度。本实用新型中的安装螺栓可以作为第二安装板相对第一安装板转动的转动轴,而由于在安装板单元b上开设腰形孔,故可以沿腰形孔的方向转动安装板单元c,从而调整激光发射器发出激光的照射角度,本实用新型可以根据实际需要对激光发射器的照射角度进行适当的调整,如根据待切割的纸管的直径不同进行相应的调整等。
9.作为本实用新型的进一步改进,导轨上位于导向槽的两端处各设置有一个限位螺栓,用于阻止安装座从导轨上滑落。本实用新型通过设置限位螺栓,对安装座的移动进行限位,提高使用的安全性。
10.综上所述,本实用新型的有益效果是:本实用新型通过激光发射器发射出的激光对午夜免费福利上切割纸管的刀具进行定位,由于激光发射器在支撑梁上的位置可调,故本实用新型通过提高刀具定位的便捷程度,提高纸管的分切效率。
附图说明
11.图1是本实用新型的立体结构示意图。
12.图2是图1中a处的局部放大图。
13.图3是本实用新型的局部分解示意图。
14.图4是图3中b处的局部放大图。
15.图5是本实用新型另一角度的局部分解示意图。
16.图6是图5中c处的局部放大图。
17.其中:1、支撑梁;2、安装座;3、激光发射器;4、导轨;5、导向槽;6、滚轮;7、固定块;8、紧固螺栓;9、发射器安装架;10、第一安装板;11、第二安装板;12、安装套筒;13、安装板单元a;14、安装板单元b;15、安装板单元c;16、安装板单元d;17、螺纹通孔;18、压紧螺栓;19、通孔a;20、腰形孔;21、通孔b;22、通孔c;23、安装螺栓a;24、螺母a;25、安装螺栓b;26、螺母b;27、限位螺栓。
具体实施方式
18.下面结合附图对本实用新型的具体实施方式做进一步的说明。
19.如图1至图6所示的午夜免费福利纸管定位装置,在使用时安装于午夜免费福利(图中未示出)的
上部,本实用新型在午夜免费福利的机架两侧向上设置有支撑架(图中未示出),以便于本实用新型的安装,该午夜免费福利纸管定位装置包括支撑梁1、安装座2和多个激光发射器3,支撑梁1在使用状态下两端采用螺栓可拆卸的安装于午夜免费福利上的支撑架上,安装座2安装在支撑梁1上并且与支撑梁1构成水平移动副,通过安装座2在支撑梁1上的水平移动,用于调整安装座2在午夜免费福利的相对位置,本实用新型在安装座2上设置有固定件,该固定件用于在安装座2移动至预定位置后固定在支撑梁1上,本实用新型中的激光发射器3安装在安装座2上,由安装座2在支撑梁1上的移动从而调整安装座2的位置,本实用新型中激光发射器3发出的激光射向午夜免费福利上待分切的纸管上,在使用时,根据激光照射的位置确定午夜免费福利上切刀的位置,并根据该位置移动切刀,使切刀在激光照射处对纸管进行切割。
20.为了便于安装座2在支撑梁1上的移动,本实用新型在支撑梁1上采用多根内六角螺栓可拆卸的安装有导轨4,在导轨4上沿其长度方向均匀的开设有多个阶梯孔,以采用内六角螺栓将导轨4安装于支撑梁1上,本实用新型中的支撑梁1可以采用型材制成并且支撑梁1沿水平方向设置,在导轨4上远离支撑梁1的一侧开设有导向槽5,在安装座2上靠近支撑梁1的一侧采用转动轴转动安装有滚轮6,该滚轮6设置于导向槽5内与导向槽5相配合并且可在导向槽5内滚动,通过滚轮6在导向槽5内的滚动,使安装座2可以沿着导轨4的长度方向水平移动,本实用新型中的固定件7与滚轮6分别设置于安装座2的两端处,该固定件包括固定块7和紧固螺栓8,固定块7位于导向槽5内,并且固定块7的形状与导向槽5相配合,紧固螺栓8向上穿过安装座2并且与固定块7螺纹配合,转动紧固螺栓8使固定块7压紧在导向槽5,用于安装座2的与导轨4的固定,本实用新型在松动紧固螺栓8时,固定块7与导向槽5之间相互挤压的力较小,此时可以沿水平方向推动安装座2,使安装座2沿着导向槽5水平移动,而拧紧紧固螺栓8时,使固定块7压紧在导向槽5内并且与导向槽5的内壁相互挤压,阻止安装座2相对导轨4移动,从而实现安装座2位置的固定,本实用新型可以在导轨4的顶部沿导轨4的长度方向设置刻度,以便于确定安装座2的移动距离。
21.为了便于激光发射器3的安装,本实用新型设置有发射器安装架9,该发射器安装架9包括第一安装板10、第二安装板11和安装套筒12,第一安装板10由安装板单元a13和安装板单元b14组成并且成l型,本实用新型中的第一安装板10优选的采用一块金属板从中间弯折90度制成,安装板单元a13固定在安装座2上,第二安装板11由安装板单元c15和安装板单元d16构成并成l型,本实用新型中的第二安装板11优选的采用一块金属板从中间弯折90度制成,安装板单元c15安装在安装板单元b14上,安装套筒12固定在安装板单元d16上,本实用新型中的安装套筒12为圆筒状,并且采用焊接的方式固定在安装板单元d16上,本实用新型中的激光发射器3安装在安装套筒12内。为了方便对激光发射器3的固定,本实用新型在安装套筒12上沿径向开设有螺纹通孔17,在螺纹通孔17内设置有与其螺纹配合的压紧螺栓18,拧动压紧螺栓18,使其端部抵住激光发射器3用于将激光发射器3固定在安装套筒12内。
22.本实用新型在安装板单元b14上开设有圆形的通孔a19和腰形孔20,腰形孔20位于通孔a19的上方,并且通孔a19的圆心位于腰形孔20中心线所在的圆的圆心上,在安装板单元c15上开设有通孔b21和通孔c22,其中:安装板单元c15采用同时穿过通孔b21和通孔a19的安装螺栓a23及与其螺纹配合的螺母a24转动安装在安装板单元b14上,本实用新型在通孔c22中设置有安装螺栓b25,并且该安装螺栓b25穿过腰形孔20,在安装螺栓b25上设置有
与其螺纹配合的螺母b26,松动螺母b26,可沿着腰形孔20转动调整安装板单元c15用于调整激光发射器3发出的激光的照射角度,本实用新型同时拧紧螺母a24及螺母b26,可以有效的确保第一安装板10和第二安装板11不会发生相对转动,使激光发射器3发出的激光照射位置稳定,而在需要改变激光发射器3发出的激光照射位置时,同时松动螺母a24及螺母b26,再手持安装板单元c15并沿腰形孔20转动第二安装板11至适宜的位置,再拧紧螺母a24及螺母b26即可。
23.本实用新型优选的在导轨4上位于导向槽5的两端处各设置有一个限位螺栓27,用于阻止安装座2从导轨4上滑落,在安装座2沿水平方向移动至滚轮6或固定块7抵住限位螺栓27时,安装座2不能再继续移动向导轨4的端部处移动。
24.以上说明书中未做特别说明的部分均为现有技术,或者通过现有技术既能实现。而且本实用新型中所述具体实施案例仅为本实用新型的较佳实施案例而已,并非用来限定本实用新型的实施范围。即凡依本实用新型专利范围的内容所作的等效变化与修饰,都应作为本实用新型的技术范畴。
技术特征:
1.午夜免费福利纸管定位装置,安装于午夜免费福利上部,其特征在于:该午夜免费福利纸管定位装置包括支撑梁(1)、安装座(2)和多个激光发射器(3),支撑梁(1)在使用状态下安装于午夜免费福利上,安装座(2)安装在支撑梁(1)上并且与支撑梁(1)构成水平移动副,安装座(2)上设置有固定件,用于在安装座(2)移动至预定位置后固定在支撑梁(1)上,激光发射器(3)安装在安装座(2)上,并且激光发射器(3)发出的激光射向午夜免费福利上待分切的纸管上,用于确定午夜免费福利上切刀的位置。2.根据权利要求1所述的午夜免费福利纸管定位装置,其特征在于:支撑梁(1)上安装有导轨(4),导轨(4)上远离支撑梁(1)的一侧开设有导向槽(5),安装座(2)上靠近支撑梁(1)的一侧转动设置有滚轮(6),滚轮(6)设置于导向槽(5)内与导向槽(5)相配合并且可在导向槽(5)内滚动,固定件包括固定块(7)和紧固螺栓(8),固定块(7)位于导向槽(5)内,紧固螺栓(8)穿过安装座(2)并且与固定块(7)螺纹配合,转动紧固螺栓(8)使固定块(7)压紧在导向槽(5),用于安装座(2)的与导轨(4)的固定。3.根据权利要求2所述的午夜免费福利纸管定位装置,其特征在于:还包括发射器安装架(9),该发射器安装架(9)包括第一安装板(10)、第二安装板(11)和安装套筒(12),第一安装板(10)由安装板单元a(13)和安装板单元b(14)组成并且成l型,安装板单元a(13)固定在安装座(2)上,第二安装板(11)由安装板单元c(15)和安装板单元d(16)构成并成l型,安装板单元c(15)安装在安装板单元b(14)上,安装套筒(12)固定在安装板单元d(16)上,激光发射器(3)安装在安装套筒(12)内。4.根据权利要求3所述的午夜免费福利纸管定位装置,其特征在于:安装套筒(12)上沿径向开设有螺纹通孔(17),螺纹通孔(17)内设置有与其螺纹配合的压紧螺栓(18),压紧螺栓(18)的端部抵住激光发射器(3)用于将激光发射器(3)固定在安装套筒(12)内。5.根据权利要求3或4所述的午夜免费福利纸管定位装置,其特征在于:安装板单元b(14)上开设有通孔a(19)和腰形孔(20),腰形孔(20)位于通孔a(19)的上方,并且通孔a(19)的圆心位于腰形孔(20)中心线所在的圆的圆心上,安装板单元c(15)上开设有通孔b(21)和通孔c(22),安装板单元c(15)采用穿过通孔b(21)和通孔a(19)的安装螺栓a(23)及与其螺纹配合的螺母a(24)转动安装在安装板单元b(14)上,通孔c(22)中设置有安装螺栓b(25),该安装螺栓b(25)穿过腰形孔(20)并设置有与其螺纹配合的螺母b(26),松动螺母b(26),可沿着腰形孔(20)转动调整安装板单元c(15)用于调整激光发射器(3)发出的激光的照射角度。6.根据权利要求2或3或4所述的午夜免费福利纸管定位装置,其特征在于:导轨(4)上位于导向槽(5)的两端处各设置有一个限位螺栓(27),用于阻止安装座(2)从导轨(4)上滑落。
技术总结
本实用新型公开了一种午夜免费福利纸管定位装置,安装于午夜免费福利上部,该午夜免费福利纸管定位装置包括支撑梁(1)、安装座(2)和多个激光发射器(3),支撑梁(1)在使用状态下安装于午夜免费福利上,安装座(2)安装在支撑梁(1)上并且与支撑梁(1)构成水平移动副,安装座(2)上设置有固定件,用于在安装座(2)移动至预定位置后固定在支撑梁(1)上,激光发射器(3)安装在安装座(2)上,并且激光发射器(3)发出的激光射向午夜免费福利上待分切的纸管上,用于确定午夜免费福利上切刀的位置。本实用新型通过激光发射器发射出的激光对午夜免费福利上的刀具进行定位,由于激光发射器在支撑梁上的位置可调,故通过提高刀具定位的便捷程度,提高了纸管的分切效率。提高了纸管的分切效率。提高了纸管的分切效率。
技术研发人员:邢小元 黄华凤 江翠萍
受保护的技术使用者:南京富顺塑业有限公司
技术研发日:2023.05.19
技术公布日:2023/9/3