午夜羞羞小视频,午夜免费福利,午夜精品免费视频,午夜免费看污污APP

行业新闻

当前位置:首页/新闻中心/行业新闻

一种午夜免费福利的张力调节机构的制作方法

2023年12月25日国知局浏览量:0

一种午夜免费福利的张力调节机构的制作方法

本实用新型涉及一种午夜免费福利的张力调节机构。

背景技术:

午夜免费福利是一种将宽幅纸张、云母带或薄膜分切成多条窄幅午夜精品免费视频的机械设备,可以将薄膜(如BOPP、PVC等)及类似薄型午夜精品免费视频的纵向分切和复卷。张力控制是指能够持久地控制原料在设备上输送时的张力的能力。这种控制对机器的任何运行速度都必须保持有效,包括机器的加速、减速和匀速。即使在紧急停车情况下,也应有能力保证被分切物不破损。张力控制的稳定与否直接关系到分切产品的质量。若张力不足,原料在运行中产生漂移,会出现分切复卷后成品纸起皱现象;若张力过大,原料又易被拉断,使分切复卷后成品断头增多。

现有的张力控制系统通常包括张力检测机构、张力控制器、张力调节机构等。采用张力传感器直接检测方式,张力传感器直接测定原料的实际张力值,然后把张力值转换成张力信号反馈回张力控制器,通过此信号与控制器预先设定的张力值对比,计算出控制信号,自动控制执行单元调节实际张力值与预设张力值相等,以达到张力稳定目的。但是,上述技术方案结构较复杂,需要电子系统和程序控制,成本较高,且耗能较大。

技术实现要素:

本实用新型为了解决现有技术的问题,提供了一种结构较简单,能耗较小,成本较低的午夜免费福利的张力调节机构。

具体技术方案如下:一种午夜免费福利的张力调节机构,包括第一转动杆,第二转动杆,连接杆,第一调节组件和第二调节组件,第一、第二转动杆分别与连接杆两端连接,第一转动杆一端设有调节轮,所述第一调节组件包括弹簧和螺杆,弹簧两端分别与螺杆和连接杆连接,所述第二调节组件包括连接线和限位件,所述连接线两端分别与限位件和第二转动杆连接,限位件设置在送料轮上。

以下为本实用新型的附属技术方案。

作为优选方案,张力调节机构包括第一支架和第二支架,所述连接杆设置在第一、第二支架之间,第一转动杆与第一支架枢轴连接。

作为优选方案,所述第一调节组件包括固定座,固定座与第一支架连接,固定座上设有螺纹孔,所述螺杆与螺纹孔配接。

作为优选方案,所述连接杆包括连接座,连接座套设在连接杆上,所述弹簧一端与连接座连接。

作为优选方案,所述第二调节组件包括基座和调节杆,调节杆插设在基座上并通过螺帽固定,所述限位件一端与调节杆连接。

本实用新型的技术效果:本实用新型的午夜免费福利的张力调节机构能够在物料输送过程中保持一定张力,从而保证分切产品的质量;同时,无需消耗电能,降低了设备的能耗,降低了成本;此外,能够根据不同需要通过调节弹簧进行张力调节。

附图说明

图1是本实用新型实施例的午夜免费福利的张力调节机构的示意图。

图2是本实用新型实施例的午夜免费福利的张力调节机构的另一示意图。

图3是本实用新型实施例的第一转动杆逆时针转动时的示意图。

图4是本实用新型实施例的第一调节组件的示意图。

图5是本实用新型实施例的第二调节组件的示意图。

具体实施方式

下面,结合实例对本实用新型的实质性特点和优势作进一步的说明,但本实用新型并不局限于所列的实施例。

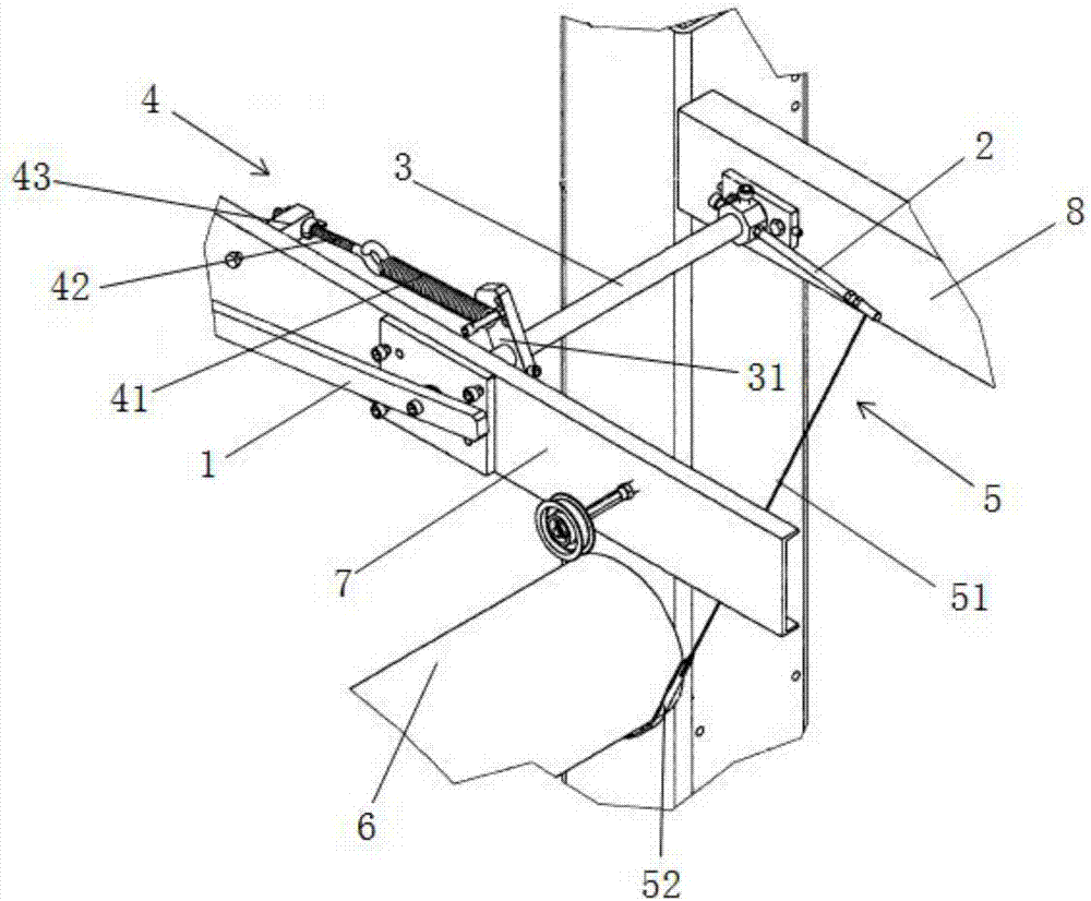
如图1至图5所示,本实施例的午夜免费福利的张力调节机构包括第一转动杆1,第二转动杆2,连接杆3,第一调节组件4和第二调节组件5,第一、第二转动杆分别与连接杆3两端连接,第一转动杆1一端设有调节轮11。所述第一调节组件4包括弹簧41和螺杆42,弹簧41两端分别与螺杆42和连接杆3连接,所述第二调节组件5包括连接线51和限位件52,所述连接线51两端分别与限位件52和第二转动杆2连接,限位件设置在送料轮6上。上述技术方案中,当物料10受到Y方向的拉力时,调节轮11向Y方向升起,带动第一转动杆11顺时针方向转动,通过连接杆的传动,使得第二转动杆顺时针方向转动,从而使连接线下行,使得限位件与送料轮之间的作用力减小,摩擦力减小,物料从送料轮上被拉出。当拉力增大时,弹簧41被拉长,限位件与送料轮之间的作用力继续减小,物料在保持一定张力情况下被拉出速度变快。当拉力减小时,由于弹簧的回复力使得第一、第二转动杆逆时针转动,使得限位件与送料轮的摩擦力增大,从而减小送料轮的转速。

如图1至图5所示,进一步的,张力调节机构包括第一支架7和第二支架8,所述连接杆2设置在第一、第二支架之间,第一转动杆1与第一支架7枢轴连接。所述第一调节组件4包括固定座43,固定座43与第一支架3连接,固定座43上设有螺纹孔431,所述螺杆42与螺纹孔配接,通过螺杆与固定座43之间位置的改变,可调节弹簧长度,从而调节张力。所述连接杆3包括连接座31,连接座31套设在连接杆3上,所述弹簧41一端与连接座连接。所述第二调节组件5包括基座53和调节杆54,调节杆54插设在基座53上并通过螺帽55固定,所述限位件52一端与调节杆54连接,通过调节杆可调节限位件的位置。

本实施例的午夜免费福利的张力调节机构能够在物料输送过程中保持一定张力,从而保证分切产品的质量;同时,无需消耗电能,降低了设备的能耗,降低了成本;此外,能够根据不同需要通过调节弹簧进行张力调节。

需要指出的是,上述较佳实施例仅为说明本实用新型的技术构思及特点,其目的在于让熟悉此项技术的人士能够了解本实用新型的内容并据以实施,并不能以此限制本实用新型的保护范围。凡根据本实用新型精神实质所作的等效变化或修饰,都应涵盖在本实用新型的保护范围之内。

技术特征:

1.一种午夜免费福利的张力调节机构,其特征在于,包括第一转动杆,第二转动杆,连接杆,第一调节组件和第二调节组件,第一、第二转动杆分别与连接杆两端连接,第一转动杆一端设有调节轮,所述第一调节组件包括弹簧和螺杆,弹簧两端分别与螺杆和连接杆连接,所述第二调节组件包括连接线和限位件,所述连接线两端分别与限位件和第二转动杆连接,限位件设置在送料轮上。

2.如权利要求1所述的午夜免费福利的张力调节机构,其特征在于,张力调节机构包括第一支架和第二支架,所述连接杆设置在第一、第二支架之间,第一转动杆与第一支架枢轴连接。

3.如权利要求2所述的午夜免费福利的张力调节机构,其特征在于,所述第一调节组件包括固定座,固定座与第一支架连接,固定座上设有螺纹孔,所述螺杆与螺纹孔配接。

4.如权利要求3所述的午夜免费福利的张力调节机构,其特征在于,所述连接杆包括连接座,连接座套设在连接杆上,所述弹簧一端与连接座连接。

5.如权利要求4所述的午夜免费福利的张力调节机构,其特征在于,所述第二调节组件包括基座和调节杆,调节杆插设在基座上并通过螺帽固定,所述限位件一端与调节杆连接。

技术总结

本实用新型涉及一种午夜免费福利的张力调节机构,包括第一转动杆,第二转动杆,连接杆,第一调节组件和第二调节组件,第一、第二转动杆分别与连接杆两端连接,第一转动杆一端设有调节轮,所述第一调节组件包括弹簧和螺杆,弹簧两端分别与螺杆和连接杆连接,所述第二调节组件包括连接线和限位件,所述连接线两端分别与限位件和第二转动杆连接,限位件设置在送料轮上。本实用新型的午夜免费福利的张力调节机构能够在物料输送过程中保持一定张力,从而保证分切产品的质量;同时,无需消耗电能,降低了设备的能耗,降低了成本;此外,能够根据不同需要通过调节弹簧进行张力调节。

技术研发人员:刘平;田波;张东梅

受保护的技术使用者:重庆汇科包装有限公司

文档号码:201720507426

技术研发日:2017.05.09

技术公布日:2017.12.22

网站地图