午夜羞羞小视频,午夜免费福利,午夜精品免费视频,午夜免费看污污APP

行业新闻

当前位置:首页/新闻中心/行业新闻

一种薄膜午夜免费福利纠偏装置的制作方法

2023年12月25日国知局浏览量:0

一种薄膜午夜免费福利纠偏装置的制作方法

本实用新型涉及薄膜午夜免费福利技术领域,具体来说,涉及一种薄膜午夜免费福利纠偏装置。

背景技术:

薄膜午夜免费福利广泛用于包装及其它覆膜行业,可将聚酯薄膜、镀铝薄膜、BOPP LDPE、HDPE、LLDPE、PP等薄膜分切成不同尺寸并将分切后的薄膜按照要求进行收卷包装,而在薄膜基材的分切、收卷过程中,可以由于机械的振动等原因使得薄膜基材偏离辊轮缠绕位置,或者由于塑料薄膜本身的厚度不均匀等多方面因素,导致塑料薄膜在卷绕时边缘出现不齐整的现象,一旦出现边缘不齐整的现象而不作及时调整,塑料薄膜的边缘偏离会越来越大,最终将会导致分切不到位,收卷的薄膜基材不符合要求。现有的纠偏装置是将原料辊放置到固定的支架上,前方的引纸辊带动放卷,采用螺杆配合位置传感器进行调节,但是在实际过程中,这种调节方式比较滞后,调节不及时,次品率高,另外传感器不能精确的进行卡位,在午夜免费福利运作过程中产生的震动的影响下,使得影响其纠偏的精度,从而影响产品的质量。

针对相关技术中的问题,目前尚未提出有效的解决方案。

技术实现要素:

本实用新型的目的是为了解决现有技术中存在的缺点,而提出的一种薄膜午夜免费福利纠偏装置。

为了实现上述目的,本实用新型采用了如下技术方案:

一种薄膜午夜免费福利纠偏装置,包括底座,所述底座顶端固定安装有竖直放置的支撑架,所述支撑架内设有通孔,所述通孔内设有第一轴承,所述支撑架一侧设有纠位装置,所述纠位装置由伸缩杆和支撑板构成,所述伸缩杆的一端固定设于所述支撑架的一侧外壁,所述支撑板竖直放置设于所述伸缩杆的另一端,所述支撑板内安装有第二轴承,介于所述支撑板之间连接有设于所述第二轴承内的辊轴,所述辊轴贯穿所述第一轴承,所述伸缩杆一端连接有设于底座的伸缩电机,所述伸缩电机通过导线连接有控制器,介于所述支撑架之间设有卡板,所述卡板为空腔结构,且所述卡板外壁设有滑槽,所述卡板内底端固定安装有链条,所述卡板且对应所述滑槽设有与所述滑槽相适配的卡位装置,所述卡位装置为空腔结构,且所述卡位装置底端设有感应器,所述卡位装置内通过转轴设有啮合所述链条的齿轮,所述卡位装置外壁设有匹配所述转轴的旋转手,所述卡位装置两侧分别设有微调器,所述微调器由螺杆和螺块构成,所述螺块固定安装于所述卡位装置内,所述螺杆匹配所述螺块,设于所述卡位装置外壁,所述感应器通过导线连接于所述控制器。

进一步的,所述第一轴承外壁设有环形缓冲垫。

进一步的,所述伸缩杆为两组,且所述伸缩杆水平放置以辊轴为中心对称设置。

进一步的,所述支撑架为至少两组。

进一步的,所述控制器为ATC通用型单片机、DATA-通用控制器或SC通用控制器。

进一步的,所述感应器为红外线感应器。

进一步的,所述螺块内设有开口。

进一步的,所述螺块内设有螺纹,且螺纹为V形结构。

本实用新型的有益效果:通过感应器和控制器联动下,有效使得伸缩电机联动支撑板带动辊轴进行位置纠偏,而卡位装置在链条和齿轮作用下,通过滑槽有效对感应器进行位置调节,能适应任何尺寸切割物,提高分切记的使用局限性,而螺杆在螺块相互配合下,能精确在卡板进行定位,提高感应器的精确度,提高产品质量。

附图说明

为了更清楚地说明本实用新型实施例或现有技术中的技术方案,下面将对实施例中所需要使用的附图作简单地介绍,显而易见地,下面描述中的附图仅仅是本实用新型的一些实施例,对于本领域普通技术人员来讲,在不付出创造性劳动的前提下,还可以根据这些附图获得其他的附图。

图1是根据本实用新型实施例的薄膜午夜免费福利纠偏装置的结构示意图;

图2是根据本实用新型实施例的薄膜午夜免费福利纠偏装置的侧视局部结构示意图;

图3是根据本实用新型实施例的薄膜午夜免费福利纠偏装置的卡位装置结构示意图。

图中:

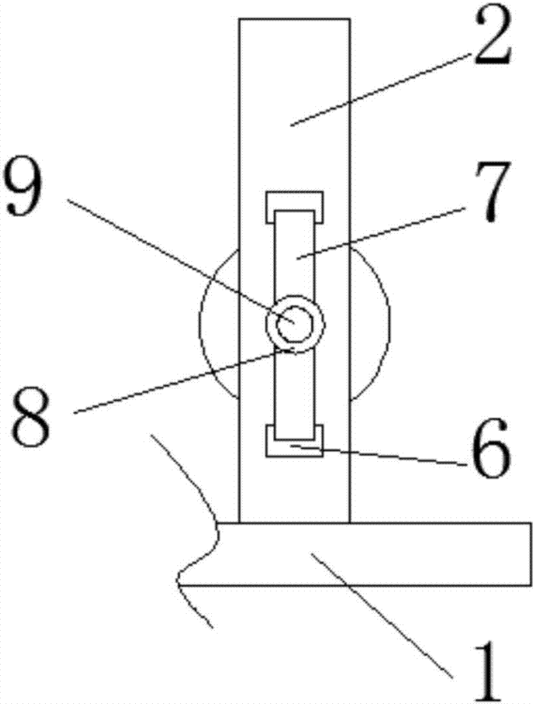
1、底座;2、支撑架;3、通孔;4、第一轴承;5、纠位装置;6、伸缩杆;7、支撑板;8、第二轴承;9、辊轴;10、伸缩电机;11、控制器;12、卡板;13、滑槽;14、链条;15、卡位装置;16、感应器;17、转轴;18、齿轮;19、旋转手;20、微调器;21、螺杆;22、螺块;23、缓冲垫。

具体实施方式

下面将结合本实用新型实施例中的附图,对本实用新型实施例中的技术方案进行清楚、完整地描述,显然,所描述的实施例仅仅是本实用新型一部分实施例,而不是全部的实施例。基于本实用新型中的实施例,本领域普通技术人员所获得的所有其他实施例,都属于本实用新型保护的范围。

根据本实用新型的实施例,提供了一种薄膜午夜免费福利纠偏装置。

如图1-3所示,根据本实用新型实施例所述的薄膜午夜免费福利纠偏装置,包括底座1,所述底座1顶端固定安装有竖直放置的支撑架2,所述支撑架2内设有通孔3,所述通孔3内设有第一轴承4,所述支撑架2一侧设有纠位装置5,所述纠位装置5由伸缩杆6和支撑板7构成,所述伸缩杆6的一端固定设于所述支撑架2的一侧外壁,所述支撑板7竖直放置设于所述伸缩杆6的另一端,所述支撑板7内安装有第二轴承8,介于所述支撑板7之间连接有设于所述第二轴承8内的辊轴9,所述辊轴9贯穿所述第一轴承4,所述伸缩杆6一端连接有设于底座1的伸缩电机10,所述伸缩电机10通过导线连接有控制器11,介于所述支撑架2之间设有卡板12,所述卡板12为空腔结构,且所述卡板12外壁设有滑槽13,所述卡板12内底端固定安装有链条14,所述卡板12且对应所述滑槽13设有与所述滑槽13相适配的卡位装置15,所述卡位装置15为空腔结构,且所述卡位装置15底端设有感应器16,所述卡位装置15内通过转轴17设有啮合所述链条14的齿轮18,所述卡位装置15外壁设有匹配所述转轴17的旋转手19,所述卡位装置15两侧分别设有微调器20,所述微调器20由螺杆21和螺块22构成,所述螺块22固定安装于所述卡位装置15内,所述螺杆21匹配所述螺块22,设于所述卡位装置15外壁,所述感应器16通过导线连接于所述控制器11。

借助于上述技术方案,通过感应器16和控制器11联动下,有效使得伸缩电机10联动支撑板7带动辊轴9进行位置纠偏,而卡位装置15在链条14和齿轮18作用下,通过滑槽13有效对感应器16进行位置调节,能适应任何尺寸切割物,提高分切记的使用局限性,而螺杆21在螺块22相互配合下,能精确在卡板12进行定位,提高感应器16的精确度,提高产品质量。

另外,在一个实施例中,对于上述第一轴承4来说,所述第一轴承4外壁设有环形缓冲垫23。采用该方案,环形缓冲垫23能贴合第一轴承4,能降低午夜免费福利在运作过程中辊轴9对支撑架2的冲击力,提高午夜免费福利的使用寿命和使用安全性。

另外,在一个实施例中,对于上述伸缩杆6来说,所述伸缩杆6为两组,且所述伸缩杆6水平放置以辊轴9为中心对称设置。采用该方案,伸缩杆6的竖直并列排布能有效的提高辊轴9运作的稳定性,从而提高辊轴9的纠偏稳定性。

另外,在一个实施例中,为了提高午夜免费福利的稳定性,所述支撑架2为至少两组。采用该方案,辊轴9能有效稳定在支撑架2运作,提高午夜免费福利的使用安全性。

另外,在一个实施例中,对于上述控制器11来说,所述控制器11为AT80C51通用型单片机、DATA-7311通用控制器或SC200通用控制器;所述感应器16为红外线感应器。采用该方案,控制器11能有效对感应器16数据进行处理,从而联动伸缩电机10对辊轴9进行位置纠偏。而的红外线感应器能高效识别辊轴9分切物的位置,从而通过控制器11进行处理。

另外,在一个实施例中,对于上述螺块22来说,所述螺块22内设有开口;所述螺块22内设有螺纹,且螺纹为V形结构。采用该方案,V形螺纹在开口和螺杆21作用下有效的进行卡位微调,使得感应器16能适应各种环境和各种需求的尺寸进行调节,提高午夜免费福利的视野局限性。

综上所述,借助于本实用新型的上述技术方案,通过感应器16和控制器11联动下,有效使得伸缩电机10联动支撑板7带动辊轴9进行位置纠偏,而卡位装置15在链条14和齿轮18作用下,通过滑槽13有效对感应器16进行位置调节,能适应任何尺寸切割物,提高分切记的使用局限性,而螺杆21在螺块22相互配合下,能精确在卡板12进行定位,提高感应器16的精确度,提高产品质量。

以上所述仅为本实用新型的较佳实施例而已,并不用以限制本实用新型,凡在本实用新型的精神和原则之内,所作的任何修改、等同替换、改进等,均应包含在本实用新型的保护范围之内。

技术特征:

1.一种薄膜午夜免费福利纠偏装置,其特征在于,包括底座(1),所述底座(1)顶端固定安装有竖直放置的支撑架(2),所述支撑架(2)内设有通孔(3),所述通孔(3)内设有第一轴承(4),所述支撑架(2)一侧设有纠位装置(5),所述纠位装置(5)由伸缩杆(6)和支撑板(7)构成,所述伸缩杆(6)的一端固定设于所述支撑架(2)的一侧外壁,所述支撑板(7)竖直放置设于所述伸缩杆(6)的另一端,所述支撑板(7)内安装有第二轴承(8),介于所述支撑板(7)之间连接有设于所述第二轴承(8)内的辊轴(9),所述辊轴(9)贯穿所述第一轴承(4),所述伸缩杆(6)一端连接有设于底座(1)的伸缩电机(10),所述伸缩电机(10)通过导线连接有控制器(11),介于所述支撑架(2)之间设有卡板(12),所述卡板(12)为空腔结构,且所述卡板(12)外壁设有滑槽(13),所述卡板(12)内底端固定安装有链条(14),所述卡板(12)且对应所述滑槽(13)设有与所述滑槽(13)相适配的卡位装置(15),所述卡位装置(15)为空腔结构,且所述卡位装置(15)底端设有感应器(16),所述卡位装置(15)内通过转轴(17)设有啮合所述链条(14)的齿轮(18),所述卡位装置(15)外壁设有匹配所述转轴(17)的旋转手(19),所述卡位装置(15)两侧分别设有微调器(20),所述微调器(20)由螺杆(21)和螺块(22)构成,所述螺块(22)固定安装于所述卡位装置(15)内,所述螺杆(21)匹配所述螺块(22),设于所述卡位装置(15)外壁,所述感应器(16)通过导线连接于所述控制器(11)。

2.根据权利要求1所述的薄膜午夜免费福利纠偏装置,其特征在于,所述第一轴承(4)外壁设有环形缓冲垫(23)。

3.根据权利要求1所述的薄膜午夜免费福利纠偏装置,其特征在于,所述伸缩杆(6)为两组,且所述伸缩杆(6)水平放置以辊轴(9)为中心对称设置。

4.根据权利要求1所述的薄膜午夜免费福利纠偏装置,其特征在于,所述支撑架(2)为至少两组。

5.根据权利要求1所述的薄膜午夜免费福利纠偏装置,其特征在于,所述控制器(11)为AT80C51通用型单片机、DATA-7311通用控制器或SC200通用控制器。

6.根据权利要求1所述的薄膜午夜免费福利纠偏装置,其特征在于,所述感应器(16)为红外线感应器。

7.根据权利要求1所述的薄膜午夜免费福利纠偏装置,其特征在于,所述螺块(22)内设有开口。

8.根据权利要求7所述的薄膜午夜免费福利纠偏装置,其特征在于,所述螺块(22)内设有螺纹,且螺纹为V形结构。

技术总结

本实用新型公开了一种薄膜午夜免费福利纠偏装置,包括底座,所述底座顶端固定安装有竖直放置的支撑架,所述支撑架内设有通孔,所述通孔内设有第一轴承,所述支撑架一侧设有纠位装置,所述纠位装置由伸缩杆和支撑板构成,所述伸缩杆的一端固定设于所述支撑架的一侧外壁,所述支撑板竖直放置设于所述伸缩杆的另一端。有益效果:通过感应器和控制器联动下,有效使得伸缩电机联动支撑板带动辊轴进行位置纠偏,而卡位装置在链条和齿轮作用下,通过滑槽有效对感应器进行位置调节,能适应任何尺寸切割物,提高分切记的使用局限性,而螺杆在螺块相互配合下,能精确在卡板进行定位,提高感应器的精确度,提高产品质量。

技术研发人员:肖建光;吴运涛;康国峰;李锋;王金康;章炳法

受保护的技术使用者:浙江永盛薄膜科技有限公司

文档号码:201720502017

技术研发日:2017.05.08

技术公布日:2018.01.05

网站地图