服务热线
180-5003-0233

本实用新型涉及午夜免费福利技术领域,更具体地说,是涉及一种调刀和装刀方便的封边条午夜免费福利的圆刀切刀机构。
背景技术:
封边条午夜免费福利是一种将PVC封边条分切成多条的机械设备。其中,现有的封边条午夜免费福利通常设置有上刀轴和下刀轴,上刀轴和下刀轴上分别装设有圆刀。但是其存在以下不足:1、上刀轴和下刀轴的调节不方便,准确度较差;2、当需要更换圆刀时,需要将刀轴和圆刀全部从设备上拆卸下来,拆卸和安装麻烦,并且刀轴和圆刀笨重,拆卸时,容易伤到拆卸工人。
技术实现要素:
本实用新型的目的在于克服现有技术中的上述缺陷,提供一种调刀和装刀方便的封边条午夜免费福利的圆刀切刀机构,其保证了产品的生产质量,提高了安全性和工作效率。
为实现上述目的,本实用新型提供了一种调刀和装刀方便的封边条午夜免费福利的圆刀切刀机构,包括左墙板、右墙板和位于两墙板之间的上刀轴及下刀轴,所述上刀轴和下刀轴上分别装设有若干块圆刀,所述左墙板与右墙板之间装设有用于调节两刀轴上的圆刀的垂直间隙的上圆刀调节装置,所述上圆刀调节装置包括蜗轮蜗杆升降机、联动杆和调节滑块,所述左墙板和右墙板上分别开设有滑槽,所述调节滑块活动安装在左墙板和右墙板上并置于各自对应的滑槽中,所述蜗轮蜗杆升降机分别通过固定板装设在左墙板和右墙板上,两个蜗轮蜗杆升降机的底部升降轴分别与相应的调节滑块相连接,所述联动杆连接在两个蜗轮蜗杆升降机的传动轴之间,从而使两个蜗轮蜗杆升降机实现联动同步升降,所述右墙板的调节滑块上装设有上外框架,所述上外框架上设有可转动的上开关门,所述上开关门上装设有第一上刀轴法兰,所述上刀轴的一端通过第二上刀轴法兰装设在左墙板的调节滑块上,所述上刀轴的另一端穿过右墙板的调节滑块后装设在第一上刀轴法兰上,所述右墙板上装设有下外框架,所述下外框架上设有可转动的下开关门,所述下开关门上装设有用于调节两刀轴上的圆刀的横向间隙的下圆刀调节装置,所述下刀轴的一端通过第一下刀轴法兰装设在左墙板上,所述下刀轴的另一端穿过右墙板后装设在下圆刀调节装置上,并由下圆刀调节装置带动进行横向移动。
作为优选的实施方式,所述下圆刀调节装置包括第二下刀轴法兰和调刀座,所述第二下刀轴法兰装设在下开关门上,所述调刀座的外壁螺纹与第二下刀轴法兰的内孔螺纹连接,所述下刀轴的一端置于调刀座的安装孔中,所述下刀轴靠近右墙板的一端设有与调刀座卡位配合的卡位凸环,所述调刀座在转动时能够带动下刀轴横向移动。
作为优选的实施方式,所述上开关门和下开关门的一端分别装设有条形把手,所述上开关门上装设有用于将上开关门锁固在上外框架的锁板螺钉。
作为优选的实施方式,所述上刀轴和下刀轴靠近左墙板的一端分别设置有圆刀限位环,所述上刀轴和下刀轴靠近右墙板的一端装设有锁刀螺母。
作为优选的实施方式,所述上刀轴的相邻两块圆刀之间和下刀轴的相邻两块圆刀之间分别装设有隔圈。
作为优选的实施方式,所述上刀轴和下刀轴上的圆刀分别设置为厚度为5mm的圆刀。
作为优选的实施方式,所述上刀轴和下刀轴通过同步齿轮实现传动连接。
与现有技术相比,本实用新型的有益效果在于:
本实用新型的左墙板与右墙板之间装设有上圆刀调节装置,上圆刀调节装置包括蜗轮蜗杆升降机、联动杆和调节滑块,右墙板的调节滑块上装设有上外框架,上外框架上设有可转动的上开关门,上开关门上装设有第一上刀轴法兰,上刀轴的一端通过第二上刀轴法兰装设在左墙板的调节滑块上,上刀轴的另一端穿过右墙板的调节滑块后装设在第一上刀轴法兰上,右墙板上装设有下外框架,下外框架上设有可转动的下开关门,下开关门上装设有下圆刀调节装置,下刀轴的一端通过第一下刀轴法兰装设在左墙板上,下刀轴的另一端穿过右墙板后装设在下圆刀调节装置上,本实用新型可通过上圆刀调节装置调节两刀轴上的圆刀的垂直间隙和通过下圆刀调节装置调节两刀轴上的圆刀的横向间隙,其调节方便准确,保证了产品的生产质量,并且上下刀轴均采用悬臂形式,打开相应的开关门后即可从刀轴的一端更换圆刀,无需将刀轴和圆刀全部从设备上拆卸下来,圆刀的安装和拆卸简单方便,提高了安全性和工作效率。
附图说明
为了更清楚地说明本实用新型实施例或现有技术中的技术方案,下面将对实施例或现有技术描述中所需要使用的附图作简单地介绍,显而易见地,下面描述中的附图是本实用新型的一些实施例,对于本领域普通技术人员来讲,在不付出创造性劳动的前提下,还可以根据这些附图获得其他的附图。
图1是本实用新型提供的圆刀切刀机构的结构示意图;
图2是本实用新型提供的圆刀切刀机构的主体部分的结构示意图;
图3是本实用新型提供的刀轴组件的局部剖视图;
图4是本实用新型提供的上圆刀调节装置的结构示意图;
图5是本实用新型提供的上圆刀调节装置的侧视图;
图6是本实用新型提供的开关门锁紧组件的结构示意图。
具体实施方式
为使本实用新型实施例的目的、技术方案和优点更加清楚,下面将结合本实用新型实施例中的附图,对本实用新型实施例中的技术方案进行清楚、完整地描述,显然,所描述的实施例是本实用新型一部分实施例,而不是全部的实施例。基于本实用新型中的实施例,本领域普通技术人员在没有作出创造性劳动前提下所获得的所有其他实施例,都属于本实用新型保护的范围。
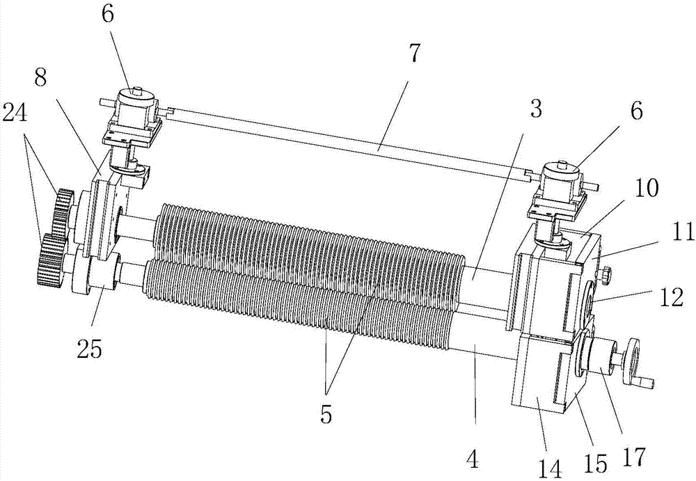
请参考图1,本实用新型的实施例提供了一种调刀和装刀方便的封边条午夜免费福利的圆刀切刀机构,该圆刀切刀机构包括左墙板1、右墙板2、上刀轴3、下刀轴4、上圆刀调节装置、开关门锁紧组件和下圆刀调节装置,上刀轴3和下刀轴4上分别装设有若干块圆刀5,下面结合附图对本实施例的各个部件进行详细说明。
如图1至图4所示,上圆刀调节装置装设在左墙板1与右墙板2之间,用于调节两刀轴上的圆刀5的垂直间隙。具体而言,上圆刀调节装置包括蜗轮蜗杆升降机6、联动杆7和调节滑块8,左墙板1和右墙板2上分别开设有滑槽,调节滑块8的两侧分别设有与墙板卡位配合的卡位导槽,调节滑块8活动安装在左墙板1和右墙板2上并置于各自对应的滑槽中,蜗轮蜗杆升降机6分别通过固定板9装设在左墙板1和右墙板2上,两个蜗轮蜗杆升降机6的底部升降轴分别与相应的调节滑块8相连接,联动杆7连接在两个蜗轮蜗杆升降机6的传动轴之间。工作时,两个蜗轮蜗杆升降机6能够带动两个调节滑块8实现联动同步升降。
如图3至图6所示,右墙板2的调节滑块8上的上开关门锁紧组件包括上外框架10、上开关门11和第一上刀轴法兰12,上外框架10装设在右墙板2的调节滑块8上,上开关门11通过销钉可转动地安装在上外框架10上,第一上刀轴法兰12装设在上开关门11上。其中,上刀轴3的一端通过第二上刀轴法兰13装设在左墙板1的调节滑块8上,上刀轴3的另一端穿过右墙板2的调节滑块8后装设在第一上刀轴法兰12上。
此外,上开关门11的一端装设有条形把手19,上开关门11上装设有用于将上开关门11锁固在上外框架10的锁板螺钉20。
当需要调节上刀轴3上的圆刀与下刀轴4上的圆刀之间的垂直间隙时,可通过蜗轮蜗杆升降机6带动两个调节滑块8上下移动,此时上刀轴3也随之进行上下移动。当需要更换上刀轴3上的圆刀时,可在打开上开关门11后从上刀轴3的一端快速取下圆刀并更换新的圆刀。
如图2和图3所示,右墙板2的下开关门锁紧组件包括下外框架14和下开关门15,下外框架14装设在右墙板2上,下开关门15通过销钉可转动地安装在下外框架14上,下开关门15的一端也装设有条形把手19。
如图2和图3所示,下圆刀调节装置装设在下开关门15上,用于调节两刀轴上的圆刀5的横向间隙的下圆刀调节装置。其中,下刀轴4的一端通过第一下刀轴法兰25装设在左墙板1上,下刀轴4的另一端穿过右墙板2后装设在下圆刀调节装置上,并由下圆刀调节装置带动进行横向移动。
具体而言,下圆刀调节装置包括第二下刀轴法兰16和调刀座17,第二下刀轴法兰16装设在下开关门15上,调刀座17的外壁螺纹与第二下刀轴法兰16的内孔螺纹连接,下刀轴4的一端置于调刀座17的安装孔中,下刀轴4靠近右墙板2的一端设有与调刀座17卡位配合的卡位凸环18。
当需要调节上刀轴3上的圆刀与下刀轴4上的圆刀之间的横向间隙时,可转动调刀座17驱使下刀轴4横向移动。当需要更换下刀轴4上的圆刀时,可在取下调刀座17后打开下开关门15,此时即可从下刀轴4的一端快速取下圆刀并更换新的圆刀。
如图3所示,上刀轴3和下刀轴4通过同步齿轮24实现传动连接,上刀轴3和下刀轴4靠近左墙板1的一端分别设置有圆刀限位环21,上刀轴3和下刀轴4靠近右墙板2的一端装设有锁刀螺母22。其中,锁刀螺母22需要采用特质扳手锁紧,固定安全。
根据所需午夜精品免费视频的规格尺寸,可分别通过隔圈23限定上刀轴3的相邻两块圆刀之间的间隙和下刀轴4的相邻两块圆刀之间的间隙。在本实施例中,为了可以切割厚度为2mm以内的PVC午夜精品免费视频,上刀轴3和下刀轴4上的圆刀5可以优选采用厚度为5mm的圆刀。
综上所述,本实用新型的调节方便准确,保证了产品的生产质量,并且上下刀轴均采用悬臂形式,打开相应的开关门后即可从刀轴的一端更换圆刀,无需将刀轴和圆刀全部从设备上拆卸下来,圆刀的安装和拆卸简单方便,提高了安全性和工作效率。
上述实施例为本实用新型较佳的实施方式,但本实用新型的实施方式并不受上述实施例的限制,其他的任何未背离本实用新型的精神实质与原理下所作的改变、修饰、替代、组合、简化,均应为等效的置换方式,都包含在本实用新型的保护范围之内。
技术特征:
1.一种调刀和装刀方便的封边条午夜免费福利的圆刀切刀机构,包括左墙板(1)、右墙板(2)和位于两墙板之间的上刀轴(3)及下刀轴(4),所述上刀轴(3)和下刀轴(4)上分别装设有若干块圆刀(5),其特征在于:所述左墙板(1)与右墙板(2)之间装设有用于调节两刀轴上的圆刀(5)的垂直间隙的上圆刀调节装置,所述上圆刀调节装置包括蜗轮蜗杆升降机(6)、联动杆(7)和调节滑块(8),所述左墙板(1)和右墙板(2)上分别开设有滑槽,所述调节滑块(8)活动安装在左墙板(1)和右墙板(2)上并置于各自对应的滑槽中,所述蜗轮蜗杆升降机(6)分别通过固定板(9)装设在左墙板(1)和右墙板(2)上,两个蜗轮蜗杆升降机(6)的底部升降轴分别与相应的调节滑块(8)相连接,所述联动杆(7)连接在两个蜗轮蜗杆升降机(6)的传动轴之间,从而使两个蜗轮蜗杆升降机(6)实现联动同步升降,所述右墙板(2)的调节滑块(8)上装设有上外框架(10),所述上外框架(10)上设有可转动的上开关门(11),所述上开关门(11)上装设有第一上刀轴法兰(12),所述上刀轴(3)的一端通过第二上刀轴法兰(13)装设在左墙板(1)的调节滑块(8)上,所述上刀轴(3)的另一端穿过右墙板(2)的调节滑块(8)后装设在第一上刀轴法兰(12)上,所述右墙板(2)上装设有下外框架(14),所述下外框架(14)上设有可转动的下开关门(15),所述下开关门(15)上装设有用于调节两刀轴上的圆刀(5)的横向间隙的下圆刀调节装置,所述下刀轴(4)的一端通过第一下刀轴法兰(25)装设在左墙板(1)上,所述下刀轴(4)的另一端穿过右墙板(2)后装设在下圆刀调节装置上,并由下圆刀调节装置带动进行横向移动。
2.根据权利要求1所述的一种调刀和装刀方便的封边条午夜免费福利的圆刀切刀机构,其特征在于:所述下圆刀调节装置包括第二下刀轴法兰(16)和调刀座(17),所述第二下刀轴法兰(16)装设在下开关门(15)上,所述调刀座(17)的外壁螺纹与第二下刀轴法兰(16)的内孔螺纹连接,所述下刀轴(4)的一端置于调刀座(17)的安装孔中,所述下刀轴(4)靠近右墙板(2)的一端设有与调刀座(17)卡位配合的卡位凸环(18),所述调刀座(17)在转动时能够带动下刀轴(4)横向移动。
3.根据权利要求1所述的一种调刀和装刀方便的封边条午夜免费福利的圆刀切刀机构,其特征在于:所述上开关门(11)和下开关门(15)的一端分别装设有条形把手(19),所述上开关门(11)上装设有用于将上开关门(11)锁固在上外框架(10)的锁板螺钉(20)。
4.根据权利要求1所述的一种调刀和装刀方便的封边条午夜免费福利的圆刀切刀机构,其特征在于:所述上刀轴(3)和下刀轴(4)靠近左墙板(1)的一端分别设置有圆刀限位环(21),所述上刀轴(3)和下刀轴(4)靠近右墙板(2)的一端装设有锁刀螺母(22)。
5.根据权利要求1所述的一种调刀和装刀方便的封边条午夜免费福利的圆刀切刀机构,其特征在于:所述上刀轴(3)的相邻两块圆刀之间和下刀轴(4)的相邻两块圆刀之间分别装设有隔圈(23)。
6.根据权利要求1所述的一种调刀和装刀方便的封边条午夜免费福利的圆刀切刀机构,其特征在于:所述上刀轴(3)和下刀轴(4)上的圆刀(5)分别设置为厚度为5mm的圆刀。
7.根据权利要求1所述的一种调刀和装刀方便的封边条午夜免费福利的圆刀切刀机构,其特征在于:所述上刀轴(3)和下刀轴(4)通过同步齿轮(24)实现传动连接。
技术总结
本实用新型公开了一种调刀和装刀方便的封边条午夜免费福利的圆刀切刀机构,包括左墙板、右墙板、上圆刀调节装置、带有圆刀的上刀轴和下刀轴,上圆刀调节装置包括蜗轮蜗杆升降机、联动杆和调节滑块,左右墙板的调节滑块上设有上外框架,上外框架的上开关门上设有第一上刀轴法兰,上刀轴的一端通过第二上刀轴法兰装设在左墙板的调节滑块上,上刀轴的另一端穿过右墙板的调节滑块后装设在第一上刀轴法兰上,右墙板上设有下外框架,下外框架的下开关门上设有下圆刀调节装置,下刀轴的一端通过第一下刀轴法兰装设在左墙板上,下刀轴的另一端穿过右墙板后装设在下圆刀调节装置上,本实用新型的调刀和装刀方便,保证了产品的生产质量,提高了安全性和工作效率。
技术研发人员:叶武清
受保护的技术使用者:东莞市钢鑫机械有限公司
文档号码:201621391889
技术研发日:2016.12.16
技术公布日:2017.06.16