服务热线
180-5003-0233

本实用新型涉及PVC薄膜收卷机,特别涉及PVC薄膜收卷张力调控系统。
背景技术:
PVC薄膜经午夜免费福利之后进入收卷机中卷收成卷,但是收料辊上卷收的PVC薄膜的厚度一直处于变化之中,厚度的变化会引起薄膜张力的变化。张力过小,导致薄膜松弛起皱,在横向上也会走偏;张力过大,导致薄膜拉伸过度,在纵向上会出现张力线,在薄膜卷的表面上会出现隆起的筋条,甚至会使薄膜变形断裂。为了保证生产的效率和薄膜的表面质量,在卷收过程中保持薄膜恒定的张力是十分必要的。
技术实现要素:
为解决上述技术问题,本实用新型提供了PVC薄膜收卷张力调控系统,以实现调节薄膜的张紧度、提高薄膜的表面质量的目的,有效地降低薄膜的报废率、提高生产效率。
为达到上述目的,本实用新型的技术方案如下:
PVC薄膜收卷张力调控系统,包括收料辊,所述收料辊的中间和两端各设置有一圈压力传感器,每一圈共有四个压力传感器;所述收料辊的动力系统中安装有磁粉制动器。
优选的是,所述收料辊的两端平直,中间呈圆弧状的弯曲。
与现有技术相比,本实用新型的有益效果是:
1、由于收料辊上薄膜卷的直径是一直变化的,因此收料辊转动一圈所卷收薄膜的长度也是一直变化的,所以收料辊的转动速度要随着收料辊上薄膜卷的厚度增加而降低。收料辊两端和中间的压力传感器感应薄膜卷转动时给导辊的压力,并将压力信号传至收料机的控制系统,收料机的控制系统将接收到的信号转化为指令传给磁粉制动器,磁粉制动器根据指令启动,进而来调整收料辊的转动速度,压力传感器与磁粉制动器的结合能更加精确的对收料辊的速度进行调整;
2、收料辊的弯曲部分相对于两端是凸起的,弯曲部分的转动半径大,线速度小,转动速度相对于两端变慢了,弯曲的部分能够消除薄膜卷转动时产生的张力,因此可以防止薄膜在收卷时发生两边松、中间紧的问题,保证了PVC薄膜卷的质量。
附图说明
为了更清楚地说明本实用新型实施例中的技术方案,下面将对实施例描述中所需要使用的附图作简单地介绍。
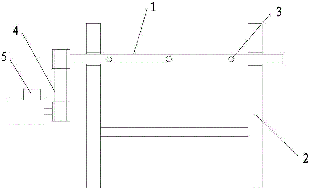
图1为实施例一所公开的PVC薄膜收卷张力调控系统的结构示意图;
图2为实施例一所公开的收料辊的剖面示意图;
图3为实施例二所公开的收料辊主视图。
具体实施方式
下面将结合本实用新型实施例中的附图,对本实用新型实施例中的技术方案进行清楚、完整地描述。
实施例一
参见图1所示的PVC薄膜收卷张力调控系统,包括收料辊1和放置收料辊的支架2,所述收料辊的中间和两端各设置有一圈压力传感器3,每一圈共有四个压力传感器(参见图2);所述收料辊的动力系统4中安装有磁粉制动器5。
由于收料辊上薄膜卷的直径是一直变化的,因此收料辊转动一圈所卷收薄膜的长度也是一直变化的,所以收料辊的转动速度要随着收料辊上薄膜卷的厚度增加而降低。收料辊两端和中间的压力传感器感应薄膜卷转动时给导辊的压力,并将压力信号传至收料机的控制系统,收料机的控制系统将接收到的信号转化为指令传给磁粉制动器,磁粉制动器根据指令启动,进而来调整收料辊的转动速度,压力传感器与磁粉制动器的结合能更加精确的对收料辊的速度进行调整。
实施例二
参见图3,本实施例与实施例一不同的是,所述收料辊的两端1b平直,中间1a呈圆弧状的弯曲。收料辊的弯曲部分相对于两端是凸起的,弯曲部分的转动半径大,线速度小,转动速度相对于两端变慢了,弯曲的部分能够消除薄膜卷转动时产生的张力,因此可以防止薄膜在收卷时发生两边松、中间紧的问题,保证了PVC薄膜卷的质量。
其余未描述部分参见实施例一。
对所公开的实施例的上述说明,使本领域专业技术人员能够实现或使用本实用新型。对这些实施例的多种修改对本领域的专业技术人员来说将是显而易见的,本文中所定义的一般原理可以在不脱离本实用新型的精神或范围的情况下,在其它实施例中实现。因此,本实用新型将不会被限制于本文所示的这些实施例,而是要符合与本文所公开的原理和新颖特点相一致的最宽的范围。
技术特征:
1.PVC薄膜收卷张力调控系统,包括收料辊,其特征在于,所述收料辊的中间和两端各设置有一圈压力传感器,每一圈共有四个压力传感器;所述收料辊的动力系统中安装有磁粉制动器。
2.根据权利要求1所述的PVC薄膜收卷张力调控系统,其特征在于,所述收料辊的两端平直,中间呈圆弧状的弯曲。
技术总结
本实用新型为了解决现有技术收卷过程中薄膜压力不恒定的技术问题,提供了PVC薄膜收卷张力调控系统,其包括收料辊,收料辊的中间和两端各设置有一圈压力传感器,每一圈共有四个压力传感器;收料辊的动力系统中安装有磁粉制动器。收料辊两端和中间的压力传感器感应薄膜卷转动时给导辊的压力,并将压力信号传至收料机的控制系统,收料机的控制系统将接收到的信号转化为指令传给磁粉制动器,磁粉制动器根据指令启动,进而来调整收料辊的转动速度,压力传感器与磁粉制动器的结合能更加精确的对收料辊的速度进行调整。
技术研发人员:李龙文
受保护的技术使用者:昆山亚宏塑胶有限公司
文档号码:201621172876
技术研发日:2016.10.26
技术公布日:2017.04.26